CHAPIN 4701 Fertilizer Injectors
INSTALLATION INSTRUCTIONS
- Use of a backflow preventer per local codes.
- Install this device downstream of a backflow preventer. Backflow preventer sold separately. Use Chapin part number 6-9089.
- Line inlet water pressure should not exceed 60PSI. Pressure over 60PSI will result in damage to the tank and head.
- If line pressure exceeds 60PSI, install a pressure regulator on the inlet side of the injector.
- Position the device in a vertical orientation during use. Best results will be obtained if the device is within +/- 30º from the vertical.
- Ensure all hose washers are in place and hand tighten connections firmly.
- Connect the female swivel end to the water inlet. An 18” hose is provided for convenience.
- Connect your system hose to the male fitting on the discharge side of the device.
- Keep out of direct sunlight.
- Screw on the ball valve to the threaded fitting on the bottom of the clear tank
OPERATING INSTRUCTIONS
- Turn off the inlet water pressure.
- Open the valve on the bottom of the clear tank to ensure it is empty. Close the valve. Loosening of the top red plug will allow the unit to drain quicker.
- For filling liquid fertilizer: Remove the red plug and slowly pour fertilizer product into the mixing head.
- Re-install the red plug, tightening hand tight.
- For filling granulated concentrate: Unscrew the clear tank from the mixing head. Carefully lower tank off the chemical suction tube.
- Fill with approximately 1 cup of granulated concentrate product.
- Carefully reinsert chemical suction tube through center of basket.
- Re-attach clear tank to mixing head, tightening hand tight.
- The injector is designed to work best with a water flow rate above 1 gallon per minute.
- At 2 GPM or above, the device is designed to feed the liquid fertilizer at a rate of approximately 1 ounce of fertilizer per gallon of water flowed.
- At 2 GPM or above, the device is designed to feed the granulated concentrate at a rate of ½ ounce per gallon of water flowed. Granulated concentrate can be pre-dissolved in water and used as a liquid fertilizer if desired following chemical manufacturer’s instructions.
- For dilution rates less than 1 oz/gal, premix the product prior to filling the clear tank. Follow recommended dilution rates for the fertilizer being used.
- Empty the tank and leave the bottom drain valve open when freezing conditions are present.
- When watering without fertilizer, it is not necessary to disconnect this device.
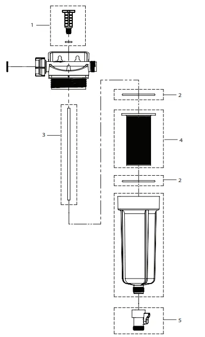
REPLACEMENT PARTS

chapin
- P.O. Box 549 700 Ellicott St.
- Batavia, NY 14021-0549 U.S.A.
- 1-800-950-4458 www.chapinmfg.com
- © 2021 Chapin International, Inc





















