CT0067-85 Walk Behind Spreader
User Manual
READ THE USER MANUAL CAREFULLY BEFORE ATTEMPTING TO ASSEMBLE AND OPERATE THE SPREADER.
Distributed by:
TRACTOR SUPPLY COMPANY 5401 VIRGINIA WAY, BRENTWOOD, TN 37027
For customer support,
call: 1-888-376-9601
www.TractorSupply.com
MADE IN CHINA
SAFETY INFORMATION
Equipment can cause injury if operated improperly.
| Look for this symbol to point out important safety precautions. It means -ATTENTION! Be alert! Your safety is involved. | Do not use an air compressor to inflate the tires. Use of a hand pump is strongly recommended. |
- ONLY use a hand air pump to inflate the tires. Do not exceed maximum air pressure of 30psi.
- NEVER allow children to operate the spreader. Do not allow adults to operate the spreader without having read the user manual.
- Keep all people and animals at a safe distance.
- DO NOT push close to creeks or ditches.
- DO NOT use the spreader on windy days when spreading pesticide or weed killer.
- DO NOT attempt to break the lump of fertilizers in the spreader, it may cause damage to the lattice mesh and the spreader.
- DO NOT push the spreader too fast, obstacles on the lawn may cause the spreader to tip over.
- Be careful when operating on steep grades, the spreader may tip over.
- ALWAYS wear eye and hand protection when handling lawn and garden chemicals.
- ALWAYS use caution when loading and unloading the spreader.
- ALWAYS inspect the spreader before using it to assure it is in good working condition.
- The maximum recommended operating weight is 70 lbs.
PACKAGE CONTENTS

| Part | Description | Quantity | Part | Description | Quantity |
| A | Hopper Assembly | 1 | F | Lattice Mesh | 1 |
| B | Handle | 1 | G | Vinyl Cover | 1 |
| C | Wheel Bracket | 1 | H | Flow Control Chamber | 1 |
| D | Support Leg | 1 | I | Control Crank | 1 |
| E | Lower Tube | 2 | J | Closure Plate | 1 |
HARDWARE CONTENTS

PREPARATION
Before assembling the product, ensure all parts are included. Compare parts with package and hardware contents lists (page 3). If any part is missing or damaged, do not attempt to assemble the product. Contact customer service for replacement.
Estimated assembly time: 15 minutes
Tools Required for Assembly:
11 mm Open-end Wrench (included)![]()
4 mm Hex Wrench (Included) ![]()
ASSEMBLY INSTRUCTIONS
- Press the two plastic buffets (GG) onto the handle (B) with holes aligned. If the holes on the plastic buffets(GG) and handle (8) are not aligned, slide or rotate the buffets till the holes are aligned.

- Attach the flow control chamber (H) to the handle (B) with two hex bolts (FF), four flat washers (EE), and two hex lock nuts ( BB). Do not tighten the bolts (FF) till step 7.

- Attach the two lower tubes (E) to the assembled handle (8) with two carriage bolts (AA), two curved washers (CC), and two hex lock nuts (BB). Do not tighten the nuts (BB) till step 4.

- Attach the assembled lower tubes (E) to the wheel bracket (C) with four carriage bolts (AA), four curved washers (CC) and four hex lock nuts (BB).
Important: When assembling, make sure the fork end of the handle (B) is facing down.
- Position the support leg (D) as shown in diagram 3. Attach it to the wheel bracket (C) with two carriage bolts (AA), two curved washers (CC) and two hex lock nuts (BB).

- Attach the control crank (I) to the bracket connecting the closure plate (J) with one hex bolt (DD), and one flat washer (EE) (between the crank and bracket). Secure with one hex lock nut (BB).
Important: To ensure the bracket rotates freely, loosen the nut (BB) by 1/4-1 /2 turns after tightening.
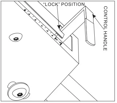
- Move the flow control handle to the” LOCK” position. Look inside the hopper to see if the outlet under the hopper is completely closed by the closure plate. If there is any gap between the outlet and the closure plate, move the flow control chamber (H) back and forth to adjust till the gap is closed completely. Fix the position by tightening the bolts (FF) left in step 2.

- Place the lattice mesh (F) evenly onto the platform inside the hopper. Place the vinyl cover (G) onto the hopper top by stretching the sleeve of the vinyl cover around the rim of the hopper.
Important: The vinyl cover acts as a wind and moisture shield. The cover keeps the contents dry. but it does not mean the spreader can be used or left in the rain. Do not operate the spreader in the rain.
OPERATION
Fill the Spreader
- Fill the spreader over a patch of bare ground or sidewalk/driveway.
- Do not fill the spreader on the lawn. Sweep up any spilled product.
- Always fill the spreader with a closure plate closed by moving the control handle to the” lock” position.
- Always break up any lumps before filling the spreader.
Do not attempt to break the lumps in the hopper, as it may cause damage to the lattice mesh and the spreader.
Set Flow Rate
- Determine your setting rate with the setting chart as below.
Material type Setting at 3 MPH Spread width coverage (feet) Fertilizer Powder 3-5 3-4 Granular 3-5 8-10 Pelleted 3-5 10-12 Organic 6-8 6-8 Grass seed Fine 3-4 6-7 Coarse 4-5 8-9 Important: this is general setting information, it is only for reference. The rates are affected by humidity and moisture, some minor setting adjustments may be necessary to compensate for these conditions.
- Push the control handle to the “lock” position.
- Move the slider to the desired setting, and tighten the wing knob to secure the position.
- Release the control handle from the” lock” position and rest the handle on the slider.

How to Adjust the Closure Plate
- Move the flow control handle to the “lock” position.
- Look inside the hopper to check if the closure plate is completely closed. If there is any gap between the closure plate and outlet of the hopper, please follow the below steps to adjust:
- Loosen the bolts on the flow control chamber.
- Move the flow control chamber back and forth till the gap is closed. Fix the position by re-tightening the bolts.

CARE AND MAINTENANCE
- Empty the hopper after each use. Do not store the spreader with materials left in the hopper.
- Rinse the hopper and lattice mesh and wipe dry. Fertilizer debris may become crystallized.
- Lubricate the alloy bushings with a grease gun through the oil nipples.
- Store in a clean, dry area.
- Always have the slider in the” OFF” position when filling or transporting the hopper.

PARTS LIST AND EXPLODED VIEW







Important: The vinyl cover acts as a wind and moisture shield. The cover keeps the contents dry. but it does not mean the spreader can be used or left in the rain. Do not operate the spreader in the rain.


















