S80-12010 120 lb Electric Spreader
Instruction Manual
IMPORTANT
This manual contains information for the safety of persons and property.
Read it carefully before assembly and operation of the equipment!
SAFETY LABELS
Understanding the Machine safety labels:
The machine safety labels shown in this section are placed in important areas on your machine to draw attention to potential safety hazards.
On your machine safety labels, the words DANGER, WARNING, and CAUTION are used with this safety-alert symbol. DANGER identifies the most serious hazards.
The operator’s manual also explains any potential safety hazards whenever necessary in special safety messages that are identified with the word CAUTION and the safetyalert symbol.
Safety Alert symbol
Safety labels on spreader:
WARNING
TO PREVENT LOSS OF CONTROL WHILE SPREADER IS ATTACHED TO VEHICLE:
- Read spreader Operator’s Manual.
- Allow for longer braking distances.
- Vehicle speed should be less than 10 mph. Speed should always be slow enough to maintain control. If your vehicle manual specifies a speed slower than 10 mph when carrying loads, then do not exceed the specified speed.
- Do not drive on slopes greater than 10 degrees.
- Empty spreader hopper and travel slowly while going up and down trailer ramps.
1008753
CAUTION
TO PREVENT INJURY TO HAND:
- Never place hands into hopper or adjust Accuway Directional Control while motor is running.
- If using hand to open or close gate actuator, use extension.
1008785
OPERATING SAFELY
General:
- Read this manual and the manual of the vehicle you are attaching the spreader onto. Be thoroughly familiar with the controls and the proper use of the equipment. Know how to stop the vehicle and disengage the controls quickly.
- This spreader is intended for use in lawn care and snow/ice melt applications only. Do not use for applications other than those intended by the manufacturer.
- Do not let an untrained person or children operate spreader.
- Do not let anyone, especially children, ride on spreader. Riders are subject to injury such as being struck by foreign objects and being thrown off. Riders may also obstruct the operator’s view, resulting in the vehicle being operated in an unsafe manner.
- Keep bystanders away when you operate spreader.
- Keep hands, feet, clothing, hair, and loose items away from any moving parts. Failure to check could cause personal injury.
- To prevent injury to hand:
• Never place hands into hopper or adjust Accuway Directional Control while motor is running.
• If using hand to open or close the gate actuator, use extension.
Personal Protective equipment:
- Always wear ear and eye protection while operating the spreader.
- Wear appropriate clothing, footwear, and safety equipment when operating spreader.
- Do not operate the spreader when barefoot or wearing open sandals.
RECOMMEDEEd VEHICLES
and Attachment Method
If you have purchased an optional mount kit, follow mount kit instructions for proper assembly of spreader to vehicle. If a mount kit is not available for your vehicle, and you are fabricating your own mount kit, please read and understand the following.
This spreader is to be attached to 4 wheel vehicles only. The following are the recommended types of vehicles and minimum vehicle requirements needed to properly mount the spreader. While significant effort was made to ensure that the recommended vehicles are safe for operation, it is up to the operator to use the spreader and vehicle with the following safe operating practices.
- When spreader is attached to vehicle, be aware that handling characteristics of vehicle may be affected. To prevent loss of control when spreader is attached to vehicle.
• Read spreader Operators Manual.
• Allow for longer braking distances.
• Vehicle speed should be less than 10mph.
Speed should always be slow enough to maintain control. If your vehicle manual specifies a speed slower than 10 mph when carrying loads, then do not exceed specified speed. - Do not drive on slopes greater than 10 degrees.
- Empty spreader hopper and travel slowly while going up and down trailer ramps.
- Do not drive on wet slopes. Slippery conditions reduce traction and could cause loss of control.
- Look behind machine before you back up. Back up carefully.
- Travel slowly over rough terrain.
- Do not load spreader hopper with more than the maximum weight capacity.
- Evenly distribute loads in the cargo bed (UTV) or cargo rack (ATV).
Part Explosions
DO NOT RETURN PRODUCT IF YOU ARE MISSING PARTS. PLEASE CALL: 1 (800) 972-6130
| Ref # | Part # | Description | Qty |
| 1 | 1006262 | Hopper Cover | 1 |
| 2 | 1008720 | Screen | 1 |
| 3 | 1008734 | Variable Speed Control | 1 |
| 4 | 1000203 | Hopper Bottom Bearing | 1 |
| 5 | 1000211 | Dial Mount | 1 |
| 6 | 1000215 | Pine Tree Clip | 1 |
| 7 | 1000725-01 | Rate Gate Link | 1 |
| 8 | 1000733 | Dial | 1 |
| 9 | 1000766-01 | Mulch Bottom | 1 |
| 10 | 1001264 | Bolt; SS, #10-32 x 1/2″ | 6 |
| 11 | 1001521 | Rate Gate Guide | 4 |
| 12 | 1004880 | Bolt; SS, 1/4″ x 1/2″ | 6 |
| 13 | 1006084 | Bolt; SS, 1/4″ x 3/4″ | 2 |
| 14 | 1006147 | Accuway Diffuser | 1 |
| 15 | 1007329 | T-Knob | 1 |
| 16 | 1007386 | Carriage Bolt; SS, 1/4″ x 3/4″ | 5 |
| 17 | 1007889 | Nylon Cable Tie, (Not Shown) | 6 |
| 18 | 1008244 | Rate Gate | 1 |
| 19 | 1008705 | Slide Bracket | 1 |
| 20 | 1008706 | Slot Bracket | 1 |
| 21 | 1008730 | Gate Actuator Rod | 1 |
| 22 | 1008748 | Nylon Lock Nut; SS, #10-32 | 2 |
| 23 | 1008755 | Hopper with Label | 1 |
| 24 | 1008067 | Spyker Decal | 1 |
| 25 | 1000198 | Felt Washer | 2 |
| 26 | 1000607 | Spinner | 1 |
| 27 | 1001351 | Washer; SS, 1/4″ | 10 |
| 28 | 1001352 | Washer; SS, #10 | 4 |
| 29 | 1001554 | Nylon Washer | 4 |
| 30 | 1001683 | Spinner Clip | 1 |
| 31 | 1005198 | Nylon Lock Nut; SS, 1/4″-20 | 15 |
| 32 | 1007005 | Lock Washer; SS, #10 | 4 |
| 33 | 1008241 | Agitator | 1 |
| 34 | 1008733 | Motor | 1 |
| 35 | 1008744 | Tube Plug | 4 |
| 36 | 1008756 | Deflector with Labels | 1 |
| 37 | 1008753 | Warning Label | 1 |
| 38 | 1008785 | Caution Label | 1 |
| 39 | 1008757 | Frame with Label | 1 |
| 40 | L-1744-6 | Spyker Serial # Label | 1 |
| 41 | 1008770 | Bumper Bar | 1 |
| 42 | 2M0828SS | Bolt; SS, 1/4″ x 1-3/4″ | 6 |
| 43 | 1008711 | Gate Actuator Bracket | 1 |
| 44 | 1008712 | Gate Actuator Extension | 1 |
| 45 | 1008742-10 | Controller Bracket | 1 |
| 46 | 1001248 | Bolt; SS, #10 x 5/8″ | 2 |
| 47 | 1001255 | Bolt; SS, 1/4″-20 x 1″ | 4 |
| 48 | 1001308 | Nylon Lock Nut; SS, #10-24 | 3 |
| 49 | 1001533 | Nylon Flange Bushing | 2 |
| 50 | 1007888 | Bolt; SS, 1/4″ x 2-1/4″ | 1 |
| 51 | 1008745 | Screw; SS, #10-24 x 2-1/4″ | 1 |
| 52 | 1008746 | Plastic Spacer | 1 |
| 53 | 1008747 | Grip | 1 |
| 54 | B-7181 | Conduit Clamp, 1/2″ | 2 |
| 55 | 1008743 | Plastic Washer | 1 |


Assembly
- Remove spreader and components from carton
- Place spreader upside down, with top of hopper laying on a flat surface.
- If spreader will be mounted onto a ZTR and the Gate Actuator Bracket (43) will be difficult to reach with foot (See Figure 1), then the Gate Actuator Extension (44) may be required. Install the Gate Actuator Extension to the Gate Actuator Bracket using two 1/4″-20 x 1″ Bolts (47) and two 1/4″-20 Nylon Lock Nuts (31) as shown in Figure 2.

- If spreader will be mounted onto a vehicle and you will use your hand to open/close the gate actuator, install the extension as explained in Step 3. If the extension will not fit in your particular application, it may be necessary to fabricate a custom extension.
- Turn Spyker Dial (8) to setting 9.9. Cut the cable tie that is holding the Gate Actuator Rod (21) in place. Slide the Gate Actuator Rod through the Gate Actuator Bracket (43) into the position shown in Figure 3.
- Attach Gate Actuator Bracket (43) to the Frame (39) using a 1/4″ x 2-1/4″ Bolt (50), two 1/4″ Washers (27), two Nylon Flange Bushings (49), and a 1/4″-20 Nylon Lock Nut (31).
NOTE: Ensure that the Gate Actuator Bracket (43) is assembled at the location and in the orientation shown in Figure 3.
- Attach Plastic Spacer (52) to Gate Actuator Bracket (43) using one #10-24 x 2-1/4″ Bolt (51), two 1/4″ Washers (27), and a #10-24 Nylon Lock Nut (48) as shown in Figure 4. Leave loose.

- Pivot the Gate Actuator Bracket (43) in the direction shown until the Rate Gate (18; See Figure 5) has just closed but isn’t pushing against the Dial Mount (5).

- Adjust the position of the Plastic Spacer (52; See Figure 6) that was assembled in Step 7 so that it is resting against the Frame (39) and tighten the fasteners that hold it in place.

- Attach Grip (53) to Gate Actuator
Extension (44, if applicable) as shown in Figure 7.
- Turn spreader over and place the Screen (2) into the hopper.
Assembly (Electrical Instructions)
- If you have purchased an optional mount kit, and if those instructions explain how to connect and route an electrical harness, please refer to those instructions. If no instructions are given, continue to Step 2.
- Ensure spreader is attached to UTV, ATV, or ZTR per mount kit instructions or as described previously in this manual.
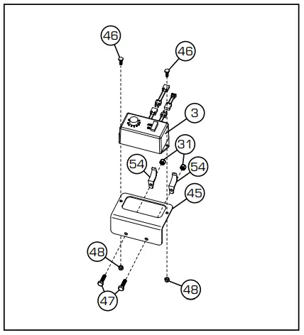
- Attach the Controller Bracket (45) to the Variable Speed Control (3) using two #10 x 5/8″ Bolts (46) and two #10-24 Nylon Lock Nuts (48) as shown.

- Attach the Controller Bracket (45) to a convenient location on your vehicle using the available 1/2″ Conduit Clamps (54), 1/4″-20 x 1″ Bolts (47),and 1/4″-20 Nylon Lock Nuts (31). Ensure motor controller will not cause a tripping hazard.
- Plug in Motor Harness to Motor (34). The Motor connector and Motor Harness connector can only be attached in one way.
The motor is designed to rotate in reverse so the fan will distribute material properly. - Route and plug in Motor Harness to Variable Speed Control. Use the included Cable Ties (17) to properly secure the Motor Harness to the vehicle. Be sure to route wires away from hot surfaces, gas tank fill areas, or areas that could cause tripping hazards.
- Plug in Battery Harness connector to the Variable Speed Control (3).

- Route Battery Harness to battery, and use Cable Ties (17) to properly secure to vehicle. Be sure to route wires away from hot surfaces, gas tank fill areas, or areas that could cause tripping hazard.

- Connect the red positive (+) wire of battery harness to positive (+) clamp bolt of battery. Install and tighten nut completely, and slide red battery boot onto positive battery cable post.
- Connect black negative (-) battery harness to black negative (-) of battery clamp bolt. Install and tighten nut completely.
Assembly is complete.
Continue reading for Use and Care instructions.
UTV – Utility Terrain Vehicle
RECOMMENDED
UTV SPECIFICATIONS
Review your Vehicle Operators Manual for your vehicle specifications.
- Minimum vehicle dry weight: 1,050 lb
- Minimum wheelbase: 70.9″
- Minimum payload capacity: 800 lb
- Vehicle tire pressure is at manufacturer’s recommended settings.
- The Gross Vehicle Weight (GVW) must never exceed the Gross Vehicle Weight Rating (GVWR) of machine. Failure to do so may limit a machines handling characteristics.
To calculate GVW, add the following:
(A) empty Vehicle Weight
(Full fluids. See vehicle operators manual)
(B) Occupant Weight
(Driver + passenger if applicable)
(C) Cargo Box load Weight
(Do not exceed maximum cargo box capacity)
(D) Optional Vehicle Accessories Weight
(Cab, snow blade, etc)
(E) spreader Weight
(See Capacities section)
(F) Weight of Material in Hopper
(do not exceed Hopper Capacity. See Capacity Section)
+ (G) Weight of spreader Mount
Gross Vehicle Weight = A+B+C+D+E+F+G
NOTE: GVW must be lower than GVWR (see Vehicle Operators Manual for rating). If not, do not operate vehicle and reduce weight until GVW is lower than GVWR.
How to Attach to UTV’s
If you are developing your own mount, follow these guidelines:
- Spreader should be mounted to rear of vehicle, using UTV receiver hitch as the main support.
- Fabricate a mount bracket using a minimum of 2″ x 11 gage square steel tubing that attaches spreader frame to UTV hitch.
- Use at least (4) 1/2″ diameter bolts to mount spreader frame to square steel tubing.
- Center spreader with Center Line of Vehicle. Do not offset to the Left or Right.
- For additional support, use ratchet style tie straps to secure spreader frame to UTV bed. Locate and tighten tie straps from frame to bed (both sides)
- Fabricate mount to accommodate the dimensions on page 13.
What NOT to do:
Optional side Deflector
(Spyker Part #: KSP13-SD3) is a great addition for this spreader.
Optional Cable Kit
(Spyker Part #: KSP14-CAB1) is recommended to control rate gate from UTV driver seat.
ATV – All Terrain Vehicle
RECOMMENDED
ATV SPECIFICATIONS
Review your Vehicle Operators Manual for your vehicle specifications.
- Minimum vehicle dry weight: 615 lb
- Minimum wheelbase: 48.4″
- Minimum rear rack capacity: 176 lb
- Vehicle tire pressure is at manufacturer’s recommended settings
- Do not exceed 120lb of material in hopper on ATV’s
- Do not exceed maximum weight capacity of vehicle.
To calculate, add the following:
(A) Driver Weight
(B) Rear Cargo Weight
(C) Front Cargo Weight
(D) Accessories Weight
(snow blade, etc)
(E) spreader Weight
(See Capacities section)
(F) Weight of Material in Hopper
(Do not exceed 120 lb.)
+ (G) Weight of spreader Mount
Weight Capacity = A+B+C+D+E+F+G
NOTE: Weight Capacity must be lower than max weight capacity (See Vehicle Operators Manual). If not, do not operate vehicle and reduce weight until Weight Capacity is lower than maximum weight capacity. - Do not exceed rear rack weight capacity
- Rear Weight = B+E+F+G
- Rear Weight must be lower than the rear rack capacity weight (See Vehicle Operators Manual). If not, do not operate vehicle and reduce weight until Rear Weight is lower than rear rack weight capacity.
How to Attach to ATV’s
If you are developing your own mount, follow these guidelines:
- Spreader should be mounted to rear of vehicle, using ATV receiver hitch as main mount support.
- Fabricate a mount bracket using a minimum of 2″ x 11 gage square steel tubing that attaches spreader frame to ATV hitch.
- Use at least (4) 1/2″ diameter bolts to mount spreader frame to square steel tubing.
- Center spreader with Center Line of Vehicle. Do not offset to the Left or Right.
- For additional support, use ratchet style tie straps to secure spreader frame to ATV Rear Cargo Rack.
- Fabricate mount to accommodate the dimensions on page 15.
What NOT to do:


Optional side Deflector
(Spyker Part #: KSP13-SD3) is a great addition for this spreader.
ZTR – Zero Turn Radius
RECOMMENDED
ZTR SPECIFICATIONS
Review your Vehicle Operators Manual for your vehicle specifications.
- Minimum vehicle dry weight: 863 lbs
- Minimum mower deck: 48″
- Must have ROPS (Rollover Protection System)
- Vehicle tire pressure is at manufacturer’s recommended settings
- Do not exceed 120lb of material in hopper on ZTR’s.
- Keep the ROPS (Rollover Protection System) in the raised and locked position and use the seat belt when operating the vehicle with spreader.
How to Attach to ZTR’s
If you are developing your own mount, follow these guidelines:
- Spreader can be mounted to front of vehicle
- Fabricate a mount bracket using a minimum of 2″ x 11 gage square steel tubing that attaches spreader frame to front ZTR caster wheel frame.
- Use at least (4) 1/2″ diameter bolts to mount spreader frame to square steel tubing.
- Center spreader with Center Line of Vehicle. Do not offset to the Left or Right.
- Do not mount spreader so that it blocks operators field of vision for safe operation.
- Fabricate mount to accommodate the dimensions on page 17.
What NOT to do:


Optional side Deflector
(Spyker Part #: KSP13-SD3) is a great addition for this spreader.
Read Before Using
BECOME FAMILIAR WITH THE OPERATION OF THE SPREADER BEFORE YOU PUT MATERIAL IN THE HOPPER
OPERATION
This unit is designed to handle dry, clean, free-flowing material only such as bagged rock salt, ice melt, fertilizer, and grass seed. Do not use bulk rock salt or water softener salt. It may be necessary to remove agitator for some materials, such as bagged rock salt.
- The recommended vehicle operating speed when spreading is approximately 3 MPH, or slightly faster than a brisk walk (equal to vehicle traveling 40 ft. in 9 seconds).
- The rate gate linkage operates the rate gate. The dial is marked from 0 to 9.9. The rate gate linkage position determines the amount of material to be broadcast. The higher the number, the heavier the application of material
- The dial is milled out at the 9.9 position. This allows the rate gate link to go past the 9.9 position and enables the rate gate to be opened to maximum distance. This setting can be used for dry sand, dry organic top dresses, bagged rock salt, and ice melt products that are normally difficult to spread.

- Ensure spreader and electrical harnesses are properly attached to vehicle (see Assembly Section).
- Fill hopper with material. Do not exceed maximum weight capacity of hopper (see Capacity Section).
- Set dial to correct position. If a Spyker dial setting is not found with broadcast material information, use the size and weight comparison table found on the following pages. Determine a dial setting on the low side. If the setting proves to be too low, cover the area more than one time. A higher setting can be used when a proven dial setting is established.
- Travel to spreading location.
- Ensure area surrounding spreader is clear of bystanders.
- Turn on/off switch ON, and adjust motor speed control dial. The higher the motor speed control setting, the further the broadcast distribution will be. For most fertilizers, the motor speed control can be set at 5 and still obtain a 18′ spread width. For grass seeds, the motor speed control can be set at 5 to obtain a 12′ spread width.
- Press the RH side of gate actuator to open hopper gate. Open the gate of the spreader after you are in motion at operating speed (about 3 MPH).
- Evaluate spread pattern.
- If spread pattern is OK, continue to spread at recommended speed of 3 MPH.
- If spread pattern needs to be adjusted, go to Accuway Spread Pattern Adjustment Section.
- Press LH side of gate actuator to close gate. Close the gate of the spreader while still at operational speed.
- Turn on/off switch to OFF to stop fan.
ACCUWAY SPREAD PATTERN ADJUSTMENT
Caution! To avoid injury to hand, ensure motor controller is switched OFF before adjusting Accuway.
As you spread, if the spread pattern is skewing or flowing heavy to one side, simply loosen the T-knob (15) on the Accuway plate (20) and slide the T-knob forwards or backwards.
Moving the Accuway plate shifts the material on the spinner. Adjustment is very sensitive and should be done in small increments until the spread pattern is centered.
SPREADING CHART
This unit is designed to handle dry, clean, free-flowing material only such as bagged rock salt, ice melt, fertilizer, and grass seed. Do not use bulk rock salt or water softener salt. It may be necessary to remove agitator for some materials, such as bagged rock salt.
SPEED, ACCURACY, FREEDOM FROM STRIPES
AND STREAKS are yours when you use this spreader.
The spread width ranges from 6 ft. to 25 ft. wide, depending on the volume/density, particle size of the material and the rate of travel. The spread thins or feathers at the outer edges, eliminating sharp, “Edge of spread” lines which cause stripes and streaks.
REMEMBER – Published dial settings can be approximate only.
The operation of the spreader, the condition of the material (damp or dry or over-pulverized) and weather conditions, are all contributing factors.
For these reasons, it’s often a good idea to spread the area 2 times – at one-half rate – in cross directions. Vehicle travel speed should be 3 MPH.
CAUTION: Avoid injury! Chemicals can be dangerous. Avoid injury to operator or bystanders.
Read chemical MSDS (Material Safety Data Sheets) and container label for proper / safe handling instructions.
Wear appropriate clothing and safety equipment when applying and handling chemicals.
Prohibit smoking, drinking, and eating around chemicals.
WARNING: When spreading products containing herbicides, exercise extreme caution with respect to careless spreading and to wind-drift. CONTACT OF SOME PRODUCTS ON SOME PLANTS CAN BE FATAL.
NOTE: Dial Settings Are Approximate Only !
| Product | Particle Size | Lbs. per 1000 sq. ft. | Dial Settings Full Rate Once Over | Dial Settings Half Rate Twice Over |
| Fine Pellets | 1 | 3.6 | 3.1 | |
| 2 | 4 | 3.5 | ||
| 3 | 4.2 | 3.7 | ||
| Mixed Fine Pellets | 2 | 3.7 | 3.2 | |
| 4 | 4.7 | 4.1 | ||
| 6 | 5.2 | 4.5 | ||
| Small Pellets | 2 | 3 | 2.2 | |
| 4 | 4.2 | 3.7 | ||
| 6 | 4.5 | 4 | ||
| Nitrogen Pellets Medium Size | 1 | 3.5 | 3 | |
| 2 | 4.2 | 3.7 | ||
| 3 | 4.7 | 4 | ||
| Medium Pellets And Granuals | 2 | 3.5 | 3 | |
| 4 | 4.2 | 3.8 | ||
| 6 | 5.2 | 4.5 | ||
| Large Heavy Pellets | 2 | 3.8 | 3.3 | |
| 4 | 4.9 | 4.1 | ||
| 6 | 5.9 | 4.9 |
GRASS SEED SPREADING CHART
| Product | Bag Weight | Sq. Ft. Coverage | Dial Setting Full Rate | Dial Setting Half Rate | Spread Width |
| Blue Grass or Red Top | .5 lbs. | 1,000 | 1.25 | 4 | |
| 1 lbs. | 1,000 | 2.0 | 4 | ||
| 2 lbs. | 1,000 | 2.5 | 4 | ||
| Park, Merion, Delta, or Kentucky Bluegrass | .5 lbs. | 1,000 | 2.5 | 4 | |
| 1 lbs. | 1,000 | 3.0 | 4 | ||
| 2 lbs. | 1,000 | 3.5 | 4 | ||
| Hulled Bermuda | 2 lbs. | 1,000 | 2.75 | 2.25 | 6 |
| 3 lbs. | 1,000 | 3.0 | 2.5 | 6 | |
| 4 lbs. | 1,000 | 3.25 | 2.75 | 6 | |
| Mixtures Including Coarse Seeds | 2 lbs. | 1,000 | 6.0 | 6 | |
| 4 lbs. | 1,000 | 7.0 | 6 | ||
| 6 lbs. | 1,000 | 7.0 | 6 | ||
| Rye Grasses or Tall Fescue | 2 lbs. | 1,000 | 6.0 | 6 | |
| 4 lbs. | 1,000 | 7.0 | 6 | ||
| 6 lbs. | 1,000 | 7.75 | 6 | ||
| Dichondra | 4 oz. | 1,000 | 1.9 | 8 | |
| 8 oz. | 1,000 | 2.1 | 8 | ||
| 12 oz. | 1,000 | 2.5 | 8 | ||
| Pensacola Bahia | 4 lbs. | 1,000 | 4.5 | 3.75 | 7 |
| 5 lbs. | 1,000 | 4.75 | 4 | 7 | |
| 6 lbs. | 1,000 | 5.0 | 4.25 | 7 |
CLEANING SPREADER
- Use appropriate footwear, eye protection, and clothing when cleaning spreader.
- The key to years of trouble-free service is to keep your spreader clean and dry.
- Never allow material to remain in hopper for extended periods of time.
- Empty material from hopper at the end of each day.
- Use a hose or wipe excess material off spreader at the end of each day.
- To avoid damage to motor and electrical system, do not spray motor directly or pressure wash.
- Open and close gate as you rinse to avoid build up of material.
- Quickly towel dry spreader.
- Use dielectric grease on electrical connections to prevent corrosion.
STORING SPREADER
- Stop machine on level ground.
- Stop machine engine.
- Lock machine park brake.
- Disconnect spreader motor harness from the machine’s battery.
- Remove all material from the hopper before removing spreader from machine. The spreader should be clean and dry before storing. See cleaning spreader section.
- Remove spreader from machine.
- Store spreader upside down, with top edge of the spreader on the ground.
MAINTENANCE
- Understand service and maintenance procedure before performing any work on this machine or spreader.

- Do not operate the engine in a confined space where carbon monoxide and other fumes can accumulate.
- Never lubricate, service, or adjust the machine or spreader while it is moving or running.
- Keep hands, feet, clothing, hair, and loose items away from any moving parts.
- Disconnect battery before making any repairs.
- Keep all parts in good condition and operating properly. Fix damages immediately. Replace all worm or damaged parts (including safety decals).
- If agitator is worn, replace with Spyker part #1008241. Do not use any other agitator.
- Check all hardware at frequent intervals to ensure they are tight.
CAPACITIES
| Spreader empty weight with gate actuator | 34 lbs. |
| Hopper Volume Capacity | 2.0 cubic feet. |
| Maximum weight capacity of spreader hopper | 120 lbs. |
TROUBLESHOOTING
| PROBLEM | CAUSE/CONDITION | REMEDY |
| Too much/not enough material dispensed | Rate gate not opened to correct position | Check dial settings and rate gate linkage position |
| Rate gate linkage will not open fully | Dial is in wrong position | Turn dial so milled out portion (#9.9) allows gate to open fully |
| Motor is not turning on | Battery harness not connected to battery | Ensure battery harness is properly connected to battery and motor controller. |
| Motor harness not connected to motor | Ensure motor harness is connected to motor and motor controller. | |
| Fuse is blown | Check and replace 15 amp fuse. To avoid electrical damage, only use 15 amp. | |
| On/Off switch light is flashing on and off every 2 seconds | Under voltage condition. Turn switch off, wait 5 seconds and turn switch on. | |
| On/Off switch light is flashing on and off every 1 second | Overload condition, Turns switch off, wait 5 seconds and turn switch on. If problem continues, turn switch off. | |
| Material is too dense, compact, or moist. | Turn off switch, remove agitator. | |
| Material is not falling through hopper gate | Material is too moist | Scoop material from hopper and replace with dry material |
| Material is clumpy | Ensure screen is in place. | |
| Gate is not opened far enough for material type | Open gate in small increments. | |
| Agitator is missing or worn | High amount of usage | Replace agitator with part number 1008241. Do not use any other agitator. |
WARRANTY
1 YEAR LIMITED WARRANTY
This is warranted to the original purchaser only. Spyker will replace parts with defects in materials and workmanship, for a period of one year from the date of purchase.
For Spyker Spreaders–a Brinly-Hardy Company, products employing metal gear systems, pinion and bevel, these metal gears, only, not inclusive of any other parts or materials, are warranted for the life of the spreader, not to be used for replacement or repair past original purchase.
Spyker Spreaders will not be liable for any loss, damage or expense including, but not limited to, consequential or incidental damages, arising from the operation, condition or
use of the item. The sole and exclusive remedy against Spyker Spreaders being the replacement of the defective parts. This warranty gives you specific legal rights, and you may also have other rights which vary from state to state.
This express warranty, which is applicable only to the original purchase, is in lieu of and excludes all other warranties, whether expressed or implied by operation of law or otherwise, including any warranty of merchantability or fitness for particular purpose.
SPYKER SPREADERS
Jeffersonville, IN 47130 USA
Phone: 800.972.6130
Spyker Spreaders
Contact Us at 800.972.6130
©2022 Spyker Spreaders/A Brinly-Hardy Co.
1008754-B
1008753
1008785






The motor is designed to rotate in reverse so the fan will distribute material properly.
















