CRYSTORAMA KEN-8305-BF Kendal Four Light Ceiling Mount

Product Information
The Crystorama KEN-8305-BF is a damp-rated lighting fixture with a metal frame, glass panels, and a glass diffuser. It requires four medium base bulbs with a maximum recommended wattage of 60 watts. The fixture comes with all necessary mounting hardware, including a ceiling pan, ball nut, and screws. It is important to note that all electrical components must be installed by a licensed electrician in accordance with the National Electric Code and local electrical codes. Additionally, this product contains lead, which is known to the state of California to cause cancer and/or birth defects or reproductive harm.
Product Usage Instructions
- Slide the glass diffuser onto the bottom of the metal frame and secure it with clips.
- Slide the glass panels inside the metal frame and secure them with clips.
- Remove screw #2 from each hook. Place one hook onto the bottom of the bracket on the metal frame by inserting screw #1 into the 1st hole on the bracket. While holding the hook in place, place the top metal ring over the top of the bracket by aligning the hole on it with the 2nd hole on the bracket and hook. Secure it with screw #2. Repeat for other hooks.
- Install the mounting screws into the matching holes in the mounting plate. Secure the mounting plate to the outlet box with the outlet box screws.
- Raise ceiling pan allowing the mounting screws to protrude through the holes in the ceiling pan, and secure with the ball nut.
- Install a bulb (not included) into each socket.
- Place the metal frame over the ceiling pan by inserting the hooks into the holes of the metal tab on the ceiling pan.
To change the bulb, raise the metal frame up over the ceiling pan and turn it sideways to take it down. Install the new bulb and put the metal frame back in place.
WARNING

- Electrical Danger
- Turn Power off
All electrical components must be installed by a licensed electrician in accordance with the National Electric Code and the appropriate local electrical codes.
You will need

- You will need 4-Medium Base Bulb
- 40 Watts Frosted bulb Recommended 60 Watts Max.
- USE LED BULBS FOR EXTENDED USE
- This fixture is Damp rated.
How to install


- Slide the glass diffuser onto the bottom of metal frame and secure it with clips.
- Slide the glass panels inside the metal frame and secure it with clips.
- Remove screw #2 from each of the hooks. Place one hook onto the bottom of the bracket on the metal frame by inserting screw #1 into the 1st hole on the bracket. While holding the hook in place, place the top metal ring over the top of the bracket by aligning the hole on it with the 2nd hole on the bracket and hook. Secure it with screw #2. Repeat this for other hooks.
- Install the mounting screws into the matching holes in the mounting plate. Secure the mounting plate to the outlet box with the outlet box screws.
- Raise ceiling pan allowing the mounting screws to protrude through the holes in the ceiling pan, and secure with the ball nut.
- Install the bulb (not included) into the socket.
- Place the metal frame over the ceiling pan by inserting the hooks into the holes of the metal tab on the ceiling pan.
How to change the bulb
- Raise the metal frame up over the ceiling pan and turn it sideway to take it down. Install the new bulb and put the metal frame back.
Dimension

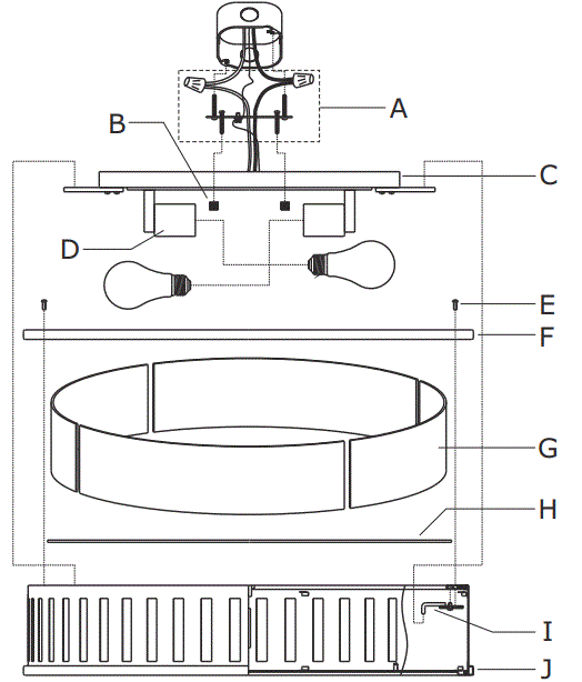
Part Numbers

- A. (1) -Mounting hardware
- B. (2)-Ball nut #XRF8305BFBANUT
- C. (1) -Ceiling pan
- D. (4) -Socket
- E. (4)-Screw
- F. (1) -Top metal ring
- G. (4)-Glass panel L15-1/4″×W3-7/8″×H3-1/8″ #XRF8304GLA15.25IN
- H. (1) -Glass diffuser W20-5/8″ #XRF8304DIFF20.625IN
- I. (4)-Hook
- J. (1) -Metal frame
WARNING: This product can expose you to Lead which is known to the state of California to cause cancer and/or birth defects or reproductive harm. For more information go to www.P65Warnings.ca.gov


















