63” x 32” Table Top
Instruction Manual
SKU: DESK-TOP1B/C/D/G/N/W
DESK-TOP1B 63×32 Inch Table Top
Scan the QR code with your mobile device or follow the link for helpful videos and specifications related to this product. https://vivo-us.com/products/desk-top1b
WARNING!
If you do not understand these directions, or if you have any doubts about the safety of the installation, please call a qualified technician. Check carefully to make sure there are no missing or defective parts. Improper installation may cause damage or serious injury. Do not use this product for any purpose that is not explicitly specified in this manual and do not exceed weight capacity. We cannot be liable for damage or injury caused by improper mounting, incorrect assembly, or inappropriate use.
WARNING: CHOKING HAZARD
SMALL PARTS – NOT FOR CHILDREN UNDER 3 YEARS. ADULT SUPERVISION IS REQUIRED.
PACKAGE CONTENTS

ASSEMBLY STEPS
STEP 1
Place Desktop Panels (A, B, C) upside down on a protective surface and insert Wooden Dowel Pins (S-B) into Middle Panel (B). Connect Left Panel (A) and Right Panel (C) to Middle Panel (B) using Wooden Dowel Pins (S-B).
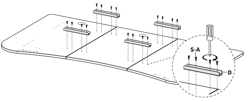
STEP 2
Attach Support Bars (D) to predrilled holes in desktop assembly using ST4.2x16mm Screws (S-A) and a phillips screwdriver.

STEP 2
Place Grommet Covers (E) into grommet holes. Covers can be used for cable management.

STEP 3
Place desk frame upside down on the desktop assembly. Adjust frame width to match desktop mounting holes, and secure frame to desktop assembly using hardware provided in your desk frame kit. For VIVO frames, pre-drilled holes have been included for most control panels and crank handles. NOTE: Holes for some control panels and cranks are not pre-drilled. In this case, you must drill your own.

Love your new VIVO setup and want to share?
Tag us in your photo! @vivo_us
LAST UPDATED: 03/03/2023
REV3
Open Monday – Friday 7:00am – 7:00pm CST, our dedicated support team can offer immediate assistance with rapid response times. If any parts are received damaged or defective, please contact us. We are happy to replace parts to ensure you have a fully functioning product.
309-278-5303 AVG. RESOLUTION TIME (within office hrs): 5M 4S
www.vivo-us.com Chat live with an agent! AVG. RESOLUTION TIME (within office hrs): < 15 M
[email protected]
AVG. RESPONSE TIME (within office hrs): 1HR 8M
– 23% within < 15m
– 38% within < 30m
– 61% within < 1hr
– 83% within < 2hr
– 92% within < 3hr
FOR MORE VIVO PRODUCTS, CHECK OUT OUR WEBSITE AT: www.vivo-us.com
GET IN TOUCH | Monday-Friday from 7:00am-7:00pm CST
[email protected]
www.vivo-us.com
Chat live with an agent!
309-278-5303












