
Wooden Tripod Table Lamp
SKU: HLTL05K
[Instruction Manual]

Thank you for your purchase. Please contact us if you have any questions.
and we will get back to you within 24 hours. Email: [email protected] Please attach your Order ID so that we can serve you better.
CAUTION
- Before assembly, place all parts out on a clean flat surface and inspect each part for defects that may have occurred during shipping.
- Inspect wire insulation for any cuts, abrasions or exposed copper that may have resulted during shipping. If there are any defects in the wire, DO NOT continue to assemble. Please send an email to our Customer Service immediately ([email protected]).
- Consult a qualified electrician if you have any electrical questions.
- Never drape clothes over the lamp.
- To reduce the likelihood of tipping over, we recommend don’t place the lamp at the edge of the table and keeping children and pets away.
- To prevent children from suffocating and choking, keep them away from packing materials.
- Please keep this manual and hand it over when you transfer the product.
Packing List
| Part | Description | Quantity |
| 1 | Linen Shade | 2 |
| 2 | Socket Ring | 2 |
| 3 | Table Lamp | 2 |
| 4 | Instruction Manual | 1 |
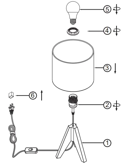
ASSEMBLY INSTRUCTIONS

- Pull and tighten the power cord, then screw the socket 2 clockwise onto the base 1 until tight.
- Place shade 3 on socket 2 then screw on the socket ring 4 to fix the shade.
- Screw the Bulb 5 ( Not Included) clockwise onto Socket 2 until tight.
Specifications
– Product Height: 14.2 IN
– Base Length: 6.5 IN
– Wire Length:65 IN
– Materials: Linen, Wood
– Input Voltage: 120VAC 60Hz
– Max.Load Power: Incandescent Bulb 60W or LED Bulb 12W
– Socket Type: Standard Medium E26
One Year Limited Warranty
DEWENWILS warrants this product to be free from defects in material and workmanship for a period of one year from the date of purchase.
Warranty is void if the damage is caused by misuse or improper installation.
Please contact us if you have any questions. Email: [email protected].


















