LED Mirror Instruction Manual
Product name: LED Mirror
Read this manual carefully and consult it during installation to ensure that the product is properly installed and used safely.
Operating Instructions
- Key 1: Point- press—Defog-Switch on/off

- Key 2: Point- press—Light on/off; Long-press—Infinity Brightness Dimmer(10%-100%)

When the power is turned off and then restarted, it will return to the previous state of use.
Installation Procedure
Before starting your installation, please make sure
- The wall surface must be of suitable strength and construction
- The main electricity supply has been power-off
- Measure the distance (X) between the key-hole centers on the back of the mirror .
- Draw a horizontal line on the wall according to the height you want hang the mirror and mark the hole position on the wall with a pencil ,positions on the horizontal line using dimension (X) taken from step1.
- Drill the hole with a percussion drill, the hole position take from step2, Ensure the hole positions are horizontal .
- Use a hammer to nail the expansion bolt plug into the hole and keep it level with the wall.
NOTE: The expansion bolt plugs supplied are only suitable for solid stone / brick walls. For any other wall types, please go to stores to buy the correct plugs & screws after checking. - Use screwdriver to tighten the screw into the bolt expansion bolt, Leave approximately 5-10mm of the screw standing proud of the wall.
- The next step is to make the electrical connection from the mirror to the mains supply.
Follow the ELECTRIC CONNECTIONS GUIDE. - Hang the mirror onto the screws fitted to the wall. Ensure mirror is securely mounted.
To remove the mirror, the mirror should first be lifted and then pulled away from the wall.
Installation Process
Installation Tool
- Electric box cover (not Included)

- Screw (not Included)

- Expansion bolt (Included)

- Terminal Cap (Included)

- Hammer (not Included)

- Screwdriver (not Included)

- Percussion Drill (not Included)

- Tape Measure (not Included)

Installation Process
- Measure the position of the hooks on both sides of the mirror with a tape measure.

- Points on the wall with a pencil.

- Drill holes with percussion drill.

- Use hammer to nail the expansion bolt into the hole and keep it level with the wall.

- Use screwdriver to tighten the screws into the expansion bolt.

- hang the mirror on the wall.

Installing Mirror to Wall
Please following below Instructions before you install the mirror to Wall.
ALL WIRING SHOULD BE DONE BY A QUALIFIED LICENCED ELECTRICIAN
WARNING: Shut off power before wiring the mirror.
WARNING: An Electrical option mirror must be wired to a 20 Amp GFI (Ground Fault Interrupter) protected circuit when used in bathrooms and all other locations required by the National Electric Code.
CAUTION: Requires 120 VAC 20 Amp GFI protected circuit.
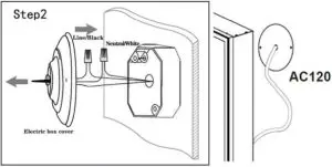
- Step 1
Measure the wire and cut off redundant length and leave the wire length you need.
Electric wiring: Be sure to I eave enough wire to make the proper and safe connection to the Field/Power. - Step 2

- Peel off the wire

- Twisted wire

- Rotary tightening

- Pull and Cheek

- Peel off the wire
- Step 3
Follow the installation process (5) to install the mirror on a wall
GROUNDING INSTRUCTIONS
This product must be connected to a grounded metal, permanent wiring system, or an equipment grounding conductor must be run with the circuit conductors and connected to the equipment grounding terminal or lead on the product.
WARNING-Risk of Electric Shock, Fire, and Injury
Review the assembly instructions to confirm that the appropriate critical components and accessories are being used with the mirror.
The children, or people with cognitive disabilities are not anticipated to be present or if present, closely supervised.
IMPORTANT SAFETY INSTRUCTIONS
When using this mirror, basic precautions should always be followed, including the following: Read all instructions before using.
DANGER – To reduce the risk of electric shock:
Always unplug this furnishing from the electrical outlet before cleaning or servicing.
WARNING– To reduce the risk of burns, fire, electric shock, or injury to persons:
- Disconnect from outlet before putting on or taking off parts.
- Close supervision is necessary when this mirror is used by, or near children, invalids, or disabled persons.
- Use this mirror only for its intended use as described in these instructions. Do not use attachments not recommended by the manufacturer.
- Never operate this mirror if it has a damaged cord, if it is not working properly, if it has been dropped or damaged, or dropped into water. Return the mirror to a service center for examination and repair.
- Keep the cord away from heated surfaces.
- Never operate the mirror with the air openings blocked. Keep the air openings free of lint, hair, and the like.
- Never drop or insert any object into any opening.
- DON NOT use outdoors.
- DON NOT operate where aerosol (spray) products are being used or where oxygen is being administered.
- To disconnect, turn all controls to the off position, then disconnect from outlet.
- For grounded products the following statement:
WARNING: Risk of Electric Shock – Connect this mirror to a properly grounded outlet only. See Grounding Instructions. - Mount mirror at the correct height.
SAVE THESE INSTRUCTIONS








































