479821 Antique Silver Industrial Dome Pendant Light
User Guide
BEFORE YOU BEGIN
We recommend consulting a professional if you are unfamiliar with installing electric fixtures. Signature Hardware accepts no liability for any damage to the property, the product or for personal injury during installation. Observe all local electrical building codes.
Unpack and inspect the product for shipping damage. If any damage is found, contact our Customer Relations team via live chat at www.signaturehardware.com or by emailing [email protected].
GETTING STARTED
Ensure that you have gathered all the required materials that are needed for the installation. .
ADDITIONAL QUESTIONS?
Still need help? Check out our Help Center at www.signaturehardware.com for product and warranty information, or contact us through live chat or by emailing [email protected].
FOR YOUR SAFETY
WARNING: Be sure the electricity to the wires you are working on is shut off, either the fuse is removed or the circuit breaker is shut of. You don’t need special tools to install this fixture. Be sure to follow the steps in the order given. Under no circumstances should a fixture be hung on house electrical wires, nor should a swag type fixture be installed on a ceiling which contains a radiant type heating system. Read instructions carefully. If you are unclear as to how to proceed, consult a qualified electrician.
CARE INSTRUCTIONS
To clean, wipe fixture with a soft cloth. Clean glass with a mild soap. Do not use abrasive materials such as scouring pads or powders. steel wool or abrasive paper
TOOLS AND MATERIALS:
![]() | Safety goggle |
![]() | Step ladder |
![]() | Wire strippers |
![]() | Wire cutters |
![]() | Phillips screwdriver |
![]() | Flathead screwdriver |
![]() | Electrical tape |
![]() | Light Bulb (E26 60 watt maximum) |
INSTALLATION (FIG 1)
- Attach one locking link (G) onto loop on top of fixture body (0).

- Determine desired hanging height of fixture. Cut chain (H) to length to achieve desired height.
- Attach chain link at end of chain (H) onto locking link (G) on I loop on top of fixture body (0).
- Weave fixture wires through chain (H), skipping every other chain link.
- Slip threaded ring (F) down over end of chain (H) and fixture wires.
- Slip hole in canopy (D) over end of chain (H) and fixture wires..
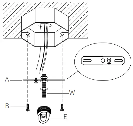
INSTALLATION (FIG 2) - Carefully pull house wires down out ofjunction box so house wires are easily accessible to connect fixture wires.
Position mounting bracket (A) so longest end of threaded pipe (W) attached to mounting bracket (A) is pointing down towards floor.- Align holes in mounting bracket (A) with holes in Int-Finn knv
- Thread each junction box screw (B) into appropriate holes in mounting bracket (A) and into holes in junction box. Tighten junction box screws (B) to secure mounting bracket (A) to junction box.
- Thread screw collar loop (E) onto threaded pipe (W). Tighten screw collar loop (E) up against first hexnut on threaded pipe (W).
INSTALLATION (FIG 3) - Strip 3/4″ of insulation from ends of fixture wires.
- Push fixture wires up through hole in screw collar loop (E) attached to mounting bracket (A) and out end of threaded pipe inside junction box. Carefully pull fixture
Conned Black or Red
Supply Wire (Lead Wire) to:Connect White Supply Wire
(Neutral Wire) to:Black wire White wire *Parallel wire (round or smooth) *Parallel wire (square or ridged) Clear, brown, gold or black wire
without tracerClear, brown, gold or black wire
with tracerInsulated wire (other than green)
with copper conductorInsulated wire (other than green)
with silver conductor*When parallel wires are used, the neutral wire is ridged down its length and the other wire is round and smoothg (see illus.) 

- To aid in connecting fixture wires to house wires, temporarily connect second locking link (GI to link at end of chain (H) and to screw collar loop (E).
- Twist the end of fixture white wire to the end of house white wire together. Twist a wire nut onto ends of wires. Wrap electrical tape around wire nut and wires to secure connection. Twist the end of fixture black wire and the end of house black wire together. Twist a wire nut onto the ends of wires. Wrap electrical tape around wire nut and wires to secure connection. Loosen ground screw on mounting bracket (A). Wrap house ground wire around ground screw leaving enough ground wire to attach to fixture ground wire. Twist the end of fixture ground wire to the end of house ground wire together. Twist a wire nut onto ends of wires. Wrap electrical tape around wire nut and wires to secure connection. Note: If you have electrical questions consult your local electrical code for approved grounding methods.
- After wires are connected. carefully tuck wires inside junction box.
INSTALLATION (FIG 4) - Remove second locking link (G) from last link on chain (H) and screw collar loop (E).

- Raise canopy (D) up to ceiling. Pass hole in canopy (D) over screw collar loop (E). Position canopy (D) up against ceiling.
- Raise threaded ring (F) up to canopy (D). Screw threaded ring (F) onto screw collar loop (E). Tighten threaded ring (F) to secure fixture to ceiling.
- Attach second locking link (G) to link at end of chain (H). Attach locking link (G) at end of chain (H) to loop on in…, ICI
- Screw recommended bulb (E26 Edison bulb type. not included) into socket. Verify correct bulb wattage marked on socket of fixture. WARNING: DO NOT exceed maximum bulb wattage.
REVISED: 04/27/2022
CODES: PHPL3403, SHPL3403
SIGNATURE HARDWARE
1.855.715.1800 signaturehardware.com









Position mounting bracket (A) so longest end of threaded pipe (W) attached to mounting bracket (A) is pointing down towards floor.
















