Signature Hardware 944688 Wetherburn Dark Bronze Modern-Contemporary Cone-Outdoor Pendant Light Instruction Manual
BEFORE YOU BEGIN
We recommend consulting a professional if you are unfamiliar with installing electric fixtures. Signature Hardware accepts no liability for any damage to the faucet, plumbing, sink, counter top, or for personal injury during installation. Observe all local plumbing and building codes. Unpack and inspect the product for shipping damage. If any damage is found, contact our Customer Relations team via live chat at www.signaturehardware.com or by emailing [email protected].
GETTING STARTED
Ensure that you have gathered all the required materials that are needed for the installation.
ADDITIONAL QUESTIONS?
Still need help? Check out our Help Center at www.signaturehardware.com for product and warranty information, or contact us through live chat or by emailing [email protected].
FOR YOUR SAFETY
WARNING: Be sure the electricity to the wires you are working on is shut off, either the fuse is removed or the circuit breaker is shut off. You don’t need special tools to install this fixture. Be sure to follow the steps in the order given. Under no circumstances should a fixture be hung on house electrical wires, nor should a swag type fixture be installed on a ceiling which contains a radiant type heating system. Read instructions carefully, if you are unclear as to how to proceed, consult a qualified electrician.
TOOLS AND MATERIALS:
- Light Bulb

- Safety Glasses

- Wire Stripper

- Step Ladder

- Phillips Screwdriver

- Flathead Screwdriver

- Wire Cutters

- Electrical Tape

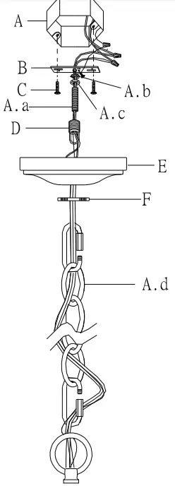
INSTALLATION (FIG. 1)

- Fasten mounting strap (B) to outlet box (A) with two 8-32 screws (C).
- Thread hex nut (A.c) and washer (A.b) onto threaded tubing (A.a).
- Thread one end of threaded tubing (A.a) into loop (D)
- Thread other end of threaded tube (A.a) into mounting strap (B).
- Slip canopy (E) over loop (D) and adjust height of loop so half of the threaded area on the loop is exposed. After loop height is adjusted, tighten hex nut (A.c) and washer (A.b) up against mounting strap, to lock threaded tubing in position.
- Taking the chain, determine the length you require to hang the fixture.
- Attach one end of the chain (A.d) to the top loop of the fixture.
- Now slip loop collar (F) and canopy (E) onto chain.
- Attach other end of chain to loop (D). Request assistance for this step since fixture may be heavy and difficult to hold while attaching the chain.
- Unwrap supply wire and ground wire and weave them up through the chain.
- Slip supply wire and ground wire through center of loop (A.a).
- Connect ground wire to mounting strap (B) using green ground screw.
- Connect lead supply wire (typically black or the red of the two-conductor cord) to lead fixture wire (typically black or the smooth, marked side of the two-conductor cord) with appropriately sized twist on connector.
- Connect neutral supply wire (typically white of the two conductor cord) to neutral fixture wire (typically white or the ridged, unmarked side of the two-conductor cord) with appropriately sized twist on connector.
- After wires are connected, tuck them carefully inside outlet box. Slip canopy up firmly against the ceiling and secure by turning the threaded collar (F) on loop (D) until tight.
INSTALLATION (FIG. 2)

- Install light bulbs (not provided). Please do not exceed the maximum wattage capacity recommended on the socket (I). We recommend the use of a clear light bulb.
- Put the metal shade (J) over the glass shade (K) and then put the glass shace (K) on the socket cup (H) and secure with thumb screw (G).

















