BANTE DDS-12DW Benchtop Conductivity Meter
Introduction
Thank you for selecting the DDS-12DW benchtop conductivity meter. This user manual provides a step-by-step guide to help you operate the meter, please carefully read the following instructions before use. Any use outside of these instructions may invalidate your warranty and cause permanent damage to the meter.
Environmental Conditions
Before unpacking, ensure that current environmental conditions meet the following requirements.
- Relative humidity is less than 80%
- Ambient temperature between 0° C (32° F) and 50° C (122° F)
- No potential electromagnetic interference
- No corrosive gas exists
Packing List
The following list describes all components of the meter. If any items are missing or damaged, contact the supplier immediately.
- DDS-12DW meter.
- Electrode arm
- 9V DC power adapter
- CON-1 conductivity electrode
- TP-10K temperature probe
- Conductivity standard solutions 84 µ S/cm, 1413 µ S/cm, 12.88 mS/cm
Meter Overview
- Sensor connections
- Base plate of electrode arm
- Display
- Membrane keypad
Connectors
- Socket for conductivity electrode (6-pin mini DIN)
- Socket for temperature probe (3.5 mm jack)
- Socket for power adapter
Display
Keypad
Function
- Switch the meter on or off
- Lock or unlock the measurement
- Exit the calibration, settings and return to the measurement mode
- Start calibration
- Press and hold the key to enter the setup menu
- Set the temperature
- Increase value or scroll up through a list of options
- Decrease value or scroll down through a list of options
- Confirm the calibration or displayed option
Installing the Electrode Holder
Take out the electrode arm from the accessory box. The base plate of electrode arm has a circular hole, the electrode arm has a connecting rod. Insert the connecting rod into the circular hole and swivel the electrode arm 90 degrees. The electrode holder is now ready to swing into desired position.
Adjusting the Electrode Arm
After installation, if the electrode arm automatically rises or falls, you are able to adjust the screw until arm locate at any position.
- Remove the plastic cover from the right side of the electrode arm.

- Use the screwdriver to tighten the screw moderately.
- Insert the plastic cover to the previous position.
Connection
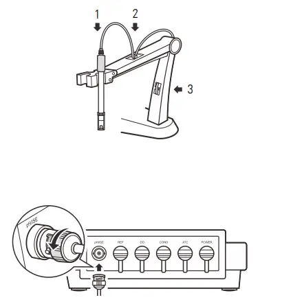
Connecting the pH Electrode
- Take out the electrode from the packaging. Follow the steps below to place the electrode into the left or right side of the electrode arm.
- Insert BNC connector into the connector socket labeled pH/ISE.
- After the connection is completed, DO NOT pull on the cable. Always make sure that the connector is clean and dry.
Connecting the Temperature Probe
- Place the temperature probe into the circular hole located at the center of the electrode arm.
- Insert the jack plug to the connector socket labeled ATC. Ensure the connector is fully seated.
Prior to Use
Soak the conductivity electrode for about 10 minutes in tap water to remove dirt and oil stains on the sensor surface.
Switching the Meter On and Off
- Press the Meas key for about 3 seconds and release it to switch on the meter.
- Press and hold the Meas key to switch off the meter.
Meter Setup
The 12DW meter contains an integrated setup menu for customizing the displayed option to meet measurement requirements. The following table describes the functions of each menu item.
- Cell Constant Set the cell constant to match connected conductivity electrode.
- K = 0.1
- K = 1 (default)
- K = 10
- Custom
- Calibration Points Set the number of calibration points.
- 1 point (default)
- 2 points
- 3 points
- Temperature Coefficient Set the temperature coefficient for linear temperature compensation.
- 0.0 to 9.9%/° C (default 2.1)
- Measurement Unit Set the default temperature unit.
- Degrees Celsius (default)
- Degrees Fahrenheit
- Auto-Hold If enabled, the meter will automatically sense and lock the measurement endpoint.
- Enable
- Disable (default)
- Auto-Power Off If enabled, the meter will automatically switch off if no key is pressed within 3 hours.
- Enable
- Disable (default)
- Factory Reset Reset the meter to factory default settings. Note, the meter must be recalibrated.
- Enable
- Disable (default)
Setting the Default Option
- In the measurement mode, press and hold the key to enter the setup menu.
- Press the up / down key to select an option, press the Enter key to confirm and switch to the next menu item.
- Repeat the steps above until the meter returns to the measurement mode.
To exit the setup menu without saving changes, press the Meas key.
Temperature Compensation
For better accuracy, we recommend the use of either a sensor with a built-in or a separate temperature probe. The meter will calculate the pH slope with measured temperature and show the temperature compensated readings.
Automatic Temperature Compensation
Connect the temperature probe to meter, the ATC icon appears on the display, the meter is now switched to the automatic temperature compensation mode. Refer to the Connecting the Temperature Probe section on page 3.
Manual Temperature Compensation
If the meter does not detect a temperature probe, the degrees Celsius icon (°C) will show on the display indicating the meter is switched to the manual temperature compensation mode. To set the temperature value follow the steps below.
- Press the °C key to enter the temperature setting.
- Press the up / doen key to modify the temperature value.
- Press the Enter key to save.
Selecting a Conductivity Electrode
The 12DW meter is capable of using three types of the conductivity electrodes. Before the calibration and measurement, ensure that you have selected a suitable electrode according to the anticipated sample conductivity. The following table lists the selectable electrode and its effective measurement ranges.
- Electrode Measurement Range Cell Constant
- CON-0.1 0.5 to 100 μ S/cm K = 0.1
- CON-1 10 μ S/cm to 20 mS/cm K = 1
- CON-10 100 μ S/cm to 200 mS/cm K = 10
Conductivity Calibration
Automatic Calibration
The 12DW meter allows 1 to 3 points conductivity calibration. Before calibration, ensure that selected cell constant (K = 0.1, 1, 10) matches connected electrode. If you have selected the manual calibration ( ), the meter will wait to enter a cell constant.
For better accuracy, we recommend to perform 3 points calibration or select a standard solution closest to the sample conductivity you are measuring. The meter will automatically detect the standard solution and prompt the user to perform the calibration. The following table shows the default standard solution for each measurement range
- Measurement Range Default Standard Solution
- 0 to 20 μ S/cm 10 μ S/cm
- 20 to 200 μ S/cm 84 μ S/cm
- 200 to 2000 μ S/cm 1413 μ S/cm
- 2 to 20 mS/cm 12.88 mS/cm
- 20 to 200 mS/cm 111.8 mS/cm
If you have changed the conductivity electrode, the meter must be recalibrated. Every electrode has a different cell constant.
Single Point Calibration
Ensure that you have selected 1 point calibration in the setup menu.
- press the Cal key, the display shows —-/CAL1, the meter waits for recognizing the standard solution.
- Rinse the conductivity electrode with distilled water, then rinse with a small amount of standard solution.
- Place the electrode (and temperature probe) into the standard solution, stir gently to remove air bubbles trapped in the slot of the sensor.
The meter will automatically show the calibration standard (e.g., 1413 µ S/cm).
- Press the Enter key, the default calibration value begins flashing.
- If necessary, press the / key to modify the calibration value, press the Enter key to confirm and move to the next digit. When the setting is completed, make sure that the displayed value matches the calibration standard.
- Press the Enter key, the Calibration icon begins flashing. When the reading has stabilized, the meter will show and return to the measurement mode.

Multipoint Calibration
Ensure that you have selected 2 or 3 points calibration in the setup menu
- When the first calibration point is completed, the display will show —-/CAL2. The meter prompts you to continue with second point calibration.
- Repeat steps 1.2 through 1.4 above until the meter shows . Calibration is completed.
Manual Calibration
- Press and hold the key to enter the setup menu.
- Press the / key until the display shows / . 3.3 Press the Enter key, the default value begins flashing.
- Press the / key to set the cell constant, press the Enter key to confirm until the setting values stop flashing.
- Press the Meas key to return to the measurement mode.
Temperature Calibration
The meter is supplied with a temperature probe for measurement and temperature compensation. If the measured temperature reading differs from that of an accurate thermometer, the probe needs to be calibrated.
- Connect the temperature probe to the meter and place into a solution with a known accurate temperature.
- Press the °C key to enter the temperature setting.
- Press the / key to modify the temperature value.
- Press the Enter key to save.
Measurement
- Rinse the conductivity electrode with distilled water. Place the electrode (and temperature probe) into the sample solution and stir gently. Ensure that no air bubbles on the sensor surface.
- If the Auto-Hold option in the setup menu is enabled, the meter will automatically sense a stable reading and lock measurement, the icon appears on the display. Press the Meas key to resume measuring.
- If the option is disabled, the meter will continuously measure and update the readings.
- Wait for the measurement to stabilize and record the reading.
- When all of the samples have been measured, rinse the electrode with distilled water.

If the meter shows —- indicating the measurement exceeds the range, replace a conductivity electrode that is appropriate for the conductivity range of the sample solution you are measuring.
Electrode Maintenance
- Rinse the conductivity electrode thoroughly with distilled water after use.
- Do not touch the platinum black coating on the sensor surface and always keep it clean.
- If there is a build-up of solids inside the sensor, remove carefully, then recalibrate the electrode.
- If you do not use the electrode for long periods, wipe clean with a lint-free tissue and store the electrode in a dry and cool area.
- If your electrode is model CON-10, store the electrode with tap water. This sensor needs to be kept wet always.
Appendix
Preparation of Conductivity Standard Solutions
- Place the analytical grade potassium chloride (KCl) in a beaker and dry in an oven for about 3 hours at 105° C (221° F), then cool to room temperature.
- Add the reagent to a 1 liter volumetric flask according to the instructions in table below.
- Conductivity Standard Reagent Weight
- 84 μ S/cm KCl 42.35 mg
- 1413 μ S/cm KCl 745.5 mg
- 12.88 mS/cm KCl 7.45 g
- 111.8 mS/cm KCl 74.5 g
- Fill the distilled water to the mark, mix the solution until the reagent is completely dissolved.
Calculating the Cell Constant
- Refer to the Manual Calibration section to set the cell constant to 1.00.
- Place the electrode into a standard solution and record the reading.
- Calculate the cell constant using the following formula.
Calculating the Temperature Coefficient
- Do not connect the temperature probe to the meter.
- Press and hold the °C key to enter the temperature setting.
- Press the / key to set the temperature to 25° C and press the Enter key to confirm.
- Place the conductivity electrode into the sample solution, record the temperature value TA and conductivity value CTA.
- Condition the sample solution and electrode to a temperature TB that is about 5 to 10° C different from TA. Record the conductivity value CTB.
- Calculate the temperature coefficient using the formula below.
Where:
- TC = Temperature coefficient
- CTA = Conductivity at temperature A
- CTB = Conductivity at temperature B
- TA = Temperature A
- TB = Temperature B.
Optional Accessories
- Conductivity Electrodes
- Order Code Description
- CON-0.1 For measuring the pure water
- CON-1 For general purpose applications
- CON-10 For measuring the high conductivity liquids
Temperature Probe
- Order Code Description
- TP-10K 3.5 mm jack plug, 1 m (3.3 ft) cable
Solutions
- Order Code Description
- ECCS-84 Conductivity standard solution 84 μ S/cm, 480 ml
- ECCS-1413 Conductivity standard solution 1413 μ S/cm, 480 ml
- ECCS-1288 Conductivity standard solution 12.88 mS/cm, 480 ml
- ECCS-1118 Conductivity standard solution 111.8 mS/cm, 480 ml
Power Supply
- Order Code Description
- DCPA-9V 9V DC power adapter, european standard plug
Meter Specifications
- Model Bante 510
Conductivity
- Range 0.01 μ S/cm to 200.0 mS/cm
- Resolution 0.001, 0.01, 0.1, 1
- Accuracy ± 1% F.S.
- Calibration Points 1 to 3 points
- Calibration Solutions
- 10 μ S/cm, 84 μ S/cm, 1413 μ S/cm,
- 12.88 mS/cm, 111.8 mS/cm
Temperature Compensation
- 0 to 100° C (32 to 212° F), manual or
automatic
- Temperature Coefficient 0.0 to 9.9%/° C
- Reference Temperature 25° C
- Cell Constant K = 0.1, 1, 10 or custom
Temperature
- Range 0 to 105° C (32 to 221° F)
- Resolution 0.1° C (0.1° F)
- Accuracy ± 1° C (± 1.8° F)
- Calibration Point 1 point
Other Specifications
- Operating Temperature 0 to 50° C (32 to 122° F)
- Storage Temperature 0 to 60° C (32 to 140° F)
- Relative Humidity < 80% (non-condensing)
- Display LCD, 135 × 75 mm (5.3 × 2.9 in.)
- Power Requirements 9V/400mA DC power adapter
- Auto-Off 3 hours after last key pressed
Dimensions
- 210 (L) × 205 (W) × 75 (H) mm,
- (8.2 × 8.0 × 2.9 in.)
- Weight 1.5 kg (3.3 lb)
Troubleshooting
Fault Cause and Corrective Action
Electrode dried out. Soak the electrode in 3M KCl solution at least 30 minutes. Measurement exceeded the maximum range. Check the electrode and sample.
Drifting erratic readings Check whether the electrode is contaminated, clogged or broken.
ERR pH buffer problem. Use a freshly prepared buffer solution to calibrate the meter. The electrode has expired. Replace pH electrode
Disposal
This product is required to comply with the European Union’s Waste Electrical and Electronic Equipment (WEEE) Directive 2002/96/EC and may not be disposed of in domestic waste. Please dispose of the product in accordance with local regulations at the collecting point specified for electrical and electronic equipment.
Warranty
The warranty period for the meter is one year from the date of shipment. The above warranty does not cover the electrode and pH buffer solutions. Out of warranty products will be repaired on a charged basis. The warranty on your meter shall not apply to defects resulting from:
- Improper or inadequate maintenance by the customer
- Unauthorized modification or misuse
- Operation outside of the environmental specifications of the products.
For more information, please contact the supplier.
Office: 4715 Castlewood St., Sugar land, TX 77479, USA
Tel: (+1) 346-762-7358
E-mail: [email protected]
Factory: F3, Building 2, No.2185, Laifang Rd., Shanghai 201615, China Tel: (+86) 21-6404-1598
E-mail: [email protected]





























