elcometer E138-CM 138 Conductivity Meter User Guide
OVERVIEW
Incorporating a flat sensor, the Elcometer 138 Conductivity Meter enables accurate measurement of the conductivity of a solution from a single drop of the sample.
The Elcometer 138 Conductivity Meter can be used in accordance with the following two test methods:
- ISO 8502-6 /1508502-9
- US NAVY PPI 63101-000 (Rev 27)
It can also be used in accordance with ISO 8502-11; AS 3894.6-A and SSPC Guide 15.
For IMO PSPCa, the surface salts should be measured and recorded. The Elcometer 138 Conductivity Meter can be used for this.
BOX CONTENTS
- Elcometer 138 Conductivity Meter & Sensor
- Conditioning Solution; 14ml (0.47 fl oz)
- Calibration Solution 1413p5/cm; 14ml (0.47 fl oz)
- CR2032 Lithium Batteries; X2 (supplied fitted to the Elcometer 138)
- User Guide
Note: The Elcometer 138 Conductivity Meter measures aqueous solutions. The meter is NOT designed to measure solids, organic solvents, surfactant, oil, adhesive, alcohol, strong acids (pH: 0 to 2) or strong alkalis (pH: 12 to 14). The life of the sensor will be extremely short if these substances are measured.
* International Maritime Organisation, Performance Standard for Protective Coatings.
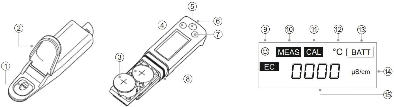
THE CONTROLS & DISPLAY
The Elcometer 138 Conductivity Meter is operated using 3 buttons and displays readings and other information on the LCD screen.
| ELCOMETER 138 CONDUCTIVITY METER OVERVIEW | ||
| 1 | Measurement Cell | Place a liquid sample in this cell to measure it with the electrode located on the bottom of the cell. |
| 2 | Protection Cover | Protects the measurement cell and flat sensor in storage. |
| 3 | Lithium Batteries | CR2032 x 2 |
| 4 | MEAS Button | Sets the measurement mode (EC). View the ambient temperature measured with the internal temperature sensor (to be used as a guide only). Switches from calibration mode to measurement mode. |
| 5 | ON/OFF Button | Turns the meter On / Off. |
| 6 | Strap Eyelet | A strap can be attached here. |
| 7 | CAL Button | Starts calibration procedure. |
| 8 | Waterproof Gasket | Makes the meter waterproof. |
| DISPLAY INDICATORS | ||
| 9 | Stability Icon | Illuminates when measured value is stabilised. |
| 10 | MEAS Icon | Illuminates when in measurement mode. |
| 11 | CAL Icon | Flashes during calibration and illuminates steadily when calibration is finished. |
| 12 | Temperature Alarm Icon | Flashes when the ambient temperature does not meet the specified operating temperature of 5°C to 40°C (41°F to 105°F). |
| 13 | Battery Alarm Icon | Illuminates when the batteries are low and need to be replaced. |
| 14 | Measurement Units | The default setting is pS/cm |
| 15 | Measured Value | Displays the measured conductivity of the sample |
USING THE ELCOMETER 138 CONDUCTIVITY METER
CAUTION
- The sensor is a consumable part. If it becomes damaged or its performance deteriorates, it will need to be replaced – see Section 8 ‘Spares & Accessories’ on page en-13.
- Do not drop the meter.
- Never apply undue force when opening the meter (to change the batteries or sensor).
- Do not exert undue force on the sensor.
- Do not allow utensils (tweezers, pipette, etc) to touch sensor cell.
- Do not measure samples hotter than 40°C (105°F)
- Do not allow contact with solvents.
- Do not subject the meter to high temperature or humidity.
- Although the product is waterproof, avoid immersing it completely. If the meter is accidentally dropped in water, take it out and remove the moisture.
- To ensure the meter is waterproof check that the waterproof gasket is clean, not damaged, seated properly in the groove and is not twisted or warped.
FITTING AND REPLACING THE BATTERIES
The Elcometer 138 ConductivityMeter uses dry cell batteries only and is supplied with two CR2032 lithium batteries fitted with an isolation strip. Remove the isolation strip before first use.
To fit or replace the batteries:
- Place batteries in the battery clips ensuring correct polarity.
- To reassemble the meter, slide the sensor onto the body of the meter and push the body and sensor together gently until sensor retaining clip engages.
When the battery voltage becomes low, the low battery warning indicator will flash. Replace both batteries immediately.
Note: Lithium batteries must be disposed of carefully to avoid environmental contamination. Please consult your local Environmental Authority for information on disposal in your region. Do not dispose of any batteries in fire.
ATTACHING & DETACHING THE SENSOR
Ensure the meter is turned OFF before attaching / detaching the sensor. If the meter is turned ON with the sensor detached, the battery alarm may illuminate. In this case, turn the meter OFF and attach the sensor, and then turn the meter ON again.
Attaching the sensor:

- Ensure that the waterproof gasket is clean and undamaged.
- Slide the sensor across the meter so the clip (A) fits into the hole on the sensor tongue (a), as shown.
Note: Ensure that the waterproof gasket is lying flat and not twisted.
Detaching the sensor:

- Lift the sensor tongue tip and slide the sensor slightly away from the meter.
- The sensor can now be completely removed from the meter.
When removing the sensor, do not let any water penetrate the inside of the meter. If some moisture remains on the waterproof gasket, very carefully wipe the moisture off.
Correct procedure for closing meter after removal of the sensor:
Ensure that the sensor tongue is outside the meter case. If the tongue is inserted between the case and the connector of the meter, it may damage the connector.
The sensor is a consumable part. If it becomes damaged or its performance deteriorates, it will need to be replaced.
Description
Replacement Sensor
Part Number
T13830628
ELECTRODE SURFACE TREATMENT PROCEDURE
When using the sensor for the first time or again after several weeks of disuse, perform the electrode surface treatment procedure as follows:
- Put some drops of the conditioning solution into the measurement cell.
- Leave for approximately 10 minutes.
- Clean the measurement cell with running water.
- Wash the measurement cell with standard solution.
- Perform the calibration procedure, see Section 4.5 on page en-8.
CALIBRATING THE ELCOMETER 138
When using the sensor for the first time or again after several weeks of disuse, perform the electrode surface treatment procedure, see Section 4.4 on page en-7:
- Press the ON/OFF button to switch the meter on.
- Press the CAL button until CAL appears on the display.
- Open the protection cover and place an appropriate amount of the standard 1413pS/cm solution supplied, see Section 8 ‘Spares & Accessories on page en-13, into the measurement cell avoiding the inclusion of bubbles. Washing the sensor with standard solution beforehand may provide more accurate calibration.
- Bubbles in the solution may cause the measurement to be inaccurate.

- Bubbles in the solution may cause the measurement to be inaccurate.
- Close the protection cover and press the CAL button for over 2 seconds. and
flash and the calibration value is displayed. After the calibration is coreted, CAL and
stop flashing and illuminate steadily.- If MI- continues to flash and the ‘Err’ (error message) is displayed, the calibration has failed. Check that the standard solution conductivity is correct and perform the calibration procedure again after thoroughly cleaning the sensor. If the calibration failed whilst using the correct standard solution, the sensor may be damaged and should be replaced, see Section 4.3 on page en-7.

- If MI- continues to flash and the ‘Err’ (error message) is displayed, the calibration has failed. Check that the standard solution conductivity is correct and perform the calibration procedure again after thoroughly cleaning the sensor. If the calibration failed whilst using the correct standard solution, the sensor may be damaged and should be replaced, see Section 4.3 on page en-7.
- Clean the sensor with tap water and remove moisture.
- Press the MEAS button for 0.5 seconds to enter the measurement mode and prepare for measurement.

TAKING A READING
BEFORE YOU START
- Press the ON/OFF button to switch the meter on.
- Open the protection cover.
SAMPLING METHODS
The following sampling methods are available:
- Drop: for a small amount of sample – this is the preferred method for these tests.
- Immersion: for a large amount sample.
- Scooping: for sampling part of a sample.
When using the Drop sampling method:

- Put a few drops of the sample into the measurement call avoiding the inclusion of bubbles.
- Bubbles in the solution may cause the measurement to be inaccurate.
- Close the protection cover.
- Ambient air may cause the measurement values to fluctuate. To reduce environmental interference, close the protection cover.
- Read the value displayed when
appears.
illuminates when measured value is stabilised.
Note: If a measurement result is out of the specified measurement range, the displayed measured value flashes.
When using the Immersion sampling method:

- Immerse the sensor into the sample and stir gently 2 or 3 times.
- Read the value displayed when
appears.
illuminates when measured value is stabilised.
Note: If a measurement result is out of the specified measurement range, the displayed measured value flashes.
Note: Although this product is waterproof, avoid immersing it completely. If the product is accidentally dropped into water, take it out of the water and remove the moisture from the instrument.
When using the Scooping sampling method:

- Immerse the sensor into the sample, stir gently 2 or 3 times and then scoop up some of the sample with the sensor.
- Place the meter flat and confirm that the sample is in the measurement cell.
- Close the protection cover.
- Ambient air may cause the measurement values to fluctuate. To reduce environmental interference, close the protection cover.
- Read the value displayed when
appears.
illuminates when measured value is stabilised.
Note: If a measurement result is out of the specified measurement range, the displayed measured value flashes.
Note: Although this product is waterproof, avoid immersing it completely. If the product is accidentally dropped into water, take it out of the water and remove the moisture from the instrument
AFTER MEASUREMENT
- Press the ON/OFF button to switch the meter off.
- Wash the sensor with tap water and wipe away any residual water using a clean tissue.
- Replace the sensor protection cap.
Note: If the meter is to remain unused for a long period of time, use pure water instead of tap water to wash the sensor.
CARE & MAINTENANCE
The Elcometer 138 Conductivity Meter is designed to give many years reliable service under normal operating conditions.
- Prolonged periods of non-use may cause the sensor to dry out. This can result in malfunction or unstable readings. Pour conditioning solution into the sensor cell and leave for a few minutes to allow the sensor to become saturated. Wash the sensor with water prior to use.
- If the measuring surface of the sensor is contaminated or if air bubbles are regularly present in the sample, clean the sensor using a diluted neutral detergent (diluted 100 times).
- The Elcometer 138 Conductivity Meter incorporates a Liquid Crystal Display. If the display is heated above 50°C (120°F) it may be damaged. This can happen if the meter is left in a car parked in strong sunlight.
The Elcometer 138 Conductivity Meter does not contain any user-serviceable components. In the unlikely event of a fault, the meter should be returned to your local Elcometer supplier or directly to Elcometer Limited – contact details can be found on our website, www.elcometer.com. The warranty will be invalidated if the instrument has been opened.
TECHNICAL SPECIFICATION
| Measurement Principle | 2 Electrode Bioplar AC |
| Measurement Mode | Conductivity, Temperature |
| Minimum Sample Volume | 0.12m1 |
| Measurement Range | 0 – 19.99mS/cm |
| Resolution | 0 – 1999pS/cm : 1pS/cm 2.00 – 19.99mS/cm : 0.01mS/cm |
| Accuracy | ±2% of full scale (for each range) |
| Operating Temperature | 5°C to 40°C (41°F to 105°F) |
| Operating Humidity | 85% or less relative humidity (no condensation) |
| Battery Type | 2 x CR2032 lithium |
| Battery Life | Approximately 200 hours continuous use without backlight |
| Dimensions | 164 x 29 x 20mm (6.5 x 1.1 x 0.79″) |
| Weight | 50g (1.76 oz) – including sensor and batteries |
SPARES & ACCESSORIES
Description
Replacement Sensor for Elcometer 138 ConductivityMeter
Standard 1413pS/cm Calibration Solution: 250m1 (8.45fl oz) Bottle
Part Number
T13830628
T13830629-2
A Material Safety Data Sheet for the Elcometer 138 Standard 1413pS/cm Calibration Solution is available to download via our website: https://downloads.elcometer.com/MSDS/Elcometer_138_1413uScm_Calibration_Solution.pdf
LEGAL NOTICES & REGULATORY INFORMATION
Declaration of Conformity: This product complies with the requirements of the following EU Directives:
2014/30/EU Electromagnetic Compatibility
2011/65/EU Restriction of the use of certain hazardous substances
The Declaration of Conformity is available to download via: https://downloads.elcometercom/Declaration_ofConformity/English/DoC_138.pdf
This product is Class B, Group 1 ISM equipment according to CISPR 11.
Class B product: Suitable for use in domestic establishments and in establishments directly connected to a low voltage power supply network which supplies buildings used for domestic purposes.
Group 1 ISM product: A product in which there is intentionally generated and/or used conductively coupled radio-frequency energy which is necessary for the intemal functioning of the equipment itself.
elcometec is a registered trademark of Elcometer Limited, Edge Lane, Manchester, M43 6BU. United Kingdom
All other trademarks acknowledged.
Please ensure that all packaging is disposed of in an environmentally sensitive manner. Consult your local Environmental Authority for further guidance.
CAUTION
If the standard solution used for calibration of the meter comes into contact with the skin, wash the skin with fresh water. If the standard solution comes into contact with eyes, immediately flush the eye with large amounts of fresh water and seek medical advice.

For the avoidance of doubt, please refer to the original English language version.
Dimensions: 164 x 29 x 20mm (6.5 x 1.1 x 0.79″)
Weight: 509 (1.76 oz) – including sensor and batteries
A Material Safety Data Sheet for the Elcometer 138 Standard 1413pS/cm Calibration Solution is available to download via our website: https://downloads.elcometer.corrt/MSDS/Elcometer_138_1413uScm_Cabration_Solution.pdf
© Elcometer Limited 2019 – 2022. All rights reserved. No part of this document may be reproduced, transmitted, transcribed, stored (in a retrieval system or otherwise) or translated into any language, in any form or by any means (electronic, mechanical, magnetic, optical, manual or otherwise) without the prior written permission of Elcometer Limited.





















