
1. INTRODUCTION
Thank you for choosing the ES-2 Electrical Conductivity and Temperature Sensor from METER Group.
The ES-2 sensor measures in an irrigation pipe, a water body, or in a tank. A thermistor in thermal contact with the probe provides water temperature, while the screws on the surface of the sensor from a four-electrode array to measure electrical conductivity (EC). EC is useful for measuring salinity levels or quality of irrigation water.
Prior to use, verify the ES-2 arrived in good condition.
2. OPERATION
Please read all instructions before operating the ES-2 to ensure it performs to its full potential.
PRECAUTIONS
METER sensors are built to the highest standards, but misuse, improper protection, or improper installation may damage the sensor and possibly void the manufacturer’s warranty. Before integrating ES-2 into a system, follow the recommended installation instructions and have the proper protections in place to safeguard sensors from damage.
2.1 INSTALLATION
Follow the steps listed in Table 1 to set up the ES-2 and start collecting data.
Table 1 Installation
| Preparation | Determine Installation Type Decide if the ES-2 will take measurements in a pipe or water body.If the ES-2 will be installed in a pipe, obtain PVC glue. Conduct System Check Verify all sensors read within expected ranges. To validate both sensor and logger functionality, take a sensor measurement in air and water. |
| Pipe Installation | Connect ES-2 to pipe Apply PVC glue to the outside of the end cap, following manufacturer’s instructions. DO NOT apply glue to cap slots. Slide the ES-2 into a 1-in Tee socket pipe fitting, ensuring the alignment notch is in the direction of flow. Orient the sensor with the cable end facing down or to the side. This will allow air to escape from the sensing area.
Twist sensor into pipe fitting Allow for the appropriate curing time of the glue before installing pipe. |
| Water Body Installation | Suspend ES-2 in Water Body Suspend the sensor in the tank or water body. If this is not possible, make sure that the sensor is placed away from the sides of the tank or water body as much as possible. ![]() Sensor body suspended in water body |
| Connecting | Secure and protect Cables NOTE: Improperly protected cables can lead to severed cables or disconnected sensors. Cabling issues can be caused by many factors such as rodent damage, driving over sensor cables, tripping over cables, not leaving enough cable slack during installation, or poor sensor wiring connections. Install cables in conduit or plastic cladding when near the ground to avoid rodent damage. Gather and secure cables between the ES-2 and the data logger to the mounting mast in one or more places. Connect to Data Logger Use the data logger to make sure the sensor is reading properly. Verify that these readings are within expected ranges. For more instructions on connecting to data loggers, refer to Section 2.2. |
2.2 CONNECTING
The ES-2 works seamlessly with METER data loggers. The ES-2 can also be used with other data loggers, such as those from Campbell Scientific, Inc. For extensive directions on how to integrate the sensors into third-party loggers, refer to the ES-2 Integrator Guide.
ES-2 sensors require an excitation voltage in the range of 3.6 to 15.0 VDC and operate at a 3.6-VDC level for data communication. ES-2 can be integrated using DDI serial or SDI-12 protocol. See the ES-2 Integrator Guide for details on interfacing with data acquisition systems.
OPERATION
ES-2 sensors come with a 3.5-mm stereo plug connector (Figure 1) to facilitate easy connection with METER loggers. ES-2 sensors may be ordered with stripped and tinned wires to facilitate connecting to some third-party loggers (Section 2.2.2).

Figure 1 Stereo plug connector
- Ground
- Digital communication
- Power
The ES-2 comes standard with a 5-m cable. It may be purchased with custom cable lengths for an additional fee (on a per-meter basis). In some instances, the cable can be extended beyond 75 m by the user, but this is discouraged for a variety of reasons. Please contact Customer Support for more details before extending or splicing cables.
2.2.1 CONNECT TO METER DATA LOGGER
The ES-2 works most efficiently with METER ZENTRA series data loggers. Check the METER download webpage for the most recent data logger firmware. Logger configuration may be done using either ZENTRA Utility (desktop and mobile application) or ZENTRA Cloud (web-based application for cell-enabled data loggers).
- Plug the stereo plug connector into one of the sensor ports on the logger.
- Use the appropriate software application to configure the chosen logger port for the ES-2. METER data loggers will automatically recognize ES-2 sensors.
- Set the measurement interval.
METER data loggers measure the ES-2 every minute and return the average of the 1-min data across the chosen measurement interval.
ES-2 data can be downloaded from METER data loggers using either ZENTRA Utility or ZENTRA Cloud. Refer to the logger user manual for more information about these programs.
2.2.2 CONNECT TO A NON-METER DATA LOGGER
The ES-2 can be purchased for use with non-METER (third party) data loggers. Refer to the third-party logger manual for details on logger communications, power supply, and ground ports. The ES-2 Integrator Guide also provides detailed instructions on connecting sensors to non-METER loggers.
ES-2 sensors can be ordered with stripped and tinned (pigtail) wires for use with screw terminals. Refer to the third-party logger manual for details on wiring.
Connect the ES-2 wires to the data logger as illustrated in Figure 2 and Figure 3, with the power supply wire (brown) connected to the excitation, the digital out wire (orange) to a digital input, and the bare ground wire to ground.
ES-2

Figure 2 pigtail wiring
- Power (brown)
- Ground (bare)
- Digital communication (orange)
NOTE: Some early ES-2 units may have the older Decagon wiring scheme where the power supply is white, the digital out is red, and the bare wire is ground.

Figure 3 Wiring diagram
NOTE: The acceptable range of excitation voltages is from 3.6 to 15.0 VDC. To read the ES-2 with Campbell Scientific data loggers, power the sensors off a switched 12-V port.
If the ES-2 cable has a standard stereo plug connector and needs to be connected to a non-METER data logger, use one of the following two options.
Option 1
- Clip off the stereo plug connector on the sensor cable.
- Strip and tin the wires.
- Wire it directly into the data logger.
This option has the advantage of creating a direct connection and minimizes the chance of the sensor becoming unplugged. However, it then cannot be easily used in the future with a METER readout unit or data logger.
Option 2
Obtain an adapter cable from METER.
The adapter cable has a connector for the stereo plug connector on one end and three wires (or pigtail adapter) for connection to a data logger on the other end. The stripped and tinned adapter cable wires have the same termination as in Figure 3: the brown wire is excitation, the orange is output, and the bare wire is ground.
NOTE: Secure the stereo plug connector to the pigtail adapter connections using adhesive-lined heat shrink to ensure the sensor does not become disconnected during use.
2.3 COMMUNICATION
The SDI-12 protocol requires that all sensors have a unique address. ES-2 sensor factory default is an SDI-12 address of 0. To add more than one SDI-12 sensor to a bus, the sensor address can be changed using a ZSC Bluetooth® sensor interface and the ZENTRA Utility Mobile app as described below:
NOTE: The sensor SDI-12 address must be returned to 0 to work with ZENTRA loggers.
- Using a mobile device, open the ZENTRA Utility Mobile app.
- Connect the sensor to the ZSC.
- Under Sensor Information, select the SDI Address dropdown.
- Scroll through the options and select the desired SDI-12 address.
NOTE: Address options include 0-9, A-Z, and a-z.
The sensor address can also be changed using the PROCHECK handheld device.
- Using a PROCHECK connected to the sensor, press the Menu button to bring up the CONFIG menu.
NOTE: If the PROCHECK does not have this option, please upgrade its firmware to the latest version from the METER Legacy Handheld Devices webpage. - Scroll down to SDI-12 Address. Press Enter.
- Press the Up or DOWN arrows until the desired address is highlighted.
Address options include 0…9, A…Z, and a…z. - Press Enter.
Detailed information can also be found in the application note Setting SDI-12 addresses on METER digital sensors using Campbell Scientific data loggers and LoggerNet.
When using the sensor as part of an SDI-12 bus, excite the sensors continuously to avoid issues with initial sensor startup interfering with the SDI-12 communications.
3. SYSTEM
This section describes the specifications, components, and theory of the ES-2.
3.1 SPECIFICATIONS
MEASUREMENT SPECIFICATIONS
| Temperature | |
| Range | -40 to 60 °C |
| Resolution | 0.1 °C |
| Accuracy | ±1 °C |
| Bulk EC | |
| Range | 0 to 120 dS/m |
| Resolution | 0.001 dS/m |
| Accuracy | ±0.01 dS/m or ±10% (whichever is greater) |
COMMUNICATION SPECIFICATIONS
| Output |
| DDI serial or SDI-12 communication protocol |
| Data Logger Compatibility |
| METER ZL6 data loggers and any data acquisition system capable of 3.6- to 15-VDC power and serial or SDI-12 communication |
PHYSICAL SPECIFICATIONS
| Dimensions | |
| Length | 10.9 cm (4.30 in) |
| Width | 2.4 cm (0.95 in) |
| Thread | 1/2-in National Pipe Thread |
| Operating Temperature Range | |
| Minimum | -40 °C |
| Maximum | 60 °C |
| NOTE: Sensors may be used at higher temperatures under certain conditions; contact Customer Support for assistance. | |
| In-Line pipe Connector Type | |
| 1-in Tee socket pipe fitting | |
| Cable Length | |
| 5 m (standard) 75 m (maximum custom cable length)NOTE: Contact Customer Support if a nonstandard cable length is needed. | |
| Connector Types | |
| 3.5-mm stereo plug connector or stripped and tinned wires | |
ELECTRICAL AND TIMING CHARACTERISTICS
| Supply Voltage (VCC to GND) | |
| Minimum | 3.6 V |
| Typical | NA |
| Maximum | 15.0 V |
| Digital Input Voltage (logic high) | |
| Minimum | 2.8 V |
| Typical | 3.6 V |
| Maximum | 5.0 V |
| Digital Input Voltage (logic low) | |
| Minimum | -0.3 V |
| Typical | 0.0 V |
| Maximum | 0.8 V |
| Digital Output Voltage (logic high) | |
| Minimum | NA |
| Typical | 3.6 V |
| Maximum | NA |
| Power Line Slew Rate | |
| Minimum | 1.0 V/ms |
| Typical | NA |
| Maximum | NA |
| Current Drain (during measurement) | |
| Minimum | 20 mA |
| Typical | 20 mA |
| Maximum | 28 mA |
| Current Drain (while asleep) | |
| Minimum | NA |
| Typical | 0.03 mA |
| Maximum | NA |
| Power Up Time (DDI serial) | |
| Minimum | NA |
| Typical | NA |
| Maximum | 100 ms |
| Power Up Time (SDI-12) | |
| Minimum | 100 ms |
| Typical | 200 ms |
| Maximum | 250 ms |
| Power Up Time (SDI-12, DDI disabled) | |
| Minimum | NA |
| Typical | 125 ms |
| Maximum | NA |
| Measurement Duration | |
| Minimum | NA |
| Typical | 25 ms |
| Maximum | 50 ms |
| COMPLIANCE | |
| Manufactured under ISO 9001:2015 | |
| EM ISO/IEC 17050:2010 (CE Mark) | |
SYSTEM
3.2 COMPONENTS
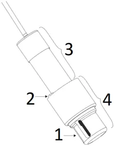
Thes ES-2 uses four stainless steel electrodes for its conductivity measurement, which is less sensitive to contamination than a two electrode sensor (Figure 4). A thermistor in contact with the probe provides water temperature. A protective cap helps protect the electrodes from damage and contamination. The alignment notch helps ensure proper placement of the end cap to the sensor body as well as the placement of the sensor in a pipe installation flow.

Figure 4 ES-2 sensor
- Cap slots
- Alignment notch
- Sensor body
- Protective cap
3.3 THEORY
The following sections explain the theory of temperature and electrical conductivity.
3.3.1 TEMPERATURE
A thermistor near the electrical conductivity (EC) sensor senses the temperature of the water. The sensor uses this temperature to adjust the EC measurements to their 25 C value, and provides the temperature output for the data stream.
3.3.2 ELECTRICAL CONDUCTIVITY
EC is useful for measuring the concentration of salts in water and also gives information about dissolved solids. EC is measured by applying an alternating electrical current to two electrodes, measuring voltage drop with a separate set of electrodes. Then measuring the current flow through those electrodes and measuring the current with a separate set of electrodes. The conductance is the ratio of current to voltage. Conductivity is conductance multiplied by a cell constant based on common conductivity standards. It is important to realize that a four electrode sensor gives unpredictable readings in air because there is no connection between the voltage and current electrodes.
ES-2 sensor bulk EC measurements are corrected to EC at 25 °C:
EC25 =ECT/[1+0.019(T-25)]
Equation 1
where EC25 is the normalized EC at 25 °C, ECT is the EC measured by the probe at temperature T, and T is the temperature at the time of measurement.
4. SERVICE
This section describes the calibration and maintenance of the ES-2. Troubleshooting solutions and customer service information are also provided.
4.1 CALIBRATION
METER calibrates EC sensors at the factory using potassium chloride (KCl) solutions of known concentration and calibration values are stored internally in flash memory.
Table 2 relates EC at 25 °C to concentration for various concentrations of KCl. Operators can verify ES-2 performance using these solutions. The ES-2 internally corrects output value to 25 °C.
Table 2 EC of KCl solutions for testing ES-2 calibrations
| Electrical Conductivity (µS/cm) | KCl (g/kg of distilled water) |
| 100 | 0.0446 |
| 200 | 0.0930 |
| 500 | 0.2456 |
| 1,000 | 0.5120 |
| 2,000 | 1.0673 |
| 5,000 | 2.8186 |
| 10,000 | 5.8758 |
| 20,000 | 12.2490 |
4.2 MAINTENANCE
Replacement parts can also be ordered from METER. Contact Customer Support for more information.
Use the following steps to clean the ES-2.
- Remove protective cap.
- Using a sponge and dish soap, scrub the screws until clean.
NOTE: Do not touch the screws without gloves or allow any contact with oil or other nonconducting residue. - Clean the cap, if needed.
- Rinse the sensor and cap thoroughly with tap or DI water.
- Replace cap.
4.3 TROUBLESHOOTING
Table 3 lists common problems and their solutions. If the problem is not listed or these solutions do not solve the issue, contact Customer Support.
Table 3 Troubleshooting the ES-2
| Problem | Possible Solutions |
| Data logger is not recognizing sensor | If using a METER logger, update logger firmware. Check the logger configuration for a non-METER data logger using its user manual. Check power to the sensor. |
| Data logger is not receiving readings from the sensor | Check that the connections to the data logger are both correct and secure. Ensure that data logger batteries are not dead or weak. Check configuration of data logger through software to ensure the ES-2 is selected. Ensure the software and firmware is up to date. |
| Sensor is not responding | Check the sensor was installed correctly. Check the pressure transducer tube to ensure that it is not clogged or damaged. Check sensor cable and connector integrity. |
| Cable or connector failure | If a stereo plug connector is damaged or needs to be replaced, contact Customer Support for a replacement connector and splice kit. |
4.4 CUSTOMER SUPPORT
NORTH AMERICA
Customer service representatives are available for questions, problems, or feedback Monday through Friday, 7:00 am to 5:00 pm Pacific time.
Email:
[email protected]
[email protected]
Phone: +1.509.332.5600
Fax: +1.509.332.5158
Website: metergroup.com
EUROPE
Customer service representatives are available for questions, problems, or feedback Monday through Friday, 8:00 to 17:00 Central European time.
Email:
[email protected]
[email protected]
Phone: +49 89 12 66 52 0
Fax: +49 89 12 66 52 20
Website: metergroup.de
If contacting METER by email, please include the following information:
Name Email address
Address Instrument serial number
Phone Description of the problem
NOTE: For products purchased through a distributor, please contact the distributor directly for assistance.
4.5 TERMS AND CONDITIONS
By using METER instruments and documentation, you agree to abide by the METER Group, Inc. USA Terms and Conditions. Please refer to metergroup.com/terms-conditions for details.




















