Elesa DD51-E Electronic Digital Position Indicator Instruction Manual
Safety Instructions
The product has been designed and manufactured in accordance with the current regulations. The product leaves the factory ready for use and complies with the safety standards.
To maintain the product in this state, it is necessary that it is assembled and used properly, in the closest compliance with this instruction manual and with the following specific safety precautions.
Ensure that the user has read and understood the instruction manual and in particular the chapter “Safety Instructions”.
In addition to the instruction manual, all the rules of law must be observed, in regard to accident prevention and environmental protection.
This manual is intended as an indispensable supplement to the existing documentation (catalogues, data sheets and assembly instructions).
The use without complying with the descriptions / specific parameters, in combination with systems / machines / processes to be controlled, it can lead to a malfunction of the product, causing:
- health hazards,
- environmental hazards,
- damage to the product and its proper functionality
The device must not be used:
- in explosion hazard areas;
- in medical/life support areas and equipment.
Do not open the equipment and do not apply any modifications! Modifying the equipment might have a negative impact on reliability of the device and might result in danger! Do not attempt any repairs, but return any defective equipment to the manufacturer! Any violation of the integrity of the device as delivered will null the warranty.
Setup / Commissioning
In case of any abnormal behaviour (including change in operating conditions), the device must be switched off immediately. It is imperative to switch off power supply during any installation work at the equipment. Installation and commissioning by correspondingly trained and authorised staff only. After correct mounting and commissioning the device is ready for operation.
Maintenance / Repair
Switch off the power supply of the equipment before any action.
Maintenance should be performed by trained and authorised persons only.
Do not open nor modify the case of the indicator.
Tampering with this product may endanger the correctness and accuracy of its operation.
In case of malfunction, do not attempt any repairs to the units and contact Elesa sales office.
Release Informations
Even if almost all the functionalities are the same as in the previous releases, the maual refer to devices with release higher than 5.01.00 (see cap. 8.6.3).
NOTE: This equipment has been tested and found to comply with the limits for a Class A digital device, pursuant to part 15 of the FCC Rules. These limits are designed to provide reasonable protection against harmful interference when the equipment is operated in a commercial environment. This equipment generates, uses, and can radiate radio frequency energy and, if not installed and used in accordance with the instruction manual, may cause harmful interference to radio communications. Operation of this equipment in a residential area is likely to cause harmful interference in which case the user will be required to correct the interference at his own expense.
System description
DD51-E position indicators, with battery power supply, can be used on passing through shafts in any position to provide the reading of the absolute or incremental positioning of a machine component.
| Mechanical and electrical characteristics | |
| Power supply | Lithium battery CR2450 3.0 V |
| Battery life | Up to 5 years (3 years for RF version) |
| Display | 5-digit LCD of 8 mm height and special characters |
| Reading scale | -19999; 99999 |
| Number of decimal digits | programmable (1) |
| Unit of measure | mm, inches, degrees programmable (1) |
| Rotation max. speed | 300/600/1000 r.p.m. (2) programmable (1) |
| Precision | 10.000 impulses/revolution |
| Protection level | IP65 or IP67 |
| Working temperature | 0 °C ÷ +50 °C |
| Storage temperature | -20 °C ÷ +60 °C |
| Relative humidity | max. 95% a 25 °C without condensation |
| Environment | indoor use |
| Altitude | up to 2000 m |
| (1) See cap. 8.1 (2) Default: 600 r.p.m. | |
WARNINGS!
Higher rotation speeds to 600 r.p.m. can be maintained for short periods of time.
The value of the max speed affects the battery life.
Wireless devices network
DD51-E-RF is compatible with the Elesa’s wireless network that allow electronic meters and indicators to communicate via radio with a PLC.
The Elesa’s wireless network is made by the following components:
- One control unit UC-RF
- Max 36 electronic position indicators or meter as DD51-E-RF, DD52R-E-RF or MPI-R10-RF

The control unit UC-RF is provided with a standard interface for the most common industrial busses to be connected to the PLC and allows the transmission of the information between the PLC and the DD51-E-RF position indicators.
The UC-RF exchanges information with the DD51-E-RF via radio frequency and allows the setting of the target position and the control of the current position of each indicators, directly from the PLC.
WARNINGS! Check the UC-RF instruction for more detail regarding the configuration.
Assembly
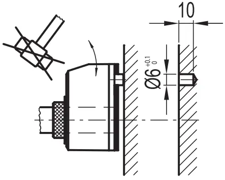
- Drill a Ø 6×10 mm hole in the body of the machine with a 22 mm centre distance from the shaft to fit the rear referring pin.
- Fit the indicator onto the shaft and make sure that the referring pin fits into the hole.
- Clamp the bushing to the shaft by tightening the grub screw with hexagon socket and cup end, according to UNI 5929-85.

Symbols on the display
- Relative mode indicator
- Low battey level indicator
- RF connection indicator
- Unit of measure (mm / inch)
- Unit of measure (degrees)
- Target position indications

Key function

WARNINGS!
The keys’ icons are conventionally shown with the default display rotation set to 180.
| Key | Operating mode | Programming mode |
| Keep pressed for 3 sec to enter the programming mode. When the target is active, pressing the key will show the actual position or the target position on the display accordance to the setting of the menu ____0 see cap. 7.5.2 | Parameter selection / Confirm of parameter change | |
| Select the: Absolute measuring mode Incremental measuring mode It is possible to choose one of the following options (see the __0__ voice of the menu – cap. 8.3):ArCLr [DEFAULT]: switching from ABS to REL the counter is set to zero. Ar: switching from ABS to REL the counter is not set to zero. OFF: the key is not assigned to any function in the operating mode. | Digit increase / programming mode exit | |
| Press the key to select the unit of measure needed.The options available are: mm, inch and degrees. It is possible to choose one of the following options (see the 0____ voice of the menu – cap. 8.3): ALL [DEFAULT]: selectable units of measure: mm, inch, D nodEG: selectable units of measure: mm, inch OFF: the key does not allow the unit of measure conversion | Scroll for parameters / digit selection | |
| Programmable with one of the following options (see the 0___0 voice of the menu – cap. 8.3): P_OrG [DEFAULT]: show and set the OriGin parameter P_StP: show and set the StEP parameter P_OFS: show and set the OFFS parameters OFF: the key combination is not assigned to any function in the operating mode. | N/A |
| Programmable with one of the following options (see the __0_0 voice of the menu – cap. 8.3): L_OrG [DEFAULT]: the key combination sets the absolute value to the sum of the parameters Origin and Offset. | N/A |
| To turn on the indicator, hold | N/A |
Turning on the system
After you have read and understood the section “Safety Instructions”, proceed by switching on the indicator.
To turn the indicator on hold
then pressing the key
.
The display will light up and the indicator will be ready to be used.
Turning off the system (only for storage)
To turn the system off enter the programming mode, select the rESEt parameter then press the key
. At this point, press the button
for 5 seconds; the display will turn off and the indicator will go into into sleep mode.
Operating mode
Absolute / incremental measuring mode selection
Press the key
to select the absolute or incremental measuring mode.
If the incremental measuring mode is selected, the symbol REL is show on the display
If the absolute measuring mode is selected no symbol is show on the display.
__0__
It is possible to change the key function chosing one of the available otions in the menu voice __0__
The available options are:
- ArCLr (default): passing from ABS to REL the counter is set to zero.
- Ar: passing from ABS to REL the counter is not set to zero. In this case, the counter is set to zero by pressing
+
. - OFF: the key
is disabled and does not allow changing the selected measuring mode.
To program the parameters listed above, see cap. 8.
Unit of measure selection
Press the key
to select the unit of measure needed.
The options available are millimeters, inches and degrees.
The measuring mode selected is shown on the display by the symbols:
– mm: millimeters – INCH: inches – D: degrees
0____
It is possible to change the key function chosing one of the available otions in the menu voice 0____
The available options are:
- ALL (default): units of measure that can be selected: mm, inch, degree
- nodEG: units of measure that can be selected: mm, inch
- OFF: the key is disabled and does not allow changing the selected measuring mode.
To program the parameters listed above, see cap. 8.
Setting the absolute reference
After having selected the absolute measuring mode and stopped the shaft in the starting position or in the reference position, press the key combination
+
to set the absolute value to the sum of the values of the parameters OrG (absolute value of reference) and the selected OFFS (compensation value).
The value of compensation (offset) allows you to adjust the value shown on the display in such a way that takes into account, for example the wear or tool change. The system allows you to store up to 10 values of compensation.
Pressing the key combination
+
, the screen will display the last compensation value used (eg OFS 0).
It’s possible to choose the desired compensation value by pressing the key
, and then press the key
to confirm.
The screen will display the absolute value equal to the sum of the values of the parameters ORG and OFFS.
To program the offset values, see parameter OFFS of cap. 8.
__0_0
It is possible to change the key function
chosing one of the available otions in the
menu voice __0_0
The available options are:
– L_OrG: the key combination
+
allow to choose an offset compensation and set the origin value;
– OFF: the keys combination
+
is not associated to any function in the operating mode.
To program the parameters listed above, see cap. 8.
Direct programming of the absolute reference value (origin) – of the compensation value (offset) – of the reading after one revolution (step)
The function of the keys combination
+
allows direct access to the programming of one of the following parameters: Origin, Step or Offset.
0___0
It is possible to change the key function chosing one of the available otions in the menu voice 0___0
The available options are:
- P_OrG: direct programming of the absolute reference value (OrG parameter)
- P_StP: direct programming of the reading after one revolution (StEP parameter)
- P_OFS: direct programming of the compensation value (OFFS parameter)
- OFF: the keys combination
+
is not linked to any function in the operating mode.
For programming the parameters listed above see parameter 0___0 of cap. 8.3.
Targets
DD51-E allow to set up to 32 target positions to store relevant machine configuration setting.
To program the targets:
- selet tArGE in the main menu (see cap. 8.3)
- select PrOGt (see cap. 8.4)
- select the wanted memory location (PtG01 to PtG32) using the keys

- press the key
to select. - follow the instruction in cap. 8.1 to set the wanted value.
To load a target:
- select tArGE in the main menu (see cap. 8.3)
- select LOAdt (see cap. 8.4)
- select the wanted target value (LtG01 to LtG32) using the keys

- press the key
to select. - The value of the selected target is shown.
- Press
again to confirm or press
to go back to the target selection list.
WARNINGS!
When a target is loaded the unit of mesure cannot be change.
Reaching the target position
When a target is selected the device will suggest the direction of rotation of the shaft to reach the target by means of the symbols
and ![]()
It is possible to set the tolerance of the target as absolute difference from the set value by means of the PtOLL parameter (see cap. 8)
The target position indicators will work, depending from the dir and PtOLL parameters, as in the following table:
T = set target
M = measured value
Toll = tolerance (see Ptoll)
| dir –o | dir o– | |
| M < T – Toll |
|
|
| T – Toll ≤ M < T | ||
| M = T | ||
| T < M ≤ T + Toll | ||
| M > T + Toll |
|
|
If a target is selected, is possible to cancel it entering in programming mode and selecting the StoPt option.
Target display mode
The menu voice ____0 (see cap. 8.3) allows the user to choose one of the target following modes listed below:
- dtArG (default): when a target is loaded, the display shows the actual absolute position and the indication to reach the target as explained before in cap. 7.5.1.
Pressing the key
the set target position is shown. - dtoGo: when a target is loaded, the display shows the distance to the set target and the indication to reach the target as explained before in cap. 7.5.1.
If the target is not reached, the display blinks. Pressing the key
the display shows the actual absolute position. - OFF: the key is not associated to any function in the operating mode.
Target tolerance
Set the value of Ptoll parameter to define the tollerance allowed for target (see cap. 8 for details).
RF version (DD51-E-RF)
Programming the network parameter (nEtid) and the channel parameter (nEtch)
The system radio network is defined by the following two parameters:
nEt id: id 00/99 (NetID = 03 is reserved and is not possible to be used)
nEt ch: ch 01/36
These parameters can be configured in the Radio menu of the indicator (see cap. 8) and must be set according to the PLC recipe to guarantee a perfect communication between UC-RF and DD51-E-RF.
Warning
For DD51R-E-RF with firmware release equal to 5.1 or higher, channel 1 is equivalent to channel 4 of the previous version. Consider it when used in old system with UC-RF with fw release lower than 5.1
Targets
Using DD51-E-RF, target positions can be sent from the PLC to the indicators through the control unit. When a target is set, the behaviour is the sameas decribed in cap. 7.5.
Programming mode
Press the key
for 3 seconds to enter the programming mode. Depending on the setting of PASS parameter(see cap. 8.6.4), the system may require you to enter a password.
Press the key
to scroll through the list of parameters and selct the wanted one pressing
.
Press the key
to exit the programming mode. The programming mode is automatically dropped after 30 seconds of inactivity.
Programming parameters with numeric values
Press the key
to increase the flashing digit.
Press the key
to select the next digit.
Press the key
to confirm the value and go back to the list of parameters.
The numeric values of the parameters must be inserted taking into account the selected unit of measure.
When a parameter is changed from its stored value, confirming it, the display will show the message CHAnG.
When exiting from the programming mode, the parameter are stored in the internal memory. If a parameter was changed, the display will show the message StorE
Device parameters (in alphabetic order)
| Parameter | Description | Available options | Standard value |
| dir | Measurement direction Set direction of the positive axis | –o counterclockwise rotation to increment the measure o– clockwise rotation to increment the measure | –o |
| diSP | Display orientation | 0° 180° | 180° |
| OFFS | Offset Value | See cap. 8.5 The system allows you to store up to 10 compensation values: OFS 0 … OFS 9 | 0 |
| OrG | Reference value displayed at the start point | See cap. 8.5 | 0.0 |
| Ptoll | Tolerance of target position | mm: 0.01 ÷ 9.99 inches: 0.001 ÷ 0.393 degrees: 0.01 ÷ 9.99 The parameter value depends on the unit of measure selected. | mm: 0.10 inches: 0.004 Degree:0.10 |
| Radio | Wireless transmission parameters | nEt id: id00 ÷ id99 nEt ch: ch01 ÷ ch36 | id00 ch01 |
| rES | The parameter allows defining the resolution of the measure | mm: 1; 0.1; 0.01 inches: 1; 0.1; 0.01; 0.001 degrees: 1; 0.1; 0.01 | mm: 0.1 inches: 0.01 degrees: 1 |
| SPEEd | Set the maximum speed in rpm that can be correctly read | 300; 600; 1000 | 600 |
| StEP | Reading after one revolution | 0.01; 100.00 | 001.00 |
| _ _ _ _ 0 “t_Sho” | Display visualization during target mode | d_toG0: during the positioning the display show the distance from the target. Press the key d_tArG: during the positioning the display show the present position, press the key | d_toG0 |
| tArGe | Target options | See cap. 8.5 | 0.0 |
* See key definition 7


* Displayed only if a target position is setted
Parameter value
The parameter value depends on the unit of measure and resolution set.
The value may change according to the resolutions of mm and inch.
Es.
If rES mm = 1 and res inch = 0.01
The max parameter in mm is -2539 ÷ 2539 because
if we convert the value in inch 2539 / 25.4 = 99.96 which is the max value visible on the display with the res inch = 0.01
In case the parameter was 2540 it would not be possible to show the converted value because 2540 / 25.4 = 100.00
Addittional features
Reset
To reset the device to the factory setup:
- select the voice rESEt from the main menu (see cap. 8.3)
- change the value from no to YES by pressing the key

- press the key
to confirm
Test LCD
The LcdtS voice in the main menu allow to switch on all the display segments and symbols.
Release version
As last voice in the main menu, starting with the “r” letter, are shown the release data of the device that can be scrolled pressing the key
.
Please note these values and communicate them to Elesa in case of support needed.
Password
It is possible to avoid the unwanted access to the device menu by choosing “on“ in the PASS voice of the menu.
In this case to enter the menu is asked to insert the correct password: 22011 (see cap. 8).
Battery replacement
The internal lithium CR2450 – 3.0 V battery ensures up to 5 years battery life (3 years for RF version).
The symbol
is shown on the display when the battery replacement is required.
The replacement is made by simply unscrewing the two TORX T6 screws and removing the front cover, without disassembly the indicator from the control shaft and keeping unchanged all the configuration parameters.
Problem solving
| Message on the display | Description | Action |
—– | Exceeding the reading scale (-19999;99999) The value cannot be shown on the display. | The system continues to measure displacements; the value will be shown on the display again if re-included in the reading scale |
S_Err | The shaft speed has exceeded the max system speed (see table on cap. 8). | Press |
| Low Battery | Replace the battery (see cap. 9). |
EU DECLARATION OF CONFORMITY (DOC)
WE
COMPANY NAME: Elesa S.p.a.
POSTAL ADDRESS: Via Pompei 29
POSTCODE AND CITY: 20900 Monza
TELEPHONE NUMBER: +39 039 28111
E-MAIL ADDRESS: [email protected]
Declare that the DoC is issued under our sole responsibility and belongs to the following product:
PRODUCT: Electronic position Indicators
APPARATUS MODEL: DD51-E
TRADE MARK: Elesa
The object of the Declaration described above is in conformity with the relevant Union harmonization legislation:
2014/30/UE (EMC): Electromagnetic Compatibility Directive 2011/65/UE (RoHS): Restriction of the use of certain Hazardous Substances in electrical and electronic equipment
The following harmonized standards and technical specifications have been applied:
EN 61326-1:2013
Notified Body:
Not Involved (Annex II – Conformity Assessment Module A)
Additional information:
Software Version: 5.1 or higher
PLACE, DATE OF ISSUE: CARLO BERTANI
Monza – Italy MANAGING DIRECTOR
18/05/2020 GENERAL MANAGER
EU DECLARATION OF CONFORMITY (DOC)
WE
COMPANY NAME: Elesa S.p.a.
POSTAL ADDRESS: Via Pompei 29
POSTCODE AND CITY: 20900 Monza
TELEPHONE NUMBER: +39 039 28111
E-MAIL ADDRESS: [email protected]
Declare that the DoC is issued under our sole responsibility and belongs to the following product:
PRODUCT: Electronic position Indicators
APPARATUS MODEL: DD51-E-RF
TRADE MARK: Elesa
The object of the Declaration described above is in conformity with the relevant Union harmonization legislation:
2014/53/UE (RED): Radio Equipment Directive
2011/65/UE (RoHS): Restriction of the use of certain Hazardous Substances in electrical and electronic equipment
The following harmonized standards and technical specifications have been applied:
- EN 61326-1:2013
- EN 61010-1:2010
- ETSI EN 301 489-1 V2.1.1
- ETSI EN 301 489-1 V2.2.3
- ETSI EN 301 489-17 V3.2.2
- Draft ETSI EN 301 489-17 V3.2.2
- EN 61326-1:2013
- ETSI EN 300 328 V2.2.2
Notified Body:
Not Involved (Annex II – Conformity Assessment Module A)
Additional information:
Software Version: 5.1 or higher
PLACE, DATE OF ISSUE: CARLO BERTANI
Monza – Italy MANAGING DIRECTOR
18/05/2020 GENERAL MANAGER
ELESA S.p.A.
Via Pompei, 29
20900 Monza (MB) Italy
phone +39 039 28111
fax +39 039 836351
[email protected]
www.elesa.com
© COPYRIGHT ELESA 2020
Art. Nr. ZDOIU-DD51E-R02






















