SQUARE D PowerPacT B 1P Circuit Breakers and Automatic Switches Instruction Manual
Before starting the installation read and understand all instructions.
Retain instructions for future use.
PLEASE NOTE
- Electrical equipment should be installed, operated, serviced, and maintained only by qualified personnel.
- The product has been designed for environment A (Class A, IEC 60947-1). Use of this product in environment B (Class B, IEC 60947-1) may cause unwanted electromagnetic disturbances in which case the user may be required to take adequate mitigation measures.
- No responsibility is assumed by Schneider Electric for any consequences arising out of the use of this material.
- All pertinent state, regional, and local safety regulations must be observed when installing and using this product.
DANGER
HAZARD OF ELECTRIC SHOCK, EXPLOSION OR ARC FLASH
- Apply appropriate personal protective quipment (PPE) and follow safe electrical work practices. See NFPA 70E, CSA Z462, NOM 029-STPS or local equivalent.
- This equipment must only be installed and serviced by qualified electrical personnel.
- Turn off all power supplying this equipment before working on or inside equipment.
- Always use a properly rated voltage sensing device to confirm power is off.
- Replace all devices, doors, and covers before turning on power to this equipment.
- Beware of potential hazards, and carefully inspect the work area for tools and objects that may have been left inside the equipment.
Failure to follow these instructions will result in death or serious injury.
WARNING: This product can expose you to chemicals including DINP, which is known to the State of California to cause cancer, and DIDP which is known to the State of California to cause birth defects or other reproductive harm. For more information go to: www.P65Warnings.ca.gov.
Necessary Tools

Before Working on Equipment

- Turn off all power supplying this equipment before working on or inside equipment.
- Turn off or use push-to-trip button to trip circuit breaker.
- Use a properly rated voltage sensing device to confirm power is off.
Safety Clearances
DANGER
HAZARD OF ELECTRIC SHOCK, EXPLOSION OR ARC FLASH
Install circuit breaker so minimum clearance distance to grounded metal is maintained.
Failure to follow these instructions will result in death or serious injury
Minimum Clearances

Standard (80% rated current)
| A | B | C |
| 14.6 in. 371 mm | 8.5 in. 216 mm | 3.16 in. 80 mm |
100% rated current /
| A | B | C |
| 18.13 in. 461 mm | 8.63 in. 219 mm | 4.13 in. 105 mm |
| Painted sheet metal | Bare sheet metal | ||||
| D | E | F | D | E | D |
| 1.18 in. 30 mm | 0.19 in. 5 mm | 0 0 | 1.57 in. 40 mm | 0.19 in. 5 mm | 0.19 in. 5 mm |
| 0 0 | 0 0 | 0 0 | 0 0 | 0 0 | 0.19 in. 5 mm |
| 0 0 | 0 0 | 0 0 | 0 0 | 0 0 | 0.19 in. 5 mm |

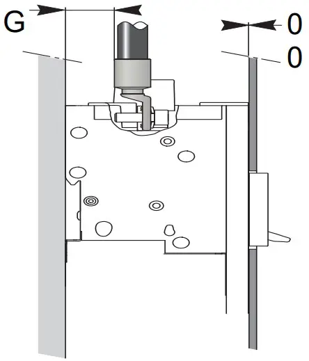
Compression Lug Safety Clearance
G must be greater than 0.50 in. (12.7 mm) between uninsulated compression lug body and grounded metal.
Live Part Minimum Safety Clearances Required

Live parts.
| H ≤ 2.36 in. (60 mm) | H > 2.36 in. (60 mm) | ||
| I | J | I | J |
| 7.87 in. 200 mm | 3.94 in. 100 mm | 4.72 in. 120 mm | 2.36 in. 60 mm |
Installation
Door Cutout

DIN Rail

PLEASE NOTE
For DIN rail mounting, cable cross-sectional area should not exceed 1/0 AWG (50 mm²).
Door Cutout

Wiring
Ever Link Lugs Connections

![]() Cu≤ 125 A | AI≤ 100 A1 | Cu≤ 125 A | AI≤ 100 A1 | ![]() | |
| 0.78 in. 20 mm | 14–8 AWG2.5–10 mm² | 14–8 AWG2.5–10 mm² | 44±4.4 lb-in.5±0.5 N•m | ||
| 6–3/0 AWG16–95 mm² | 6–2/0 AWG16–70 mm² | 80±8 lb-in.9±0.9 N•m | |||
For IEC applications, only copper wires allowed
Mechanical Lug Connections
NOTICE
HAZARD OF OVERHEATING
Do not allow wire strands to get caught in wire binding screw threads.
Failure to follow these instructions can result in equipment damage.
![]() | ![]() | ||||
![]() | 0.63 in. 16 mm | Cu/Al 15–125 A¹ | 14–10 AWG2.5–6 mm² | 35±3.5 lb-in.4±0.4 N•m | 5/32 in. 4 mm |
| 8–2/0 AWG10–70 mm² | 50±5 lb-in.5.6±0.6 N•m | ||||
![]() | 0.63 in. 16 mm | Cu 15–125 A | 14–10 AWG2.5–6 mm² | 35±3.5 lb-in.4±0.4 N•m | 5/32 in. 4 mm |
| 8 AWG10 mm² | 40±4 lb-in.4.5±0.5 N•m | ||||
| 6–4 AWG16–25 mm² | 45±4.5 lb-in.5.1±0.5 N•m | ||||
| 3–1/0 AWG35–50 mm² | 50±5 lb-in.5.6±0.6 N•m | ||||
For IEC applications, only copper wires allowed.
Compression Lugs

![]() | Cu/Al | |
| 14–8 AWG2.5–10 mm² | 44 ± 4.4 lb-in.5 ± 0.5 N•m | |
| 6–3/0 AWG18–95 mm² | 80 ±8 lb-in.9 ± 0.9 N•m |

![]() | |
| 80 ±8 lb-in.9 ± 0.9 N•m |
PowerPacT B DC Wiring Diagrams
| Grounded Negative1 | Grounded Middle Point | Ungrounded Source | ||
| Type | ![]() | ![]() | ![]() | |
| 125 Vdc | 250 Vdc | ≤ 250 Vdc | ≤ 250 Vdc | |
| 1P | ![]() | |||
| 2P | ![]() | ![]()
| ![]()
| |
| 3P | ![]() |
|
| |
| 4P | ![]()
|
|
| |
It is acceptable to ground the positive leg.
Circuit Breaker Removal
- Turn off all power supplying this equipment before working on or inside equipment.
- Turn off or trip circuit breaker before removal.
Make sure the circuit breaker is in the open (O) position or in the trip ( ) position. - Use a properly rated voltage sensing device to confirm power is off.
- Remove circuit breaker in reverse order of installation
Scan the QR code on the product for additional product information.
For information about other products, see our website: https://www.se.com
© 2019–2023 Schneider Electric
All Rights Reserved
Schneider Electric, Square D, and PowerPacT are trademarks owned by Schneider Electric Industries SAS or its affiliated companies. All other trademarks are the property of their respective owners.
Schneider Electric Limited
Stafford Park 5
Telford TF3 3BL
United Kingdom
www.se.com/uk
Schneider Electric USA, Inc.
800 Federal Street
Andover, MA 01810 USA
888-778-2733
www.se.com/us/en/

References
P65Warnings.ca.gov
p65warnings.ca.gov/
se.cn - This website is for sale! - se Resources and Information.
Schneider Electric Global | Global Specialist in Energy Management and Automation
Schneider Electric Canada | Global Specialist in Energy Management and Automation
Schneider Electric Mexico | Servicios de Renovación y Retrofit de Schneider Electric
Schneider Electric UK | Energy Management and Automation
Schneider Electric USA | Global Specialist in Energy Management and Automation
Schneider Electric Global | Global Specialist in Energy Management and Automation





































