MATCO TOOLS BRK4TB 4 Body Ton Repair Kit

Product Information: BRK4TB, BRK10TB 4 Ton and 10 Ton Body Repair Kit
The BRK4TB and BRK10TB Body Repair Kits are designed to help repair damage to vehicles and other machinery. The product comes with a pump, ram or spreader, and various attachments that can be used to apply force to the damaged area. The product is manufactured to comply with the ASME PASE-2019 Safety Standard to ensure safe usage.
Specifications
- BRK4TB: 4 Ton Body Repair Kit
- BRK10TB: 10 Ton Body Repair Kit
Warning Information:
The product comes with a safety alert symbol that is used toalert users of potential personal injury hazards. Users are advised to obey all safety messages that follow this symbol to avoid possible injury or death. Failure to read the manual completely and not complying with the safety warnings could cause accidents resulting in serious or fatal personal injury and/or property damage.
Setup Instructions
- Refer to the parts list and drawing in the manual to identify parts mentioned in this setup procedure.
- Before installing the force gauge (P39), remove the plug A in the hose end of the pump (01). Thread the gauge into the gauge fitting (P41) and connect with the receiver (P42) by turning it clockwise. Make sure the connection is tight to prevent leakage.
- Open the release valve (P29) by turning it counterclockwise until it stops, then pump the handle 4 or 5 full incremented pump strokes to purge air from the hydraulic system.
- Install ram (02) or spreader (03) at the end of hose (P30) and secure the quick disconnect fittings together by hand tightening the threaded sleeve (R06-4T & R15-10T) on the female coupler (R15-4T & R16-10T) to the male coupler (P31) at the end of the hose (P30).
Operation Instructions
The product comes with a safety alert symbol used for the operating instructions section of the manual to alert users of potential personal injury hazards. Users are advised to follow all instructions to avoid possible injury or death.
- Consult the Owner’s Manual section titled APPLICABLE FORCE FOR COMPONENT SET UPS for typical attachment and extension tube setups and pay very close attention to the corresponding load ratings of certain attachment connections.
- The use of extension tubes, ram or plunger toes greatly reduces the hydraulic system’s capacity. When using extension tubes, put the shortest tubes on the ends of the setup.
- The pump (1) may be operated in the horizontal or vertical position but must point down when used in the vertical position.
- Make sure all hydraulic and attachment connections are fully engaged and tight so ram force is straight to avoid off-center load conditions.
- Always use the pressure gauge (14) to make sure you are within the required force range when operating the system.
- In order to pump the ram (2), it will be necessary to turn the release valve knob (P29) in a clockwise direction until tight. Tighten by turning counterclockwise until you reach the desired pressure.
PRODUCT SPECIFICATIONS
BRK4TB : BRK10TB
- Maximum Capacity…………. 4 Ton @ 7,250 psig…….. 10 Ton @ 7,250 psig
- Ram Minimum Height……………….. 10.5″……………………………………..12.7″
- Stroke………………………………………. 4.7″………………………………………..5.1″
- Fluid Capacity………………………… 12.8 oz…………………………………..22 oz.
- Net Weight…………………………….. 43 Lbs………………………………68.3 Lbs.
- Shipping Weight……………………..45.2 Lbs…………………………….. 71.7 Lbs.
WARNING INFORMATION
This is the safety alert symbol. It is used to alert you to potential personal injury hazards. Obey all safety messages that follow this symbol to avoid possible injury or death.
WARNING: Indicates a hazardous situation which, if not avoided, could result in death or serious injury.
IMPORTANT: READ THESE INSTRUCTIONS BEFORE OPERATING
BEFORE USING THIS DEVICE, READ THIS MANUAL COMPLETELY AND THOROUGHLY, UNDERSTAND ITS OPERATING
PROCEDURES, SAFETY WARNINGS AND MAINTENANCE REQUIREMENTS.
It is the responsibility of the owner to make sure all personnel read this manual prior to using the device. It is also the responsibility of
the device owner to keep this manual intact and in a convenient location for all to see and read. If the manual or product labels are lost or not legible, contact Matco Tools for replacements. If the operator is not fluent in English, the product and safety instructions shall be read to and discussed with the operator in the operator’s native language by the purchaser/owner or his designee, making sure that the operator compre-\hends its contents.
THE NATURE OF HAZARDOUS SITUATIONS
WARNING
The use of body reapir kits are subject to certain hazards that cannot be prevented by mechanical means, but only by the exercise of intelligence, care, and common sense. It is therefore essential to have owners and personnel involved in the use and operation of the equip-ment who are careful, competent, trained, and qualified in the safe operation of the equipment and its proper use. Examples of hazards are dropping, tipping or slipping of loads caused primarily by improperly securing loads, overloading, off-centered loads, use on other than hard level surfaces, and using equipment for a purpose for which it was not designed.
METHODS TO AVOID HAZARDOUS SITUATIONS
WARNING
- Read, study, understand, and follow all instructions before operating this device.
- The kit owner is responsible for the kit being used in accordance with OSHA, state, and local safety standards.
- User and bystanders must wear eye protection that meets ANSI Z87.1 and OSHA standards.
- Do not use beyond rated capacity.
- When attachments and adapters are used with the kit, the rated capacity of the kit shall be no greater than the rated capacity of the lowest rated component or combination of components that makes up the kit. Refer to the Owner’s Manual section titled “APPLYING FORCE” for typical applications and corresponding load capacities.
- Use a pressure gauge that indicates force applied.
- Spreader Ram is rated at 1/2 ton capacity.
- Rubber Heads are rated at 1/2 ton capacity in the 4 ton kit and 1 ton capacity in the 10 ton kit.
- Do not overextend the rams.
- When using extension tubes, position the shortest tube farthest away from the cylinder.
- Attachments and extension tubes must be aligned and fully engaged so the ram force is straight and avoids off-center conditions.
- Before operating, tighten all hose, gauge and manifold connections so they are secure and leak free. Do not over tighten or it may cause premature thread failure or split pressure fittings. Tighten all hose quick disconnect fittings by hand only.
- Do not subject the hose to extreme heat or cold, sharp surfaces, abrasion, impact, kinking, twisting, curling, bending or any condition that restricts or affects fluid flow.
- Make sure setup is stable and secure before performing any work.
- Use this kit for the intended purpose of vehicle body/frame repair only.
- Only components supplied with this kit shall be used with this kit.
- No alterations or modifications shall be made to any of the kit components.
- Failure to heed these warnings may result in serious or fatal personal injury and/or property damage.
WARNING: This product can expose you to chemicals including nickel, which is known to the State of California to cause cancer and birth defects or other reproductive harm. For more information go to www.P65Warnings.ca.gov.
CONSEQUENCES OF NOT AVOIDING HAZARDOUS SITUATIONS
WARNING
Failure to read this manual completely and thoroughly, understand its OPERATING INSTRUCTIONS, SAFETY WARNINGS, MAINTENANCE INSTRUCTIONS and not comply with them, and neglecting the METHODS TO AVOID HAZARDOUS SITUATIONS could cause accidents resulting in serious or fatal personal injury and/or property damage.
PRODUCT SETUP
- Refer to the parts list and drawing in this manual to identify parts mentioned in this setup procedure.
- Before installing the force gage (P39) remove the plug A in the hose end of the pump (01). Thread the gage into the gage fitting (P41) and connect with the receiver (P42) by turning it clockwise. Make sure the connection is tight to prevent leakage.
- Open the release valve (P29) by turning it counterclockwise until it stops, then pump the handle 4 or 5 full incremented pump strokes to purge air from the hydraulic system.
- Install ram (02) or spreader (03) at the end of hose (P30) and secure the quick disconnect fittings together by hand tightening the threaded sleeve (R06-4T & R15-10T) on the female coupler (R15-4T & R16-10T) to the male coupler (P31) at the end of the hose (P30).

PRODUCT OPERATION
This is the safety alert symbol used for the OPERATING INSTRUCTIONS section of this manual to alert you to potential personal injury hazards. Obey all instructions to avoid possible injury or death.
- Study the work to be done in order to determine the type ram and other attachments you will be using. Consult the enclosed chart titled “Applicable force for component set ups” in order to determine the maximum allowable force to be used in your specific setup. All rams have female hose disconnects attached to them, and the end of the hose has the male quick disconnect attached to it. Insert the end of the hose (P30) all the way in to the ram’s female quick disconnect (R15). Slide the female connector’s threaded sleeve (R06-4T & R15-10T) on to the threads at the end of the hose (P30) and hand tighten. Never use any tools to tighten this connection.
- Consult this Owner’s Manual section titled APPLICABLE FORCE FOR COMPONENT SET UPS for typical attachment and extension tube setups and pay very close attention to the corresponding load ratings of certain attachment connections. The use of extension tubes, ram or plunger toes greatly reduces the hydraulic system’s capacity. When using extension tubes, put the shortest tubes on the ends of the setup.
- The pump (1) may be operated in the horizontal or vertical position but the pump (1) must point down when used in the vertical position.
- Make sure all hydraulic and attachment connections are fully engaged and tight so ram force is straight in order to avoid off-center load conditions.
- During setup, make sure the hose routing avoids kinks, twists, curls or bends that will impede hydraulic fluid flow. Do not use the hose (P30) as a means to carry the kit components. Do not subject the hose (P30) to any hazards such as fire, extreme heat or cold, sharp surfaces, or heavy impact. IF A HOSE (P30) RUPTURES, BURSTS, OR NEEDS TO BE DISCONNECTED, IMMEDIATELY SHUT THE PUMP (1) OFF AND OPEN THE RELEASE VALVE (P29) TO RELEASE HYDRAULIC PRESSURE. NEVER GRASP A LEAKING PRESSUR-IZED HOSE, FITTING OR COMPONENT WITH YOUR HANDS OR SUFFER SERIOUS INJURY.
- Always use the pressure gauge (14) to make sure you are within the required force range when operating the system.
- In order to pump the ram (2), it will be necessary to turn the release valve knob (P29) in a clockwise direction until tight. Tighten by hand only.
- Pumping the handle (P34) up and down transfers the hydraulic fluid from the pump’s reservoir (P6), through the hose (P30), in to the cylinder and extends the ram with each incremental pump stroke.
- To release the pressure and return the ram (2) back in to its cylinder (R13-4T & R14-10T) , turn the release valve knob (P29) in a coun-terclockwise direction very slowly. Turning the release valve knob (P29) slowly will determine the speed in which the ram (2) will retract back into its cylinder (R13-4T & R14-10T).
IMPORTANT: The pump includes an overload valve that will activate at the pump’s rated capacity only. If the setup requires a reduced rating, the operator is responsible for using the gauge to determine when to stop pumping since the overload valve (P24) is set to a higher rating. - Make sure the ram (2) is completely retracted inside its cylinder (R13-4T & R14-10T) before disconnecting the hose from the cylinder.
- The the hose (P30) and the ram (2) are repeatedly disconnected and exposed to shop or work place floors that are covered with dirt and debris. It is important to use the dust caps (P32) provided to prevent contaminants from entering the air and hydraulic systems.
- Based on continuous engagement and disengagement of the hose (P30) from the cylinder (R13-4T & R14-10T), eventually it will become necessary to add hydraulic fluid to the pump’s reservoir (P6). Completely retract the ram before adding hydraulic fluid. Do not overfill in order to avoid personal injury and hydraulic malfunction. Use only hydraulic jack oil, Chevron Hydraulic Oil AW ISO 32 or its equivalent Unocal Unax AW 150. Other fluids will cause damage to the hydraulic seals.

PREVENTATIVE MAINTENANCE
This is the safety alert symbol used for the PREVENTATIVE MAINTENANCE section of this manual to alert you to potential personal injury hazards. Obey all instructions to avoid possible injury or death.
- Always store the kit in a well protected area where it will not be exposed to inclement weather, corrosive vapors, abrasive dust, or any other harmful elements. The jack must be cleaned of water, snow, sand, grit, oil, grease or other foreign matter before using.
- Based on continuous engagement and disengagement of the hose from the cylinder, eventually it will become necessary to add hydraulic fluid to the pump’s reservoir. Completely retract the ram before adding hydraulic fluid. Do not overfill in order to avoid personal injury and hydraulic malfunction. Use only hydraulic jack oil. Other fluids will cause damage to the hydraulic seals.
Warning: In order to prevent seal damage and kit failure, never use alcohol, hydraulic brake fluid or transmission oil in the pump. - Every kit owner is responsible for keeping the kit labels clean and readable. Use a mild soap solution to wash external surfaces of the kit components but not any moving hydraulic components.
- Do not attempt to make any hydraulic repairs unless you are a qualified hydraulic repair person that is familiar with this equipment. Repairs must be performed by an authorized service center.
TROUBLESHOOTING GUIDE
Important: If repairs are necessary they must be performed in a dirt-free environment by qualified personnel who are familiar with this equipment.
| PROBLEM | ACTION |
| 1. Ram will not lift rated load. | Turn reservoir fill screw (P7) counterclockwise two complete revolutions and wait 10 seconds. Turn screw clockwise until tight and proceed to pump. If that does not fix the problem check the pump reservoir’s fluid level. The proper amount of fluid should be BRK4TB – 12.8 ounces and BRK10TB – 22 ounces. Use only hydraulic jack oil. |
| 2. Unit will not sustain rated load or feels “spongy” under rated load. | Purge air from hydraulic system as above. |
| 3. Unit will not lift to full height. | Purge air from hydraulic system as above. |
| 4. Handle tends to raise up while the unit is under rated load. | Pump the handle rapidly several times to push oil past ball valves in power unit. |
| 5. Unit still does not operate. | Contact Matco Tools Customer Service. |
WARRANTY
Hydraulic Warranty Policy
Matco® shop equipment and tools, excluding accessories, are warranted against defects in materials or workmanship for a period of 1
year from original purchase. We will repair or replace at our option any defective part or unit which proves to be defective in material or workmanship within this warranty plan. This warranty does not cover damage to equipment or tools arising from alteration, abuse or misuse, and does not cover any repairs or replacement made by anyone other than Matco or its authorized service centers.
The foregoing obligation is Matco Tools sole liability under this or any implied warranty and under no circumstances shall we be liable for any incidental or consequential damages.
NOTE: Some states do not allow the exclusion or limitation of incidental or consequential damages, so the above limitation or exclusion may not apply to you.
Return equipment or parts to Matco Tools, or an authorized service center, transportation prepaid. Be certain to include your name and address, evidence of the purchase date, and description of the suspected defect.
If you have any questions about warranty service, please write to Matco Tools, Stow, OH 44224. This warranty gives you specific legal rights and you may also have other rights which vary from state to state.
PARTS – 4 TON

| Item # | Part # | Description | Qty |
| 1 | RS4TPABR | Pump w/Hose, Burgundy | 1 |
| RSHS | Hose | 1 | |
| 2 | RS4TRBR | Ram, Burgundy | 1 |
| 3 | RSSPRABR | Spreader, Burgundy | 1 |
| 4 | RS4T01 | Case | 1 |
| 5.1 | RS4T02.1BR | 3.23″ (82mm) Extension, Burgundy | 1 |
| 5.2 | RS4T02.2BR | 5.04″ (128mm) Extension, Burgundy | 1 |
| 5.3 | RS4T02.3BR | 8.50″ (216mm) Extension, Burgundy | 1 |
| 5.4 | RS4T02.4BR | 16.54″ (420mm) Extension, Burgundy | 1 |
| 5.5 | RS4T02.5BR | 19.49″ (495mm) Extension, Burgundy | 1 |
| 6 | RS4T04ABR | Ram Toe, Burgundy | 1 |
| 7 | RS4T05BR | Plunger Toe, Burgundy | 1 |
| 8 | RS4T06BR | Wedge Head, Burgundy | 1 |
| 9 | RS4T07BR | V-Base, Burgundy | 1 |
| 10 | RS4T08 | Male Connector | 1 |
| 11 | RS4T09BR | Serrated Saddle, Burgundy | 1 |
| 12 | RS4T10 | Rubber Head | 1 |
| 13 | RS4T03BR | Flat Base, Burgundy | 1 |
| 14 | RSPGA | Pressure Gauge Assembly | 1 |
| Not Shown | RSBRK4TBLK | Product Label Kit | 1 |
* Items identified by an asterisk are available in pump seal kit, RS4TPSKA.
NOTE: Items which are not identified by a part number or with an asterisk are not available separately.
RS4TPABR – 4 TON PUMP

| Item # | Part # | Description | Qty |
| P1 | Screw | 1 | |
| P2 | * | O-ring | 1 |
| P3 | RS4TPFBR | Pump Foot, Burgundy | 1 |
| P4 | * | O-ring | 2 |
| P5 | Tie Rod | 1 | |
| P6 | Reservoir | 1 | |
| P7 | Breather Screw | 1 | |
| P8 | Oil Filter | 1 | |
| P9 | Valve Block | 1 | |
| P10 | * | Ball | 3 |
| P11 | * | Ball | 1 |
| P12 | * | Spring | 1 |
| P13 | * | Washer | 1 |
| P14 | Plug Screw | 1 | |
| P15 | * | Copper Ring | 1 |
| P16 | * | Piston Seat | 1 |
| P17 | * | Anti-dust Ring | 1 |
| P18 | * | Sealing Ring (incl 18-1 & 18-2) | 1 |
| P19 | Screw | 1 | |
| P20 | Piston | 1 | |
| P21 | * | Ball | 1 |
| Item # | Part # | Description | Qty |
| P22 | * | Ball Cup | 1 |
| P23 | * | Spring | 1 |
| P24 | * | Screw | 1 |
| P25 | * | O-ring | 2 |
| P26 | Screw | 1 | |
| P27 | Screw Cap | 1 | |
| P28 | * | O-ring | 1 |
| P29 | RSP15BR | Release Valve, Burgundy | 1 |
| P30 | RSHS | Hose | 1 |
| P31 | RSP17 | Male Coupler | 1 |
| P32 | RSP18 | Hose Dust Cover | 1 |
| P33 | Magnet | 1 | |
| P34 | RS4THNDLBR | Handle, Burgundy | 1 |
| P35 | Handle Sleeve | 1 | |
| P36 | Pin | 1 | |
| P37 | Sealing Ring | 2 | |
| P38 | Pin | 1 | |
| P39 | RSPGA | Pressure Gauge (incl P39 – P42) | 1 |
| P40 | O-ring | 1 | |
| P41 | Gauge Fitting | 1 | |
| P42 | Nut | 1 |
* Items identified by an asterisk are available in pump seal kit, RS4TPSKA.
NOTE: Items which are not identified by a part number or with an asterisk are not available separately.
RS4TRBR – 4 TON RAM

| Item # | Part # | Description | Qty |
| R01 | RS4TR01 | Cover | 1 |
| R02 | Circlip | 1 | |
| R03 | Piston Rod | 1 | |
| R04 | * | Circlip | 1 |
| R05 | * | Bushing | 1 |
| R06 | Nut | 1 | |
| R07 | * | Sealing Ring Set | 1 |
| R08 | * | Retaining Ring | 1 |
| R09 | Spring | 1 | |
| R10 | Screw | 1 | |
| R11 | RS4TR12 | Protection Cap | 1 |
| R12 | Limit Ring | 1 | |
| R13 | Cylinder | 1 | |
| R14 | Screw | 1 | |
| R15 | Female Coupler | 1 | |
| R16 | O-ring | 1 | |
| R17 | Dust Cover | 1 | |
| R18 | Sealing Ring | 1 | |
| N/S | RSRCPLR | Ram Coupler (incl R06, R15–R18) | 1 |
*Items identified by an asterisk are available in Ram Seal Kit, RS4TRSKA.
NOTE: Items which are not identified by a part number or with an asterisk are not available separately.
RSSPRABR – 4 TON SPREADER

| Item # | Part # | Description | Qty |
| S1 | Pin | 1 | |
| S2 | Circlip | 1 | |
| S3 | Movable Jaw | 1 | |
| S4 | Spring | 1 | |
| S5 | Fixed Jaw | 1 | |
| S6 | Piston | 1 | |
| S7 | * | Cup Seal | 1 |
| S8 | * | O-ring | 1 |
| S9 | End Cap | 1 | |
| S10 | Nut | 1 | |
| S11 | Coupler | 1 | |
| S12 | O-ring | 1 | |
| S13 | Dust Cover | 1 | |
| S14 | Sealing ring | 1 | |
| N/S | RSSPRCPLR | Spreader Coupler (incl S10 – S14) | 1 |
*Items identified by an asterisk are available in Spreader Seal Kit, RSSPRASK.
NOTE: Items which are not identified by a part number or with an asterisk are not available separately.
PARTS – 10 TON

| Item # | Part # | Description | Qty |
| 01 | RS10TPABR | Pump w/Hose, Burgundy | 1 |
| RSHS | Hose | 1 | |
| 02 | RS10TRBR | Ram, Burgundy | 1 |
| 03 | RSSPRABR | Spreader, Burgundy | 1 |
| 04 | RS10T01 | Case | 1 |
| RS10T01WH | Wheel for Case | 2 | |
| 5.1 | RS10T02.1BR | 3.23″ (82mm) Extension, Burgundy | 1 |
| 5.2 | RS10T02.2BR | 5.04″ (128mm) Extension, Burgundy | 1 |
| 5.3 | RS10T02.3BR | 8.50″ (216mm) Extension, Burgundy | 1 |
| 5.4 | RS10T02.4BR | 16.54″ (420mm) Extension, Burgundy | 1 |
| Item # | Part # | Description | Qty |
| 06 | RS10T04ABR | Ram Toe, Burgundy | 1 |
| 07 | RS10T05BR | Plunger Toe, Burgundy | 1 |
| 08 | RS10T06BR | Wedge Head, Burgundy | 1 |
| 09 | RS10T07BR | V-Base, Burgundy | 1 |
| 10 | RS10T08 | Male Connector | 1 |
| 11 | RS10T09BR | Serrated Saddle, Burgundy | 1 |
| 12 | RS10T10 | Rubber Head | 1 |
| 13 | RS10T03BR | Flat Base, Burgundy | 1 |
| 14 | RSPGA | Pressure Gauge Assembly | 1 |
| N/S | RSBRK10TBLK | Product Label Kit | 1 |
* Items identified by an asterisk are available in pump seal kit, RS4TPSKA.
NOTE: Items which are not identified by a part number or with an asterisk are not available separately.
RS10TPABR – 10 TON PUMP

| Item # | Part # | Description | Qty |
| P1 | Screw | 1 | |
| P2 | * | O-ring | 1 |
| P3 | RS10TPFBR | Pump Foot, Burgundy | 1 |
| P4 | * | O-ring | 2 |
| P5 | Tie Rod | 1 | |
| P6 | Reservoir | 1 | |
| P7 | Breather Screw | 1 | |
| P8 | Oil Filter | 1 | |
| P9 | Valve Block | 1 | |
| P10 | * | Ball | 3 |
| P11 | * | Ball | 1 |
| P12 | * | Spring | 1 |
| P13 | * | Washer | 1 |
| P14 | Plug Screw | 1 | |
| P15 | * | Copper Ring | 1 |
| P16 | * | Piston Seat | 1 |
| P17 | * | Anti-dust Ring | 1 |
| P18 | * | Sealing Ring (incl 18-1 & 18-2) | 1 |
| P19 | Screw | 1 | |
| P20 | Piston | 1 | |
| P21 | * | Ball | 1 |
| Item # | Part # | Description | Qty |
| P22 | * | Ball Cup | 1 |
| P23 | * | Spring | 1 |
| P24 | * | Screw | 1 |
| P25 | * | O-ring | 2 |
| P26 | Screw | 1 | |
| P27 | Screw Cap | 1 | |
| P28 | * | O-ring | 1 |
| P29 | RSP15BR | Release Valve, Burgundy | 1 |
| P30 | RSHS | Hose | 1 |
| P31 | RSP17 | Male Coupler | 1 |
| P32 | RSP18 | Hose Dust Cover | 1 |
| P33 | Magnet | 1 | |
| P34 | RS10THNDLBR | Handle, Burgundy | 1 |
| P35 | Handle Sleeve | 1 | |
| P36 | Pin | 1 | |
| P37 | Sealing Ring | 2 | |
| P38 | Pin | 1 | |
| P39 | RSPGA | Pressure Gauge (incl P39 – P42) | 1 |
| P40 | O-ring | 1 | |
| P41 | Gauge Fitting | 1 | |
| P42 | Nut | 1 |
*Items identified by an asterisk are available in pump seal kit, RS10TPSKA.
NOTE: Items which are not identified by a part number or with an asterisk are not available separately.
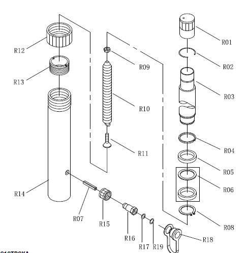
RS10TRBR – 10 TON RAM

| Item# | Part# | Description | Qty |
| R01 | RS10TR01 | Cover | 1 |
| R02 | Circlip | 1 | |
| R03 | Piston Rod | 1 | |
| R04 | * | Circlip | 1 |
| R05 | * | Bushing | 1 |
| R06 | * | Sealing Ring Set | 1 |
| R07 | Pin | 1 | |
| R08 | * | Circlip | 1 |
| R09 | Nut | 1 | |
| R10 | Spring | 1 | |
| R11 | RS10TR12 | Screw | 1 |
| R12 | Protection Cap | 1 | |
| R13 | Limit Ring | 1 | |
| R14 | Cylinder | 1 | |
| R15 | Nut | 1 | |
| R16 | Female Coupler | 1 | |
| R17 | O-ring | 1 | |
| R18 | Dust Cap | 1 | |
| R19 | Sealing Ring | 1 | |
| N/S | RSRCPLR | Ram Coupler (incl R15–R19) | 1 |
*Items identified by an asterisk are available in Ram Seal Kit, RS10TRSKA.
NOTE: Items which are not identified by a part number or with an asterisk are not available separately.
RSSPRABR – 10 TON SPREADER

| Item# | Part# | Description | Qty |
| S1 | Pin | 1 | |
| S2 | Circlip | 1 | |
| S3 | Movable Jaw | 1 | |
| S4 | Spring | 1 | |
| S5 | Fixed Jaw | 1 | |
| S6 | Piston | 1 | |
| S7 | * | Cup Seal | 1 |
| S8 | * | O-ring | 1 |
| S9 | End Cap | 1 | |
| S10 | Nut | 1 | |
| S11 | Coupler | 1 | |
| S12 | O-ring | 1 | |
| S13 | Dust Cover | 1 | |
| S14 | Sealing ring | 1 | |
| N/S | RSSPRCPLR | Spreader Coupler (incl S10 – S14) | 1 |
*Items identified by an asterisk are available in Spreader Seal Kit, RSSPRASK.
NOTE: Items which are not identified by a part number or with an asterisk are not available separately.



















