steinel 066123 Twilight Switch

About this document
- Under copyright. Reproduction either in whole or in part only with our consent.
- Subject to change in the interest of technical progress.
- Hazard warning!
- Warning of hazards from electricity!
- Warning of hazards from water!
General safety precautions
Failure to observe these operating instructions presents hazards!
These instructions contain important information on the safe use of this product. Particular attention is drawn to potential hazards. Failure to observe this information may lead to death or serious injuries.
- Read instructions carefully.
- Follow safety advice.
- Keep instructions within easy reach.
- Working with electrical current may produce hazardous situations. Touching live parts can result in electrical shock, burns or death.
- Work on mains voltage must only be performed by qualified, skilled personnel.
- National wiring regulations and electrical operating conditions must be observed (e.g. DE: VDE 0100,
- AT: ÖVE-ÖNORM E8001-1, CH: SEV 1000).
- Only use genuine replacement parts.
- Repairs must only be carried out by companies qualified to do so.
System description
Proper use – NighmatIQ
- Photo-cell controller, suitable for wall mounting indoors and outdoors.
- Twilight setting function can be selected by potentio- meter
- Can be used as a standalone sensor.
Proper use – NighmatIQ Plus
- Photo-cell controller, suitable for wall mounting indoors and outdoors.
- Functions can be set via the Steinel Connect app.
- Can be used as a standalone sensor or interconnected with Bluetooth.
Operating principle
- The photo-cell controller detects ambient light level by means of the light sensor and compares this with the light-level threshold selected.
- If ambient brightness is below the light-level threshold, the connected load is switched ON.
- If ambient brightness is above the light-level threshold, the connected load is switched OFF.
Package contents
NightmatIQ/NightmatIQ Plus

- 1 NightmatIQ / NightmatIQ Plus
- 2 screws
- 2 wall plugs
- 1 sealing plug
- 1 safety data sheet
- 1 quick-start guide
Product dimensions
NightmatIQ/NightmatIQ Plus

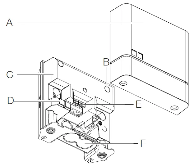
NightmatIQ product components

- A Cover
- B Twilight setting potentiometer
- C Photo-cell controller housing
- D Light-level sensor
- E Connecting terminal
- F Optional inlet for surface wiring

- G Detail: twilight setting potentiometer
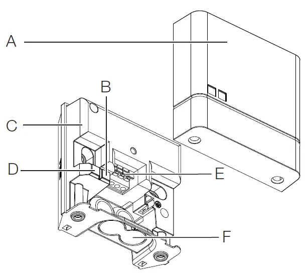
NightmatIQ Plus product components

- A Cover
- B Status LED
- C Photo-cell controller housing
- D Light-level sensor
- E Connecting terminal
- F Optional inlet for surface wiring
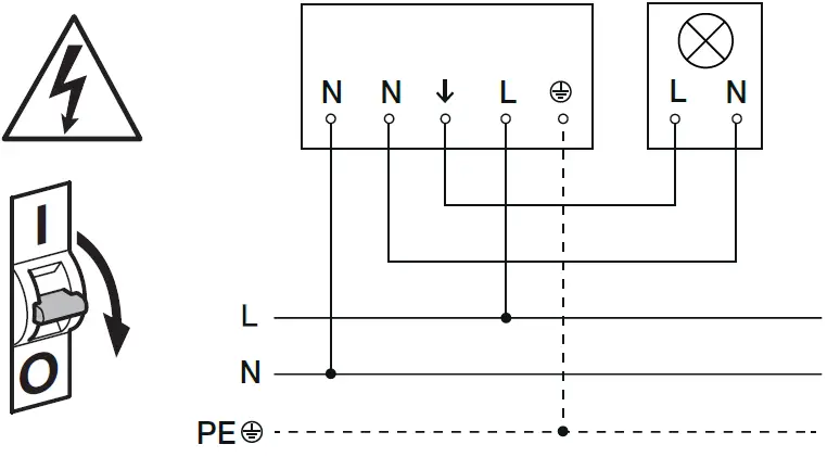
Electrical connection
Circuit diagram

The mains power supply lead is a 3-core cable:
- L = Phase conductor (usually black, brown or grey)
- N = Neutral conductor (usually blue)
- PE = protective-earth conductor (green/yellow)
The floodlight can also be connected to the power supply downstream of a mains switch if it is ensured that the mains switch is left ON all the time. The sealing plugs provided are intended for a mains supply lead with an outer diameter of 5-10 mm.
Installation
Hazard from electrical power
Touching live parts can result in electrical shock, burns or death.
- Switch OFF power and interrupt power supply.
- Using a voltage tester, check to make sure that the power supply is disconnected.
- Make sure power supply remains interrupted.
Risk of damage to property!
Mixing up connection leads may produce a short circuit.
- Identify connection leads.
- Connect the leads correctly.
Preparing for installation
- Check all components for damage. Do not use the floodlight if it is damaged.
- Select an appropriate site to install the product.
- Vibration-free.
- Not in explosive atmospheres.
- Not on normally flammable surfaces.
- The unit must not be influenced by light from the connected load.
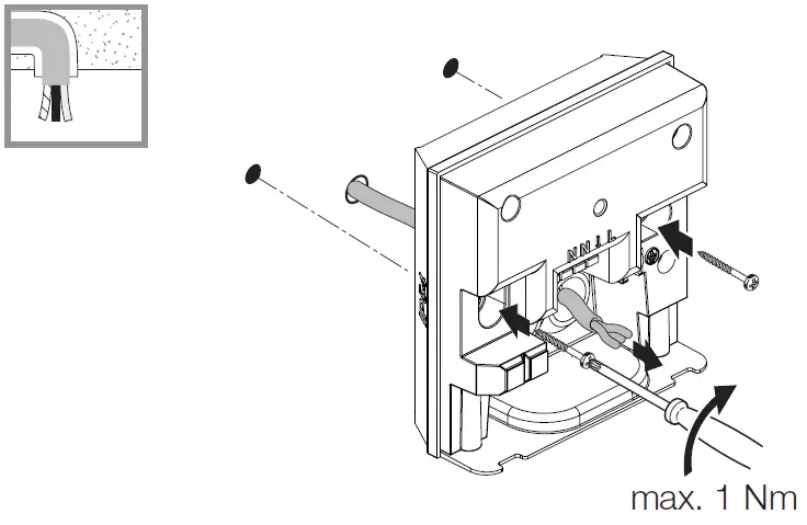
Mounting procedure

- Switch OFF power supply.
- Check to make sure the power supply is switched OFF.
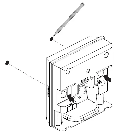
- Unscrew and detach cover.

- Mark drill holes.

- Drill holes (ø 6 mm) and fit wall plugs.
Concealed version

- Route cable through the unit.
- Fit unit, tightening screws with a torque of no more than 1 Nm.
Surface-mounted installation

- Using a screwdriver, carefully prise out the optional inlet for surface wiring.

- Fit sealing plug.

- Route cable through the unit.
- Fit unit, tightening screws with a torque of no more than 1 Nm.

- Connect mains power supply lead as shown in the wiring diagram.
- „4. Electrical connection“

- „4. Electrical connection“
- Fit cover.

- Screw on cover.

- Switch ON power supply.
- Setting functions.
- „6. Function“
Function
NightmatIQ
On the NightmatIQ, the twilight setting is selected by hand at the twilight setting potentiometer.
Hazard from electrical power.
Touching live parts can result in electrical shock, burns or death.
- Switch OFF power and interrupt power supply.
- Using a voltage tester, check to make sure that the power supply is disconnected.
- Make sure power supply remains interrupted.
Factory settings
- Twilight level: 75 lux
Twilight setting (G)
The response threshold (twilight) can be infinitely varied from approx. 1 to 75 lux.
![]()
- = Twilight operating mode (approx. 75 lux)
- = t wilight operating mode/night-time operating mode (approx. 1 lux)
Manual twilight setting for NightmatIQ

- Switch OFF power supply.
- Check to make sure the power supply is switched OFF.
- Unscrew cover.

- Using the screwdriver, set the response twilight threshold to any chosen level.

- Screw on cover.

- Switch ON power supply.
NightmatIQ Plus
NightmatIQ Plus functions are set via the Steinel Connect app.
Steinel Connect app
To configure the unit via smartphone or tablet, you must download the STEINEL Connect app from your app store. You will need a Bluetooth-capable smartphone or tablet.

Functions that can be set via the Steinel Connect app:
- Twilight setting.
Note:
To rule out malfunctioning, a minimum distance of 3 m must be allowed from the Wi-Fi router and the access points.
LED function
- Initialization: LED permanently lights up.
- Normal mode: LED OFF.
- Identification: LED slowly flashes.
- Firmware update: LED rapidly flashes.
- Error: LED rapidly flashes.
- Factory settings
- Twilight level: 1,000 lux
Twilight setting
The response threshold (twilight) can be infinitely varied from approx. 1 to 1,000 lux.
![]()
- = twilight operating mode (approx. 1,000 lux)
- = twilight operating mode/night-time operating mode (approx. 1 lux)
Bluetooth interconnection (Bluetooth mesh)
The sensor switch complies with the Bluetooth mesh standard. It can be interconnected with all products com-plying with the Bluetooth mesh standard. The sensor switch is configured by Steinel Connect app. Appropriate network keys are saved on the smartphone or tablet the first time a connection is made between sensor switch and Steinel Connect app. The key rules out any unauthorised access to the sensor.
The network key must be shared for access via another smartphone or tablet.
Switching times
Besides setting the twilight level, the app can also be used for selecting times at which connected loads are switched ON or OFF. The NightmatIQ plus receives the current time of day via the Bluetooth connection with a smartphone/tablet, and uses this for future switching operations. Any interruption in the power supply to the NightmatIQ plus will result in the memorised time of day being lost. The NightmatIQ plus determines an approximate time of day on the basis of the sun’s angle of incidence from the past few days. To restore the exact time of day, you must reconnect to the app.
Cleaning and maintenance
The tool requires no maintenance.
Hazard from electrical power.
Contact between water and live parts can result in electrical shock, burns or death.
- Only clean tool in a dry state.
Risk of damage to property!
Using the wrong cleaning product can damage the light.
- Clean tool with a moist cloth without detergent.
Disposal
Electrical and electronic equipment, batteries, accessories and packaging must be recycled in an environmentally compatible manner.
Do not dispose of batteries or electrical and electronic equipment as domestic waste.
EU countries only:
Under the current European Directive on Waste Electrical and Electronic Equipment and its implementation in national law, batteries and electrical and electronic equipment no longer suitable for use must be collected separately and recycled in an environmentally compatible manner.
Manufacturer’s warranty
This Steinel product has been manufactured with utmost care, tested for proper operation and safety and then sub-jected to random sample inspection. Steinel guarantees that it is in perfect condition and proper working order. The warranty period is 36 months and starts on the date of sale to the consumer. We will remedy defects caused by material flaws or manufacturing faults. The warranty will be met by repair or replacement of defective parts at our own discretion. The warranty shall not cover damage to wear parts, damage or defects caused by improper treatment or maintenance. Further consequential damage to other objects shall be excluded.
Claims under the warranty will only be accepted if the unit is sent fully assembled and well-packed with a brief description of the fault, a receipt or invoice ( date of purchase and dealer’s stamp ) to the appropriate Service Centre.
Repair service:
If defects occur outside the warranty period or are not covered by the warranty, ask your nearest service station for the possibility of repair.

Technical specifications
- Dimensions (H × W× D): 95 × 95 × 38 mm
- Power supply: 220-240 V, 50/60 Hz
- Power consumption:
- NightmatIQ < 0.7 W
- NightmatIQ plus < 0.5 W
- Twilight setting:
- NightmatIQ: 1-75 Lux
- NightmatIQ plus: 1-1,000 lux
- Sensor system: phototransistor
- Temperature range: -20 to +40 °C
- Bluetooth frequency (NightmatIQ plus only): 2.4-2.48 GHz
- Bluetooth transmission power (NightmatIQ plus only): 4 dBm/2.5 mW
- IP rating: IP54
Switching capacity
- Incandescent/halogen lamp load: 1,000 W
- Low-voltage halogen lamps: 1,000 VA
- Fluorescent lamps, uncorrected: 500 VA
- Fluorescent lamps, series-corrected: 500 VA
- Fluorescent lamps, parallel-corrected: 500 VA
- Fluorescent lamps, electronic ballast: 250 W
- LED lamps <2W: 100 W
- LED lamps >2W <8W: 125 W
- LED lamps >8W: 250 W
- Capacitive load: 88 μF
Troubleshooting
Unit without power.
- Fuse not switched ON or faulty.
- Switch ON fuse.
- Change faulty fuse.
- Break in wiring.
- Check wiring with voltage tester.
- Short circuit in mains power supply lead.
- Check connections.
- Any mains switch OFF
- Switch ON mains switch.
Unit does not switch ON.
- Wrong twilight setting selected.
- Reset twilight setting.
- Mains switch OFF.
- Turn on mains switch.
- Fuse not switched ON or faulty.
- Switch ON fuse.
- Change faulty fuse.
- Rapid movements being suppressed to minimise malfunctioning, or detection zone too small or incorrectly defined.
- Check and adjust detection zone.
- Light source faulty.
STEINEL Vertrieb GmbH
- Dieselstraße 80-84 33442 Herzebrock-Clarholz
- Tel: +49/5245/448-188
- www.steinel.de.
Contact
www.steinel.de/contact.



























