KB200D3L Petrol Engine
User Manual
KB200D3L![]()
www.Nikolaoutools.gr![]()
Safety instructions
Exhaust fumes are poisonous. Never operate engine indoors.
Do not smoke when refuelling. Warning! Don’t spill the fuels.
Stop the engine when refuelling. Keep the children away.
Keep the machine at least 1 meter away from other flammable objects.
Pre-Operation Check
(Picture B) Do not fill above fuel filter top.
(Picture C) Afteriefuelpg, tighten tap cap.
(Picture D) Check the oil level on level surface.
(Picture E) Add oil to upper level 1
Start Engine
(Picture F) Turn fuel switch to ON 1
(Picture G) Turn engine switch to ON 1
(Picture G) Pull slowly on recoil starter until engaged, then pull it briskly
(Picture H) Return choke lever and set throttle lever in desired position.
(Pictue I) Turn switch lever to 1
(Picture J) Move throttle lever slightly to the left.
(Picture K) Increase engine speed (Picture K) Decrease engine speed
Stop Engine
(Picture L) Move throttle lever fully to right
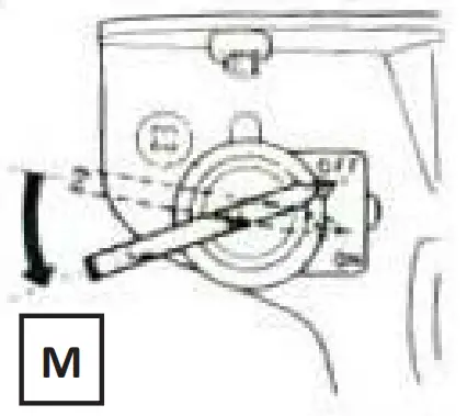
(Picture M) Turn engine switch to OFF.
(Picture N) Turn engine switch to OFF.
Technical Data
| Engine Type | Air Cooled, 4 Stroke, Single Cylinder Engine |
| Displacement | 208cc |
| Max Power Output | 7 HP |
| Start Mode | (Pull Start) |
| Fuel Tank Capacity | 3.6L |
| Engine Oil Capacity | 0.6L |
| Engine Oil Type | SAE 15W40 (Non Synthetic) |
| Shaft Diameter | 19mm |
| Shaft Length | 58mm |
| Weight | 16kg |
| Base size | 29,5*13cm |
Warning – No of is shipped with this item, you must add Non Synthetic SAE 15W40 oil before first use
- The manufacturer reserves the right to make minor changes to product design and technical specifications without prior notice unless these changes significantly affect the performance and safety of the products. The parts described / illustrated in the pages of the manual that you hold in your hands may also concern other models of the manufacturer’s product line with similar features and may not be included in the product you just acquired.
- To ensure the safety and reliability of the product and the warranty validity, all repair, inspection, repair or replacement work, including maintenance and special adjustments, must only be carried out by technicians of the authorized service department of the manufacturer.
- Always use the product with the supplied equipment. Operation of the product with non-provided equipment may cause malfunctions or even serious injury or death. The manufacturer and the importer shall not be liable for injuries and damages resulting from the use of non-conforming equipment.
Maintenance



Periodic Maintenance
| TYPE | DAILY | (WEEMONTHLY/20HRS | EVERY 3MONTHS/SOHRS | EVERY 6 MONTHS/100HRS | EVERY 12 MONTHS/300HRS | |
| Mrcoui Spark Plug | Clean-Check | • | ||||
| Oil Engine | EATE Check | • | ||||
| Change | • | |||||
| Air Filter | Check | • | • | |||
| Change | ||||||
| Gas Filter | Check | • | ||||
| Change | • | |||||
| Valves | Check-Adjust | • | ||||
| Gas Tank | Kaoapiotc Clean | • | ||||
Troubleshooting

- Engine don’t Start
- Check Fuel
- Check and Remove Spark Plug
- Engine Switch ON
- Check Engine Oil
Storage

- Drain Fuel Tank

- Drain Fuel Cock
- Drain Carburettor

- Replace Engine Oil

The machinery have been manufactured according to strict.standards set by our company, which are aligned with the respective european quality standards. The diesel and gasoline powered machines are provided with a warranty period\of’24 months for non-professional use and 12 months for professional use. The warranty is valid from the date of purchase of the product. Proof of the warranty right is the purchag document of the machine (retail receipt or invoice). Under no circumstances shall the company cover the relevant cost of spare parts and respective required working hours unless a copy of.the purchasedocument is presented. In case the repair has to be done by our service department the cost of transportation (to and from) is entirely borne by the sender (client). The said machines mustibe sent for repair to the company or to an authorized workshop in the appropriate way and means of transport.
WARRANTY EXEMPTIONS AND RESTRICTIONS:
- Spare parts that wear out naturally as a consequence of being.used\(bladegehain, recoil starter, spark plug, trimmer line etc.).
- Machinery damaged as a result of non-compliance with the instrugtions of thesmantufacturer.
- Machinery poorly maintained or taken care of.
- Use of improper spare parts or accessories.
- Machinery given to third entities free of charge.
- Storing the machine with fuel.
- Damage as a result of mistaken assembly.
- Damage as a result of mixing of fuel with machine oil by mistake.
- Damage as a result of poor quality of fuel or lubricant.
- Damage as a result of not cleaning the generator as required.
- Equipment that has been modified or disassembled by unauthorized personnel.
- Equipment used for rent.
The warranty covers only the free of charge replacement of the component that presents a manufacttuing defect or material failure. In case of lack of a specific spare part the company reserves the right to replace the machine with another of the same kind. After all warranty procedures have been concluded, the warranty period of the machine shall not be extended or renewed. The spare parts or machinery that are replaced remain in the possession of our company. Requirements). other than those mentioned in this warranty form, regarding repairing a machine or damage thereof, do not apply. Greek law and relative regulations apply to this warranty.
WARRANTY
This appliance is a quality product. It was designed in compliance with current technical standards and made carefully using normal, good quality materials.
The warranty period is 24 months for non-professional use and 12 months for professional use and commences on the date of purchase, which can be verified by the receipt, invoice or delivery note. During this warranty period all functional errors, which, despite the careful treatment described in our operating manual, are verifiably due to material flaws, will be rectified by our after-sales service staff. The warranty takes the form that defective parts will be repaired or replaced with perfect parts free of charge at our discretion. Replaced parts will become our property. Repair work or the replacement of individual parts will not extend the warranty period not will it result in a new warranty period being commenced for the appliance. No separate warranty period will commence for spare parts that may be ted. We cannot offer a warranty for damage and defects on appliances or their parts caused by the use of excessive force, improper treatment and servicing. This also applies for failures to comply with the operating manual and the installation or spare and accessory parts that are not included in our range of products. In the event of interference with of modifications to the appliance by unauthorized persons, the warranty will be rendered void. Damages that are attributable to improper handling, over loading, or natural wear and tear are excluded from the guarantee. Damages caused by the manufacturer or by a material defect will be corrected at no charge by repair or by providing spare parts. The prerequisite is that the equipment is handed over assembled, and complete with the proof of sale and guarantee. For a guarantee claim, only use the original packaging. That way, we can guarantee quick and smooth guarantee processing. Please send us the appliances post-paid or request a Freeway sticker. Unfortunately we will be unable to accept appliances that are not postpaid. The warranty does not cover parts ‘that are subject to natural wear and tear. If you wish to make a warranty claim, report faults or order spare parts or accessories, please contact, the ‘after-sales center: Subject to change without prior notice.

![]()





















