STIHL KM 56 R Petrol Kombi Engine
KombiSystem
In the STIHL KombiSystem a number of different KombiEngines and KombiTools can be combined to produce a power tool. In this instruction manual the functional unit formed by the Kom‐biEngine and KombiTool is referred to as the power tool.
Therefore, the separate instruction manuals for the KombiEngine and KombiTool should be used together for the power tool.
Always read and and make sure you understand both instruction manuals before using your power tool for the first time and keep them in a safe place for future reference.
Guide to Using this Manual
Pictograms
The meanings of the pictograms attached to the machine are explained in this manual.
Depending on the model concerned, the follow‐ing pictograms may be attached to your machine.
Fuel tank; fuel mixture of gasoline and engine oil
- Operate decompression valve
- Manual fuel pump
- Operate manual fuel pump
- Tube of grease
- Intake air: Summer operation
- Intake air: Winter operation
- Handle heating
Symbols in text
WARNING
Warning where there is a risk of an accident or personal injury or serious damage to property.
NOTICE
Caution where there is a risk of damaging the machine or its individual components.
Engineering improvements
STIHL’s philosophy is to continually improve all of its products. For this reason we may modify the design, engineering and appearance of our products periodically.
Therefore, some changes, modifications and improvements may not be covered in this manual.
Safety Precautions and Working Techniques
- Special safety precautions must be observed when operating a power tool.
- Both user manuals (KombiEngine and KombiTool) must be read through attentively before using the unit for the first time and kept in a safe place for future reference. Non-compliance with the user manuals
Safety Precautions and Working Techniques may cause serious or even fatal injury.
Observe all applicable local safety regulations, e.g. by trade organizations, social insurance institutions, labor safety authorities etc.
If you have never used a power tool before: Have your dealer or other experienced user show you how to operate your machine – or attend a special course to learn how to operate it.
Minors should never be allowed to use the machine – except for apprentices over the age of 16 when working under supervision.
Children, animals and bystanders must remain at a distance.
When not using the machine, it must be laid down in such a way that it does not endanger anyone. Ensure that the machine cannot be used without authorization.
The user is responsible for accidents or risks involving third parties or their property.
The machine should only be provided or loaned to people familiar with this model and its opera‐tion. The KombiEngine and KombiTool User Manuals should always be handed over with the machine.
The use of noise emitting power tools may be restricted to certain times by national or local regulations.
Anyone operating the machine must be well res‐ted, in good physical health and in good mental condition.
If you have any condition that might be aggrava‐ted by strenuous work, check with your doctor before operating a machine.
If you have a pacemaker: The ignition system of your machine produces an electromagnetic field of very low intensity. This field may interfere with some pacemakers. STIHL recommends that per‐sons with pacemakers consult their physician and the pacemaker manufacturer to reduce any health risk.
Anyone who has consumed alcohol or drugs or medicines affecting their ability to react must not operate a power tool.
Use your power tool only for the applications described in the User Manual of the KombiTool you are using.
The machine must not be used for any other purposes risk of accidents!
Do not operate the KombiEngine without a properly mounted KombiTool since this may result in damage to the machine.
Only use KombiTools and accessories that are explicitly approved for this power tool by STIHL or are technically identical. It is important that you read the chapter on “Approved KombiTools”. If you have any questions in this respect, consult your dealer. Use only high quality parts and accessories. in order to avoid the risk of accidents and damage to the machine.
STIHL recommends the use of original STIHL tools and accessories. They are specifically designed to match the product and meet your performance requirements.
Never attempt to modify your power tool in any way since this may increase the risk of personal injury. STIHL excludes all liability for personal injury and damage to property caused while using unauthorized attachments.
Do not use a high-pressure washer to clean the power tool. The solid jet of water may damage parts of the unit.
Clothing and equipment
Wear proper protective clothing and equipment.
Do not wear clothing which could become trapped in wood, brush or moving parts of the machine. Do not wear a scarf, necktie or jewelry. Tie up and confine long hair above your shoulders.
See also notes on “Clothing and Equipment” in the User Manual of the KombiTool you are using.
Transporting the machine
Always stop the engine.
By vehicle: When transporting in a vehicle, prop‐erly secure your machine to prevent turnover, damage and fuel spillage.
Refueling
Gasoline is highly flammable – keep away from fire or flame – do not spill any fuel – no smoking.
.Always shut off the engine before refueling.
Do not fuel a hot engine – fuel may spill and cause a fire.
Open the fuel cap carefully to allow any pressure build-up in the tank to release slowly and avoid fuel spillage.
Only refuel the machine in a well ventilated place. If fuel has been spilled, immediately clean the machine – do not allow your clothes to be splashed with fuel. If that happens, change your clothes at once.
After fueling, tighten down the screw-type fuel cap as securely as possible.
This helps reduce the risk of unit vibrations causing an incorrectly tightened fuel cap to loosen or come off and spill quantities of fuel.
Check for leaks. Do not start the engine if there is a fuel leak – serious or fatal burns could result!
Before starting
Check that your power tool is properly assem‐bled and in good condition – refer to appropriate chapters in the User Manuals:
- Check the fuel system for leaks, especially the visible parts, e. g., fuel cap, hose connections, manual fuel pump (only in machines with a manual fuel pump). In case of leakage and damage, do not start the engine risk of fire!Have the machine serviced by a dealer before using it
- Use only an approved combination of cutting attachment, deflector, handle and harness. All parts must be assembled properly and securely
- The stop switch must move easily to 0
- Check the choke lever, throttle trigger and throttle trigger lockout for smooth action -throttle trigger must return automatically to idle position. The choke lever must spring back from the g and < positions to the run position F when the throttle trigger lockout and throttle trigger are squeezed.
Safety Precautions and Working Techniques
- Check that the spark plug boot is secure – a loose boot may cause sparking that could ignite combustible fumes and cause a fire!
- Never attempt to modify the controls or safety devices
- Keep the handles dry and clean – free from oil and dirt – this is important for safe control of the machine
- Adjust the harness and handle(s) to suit your height and reach
To reduce the risk of personal injury, do not operate your power tool if it is damaged or not properly assembled!
To prepare for emergencies when using a harness: Practice setting down the machine quickly. To avoid damage, do not throw the machine to the ground when practicing.
See also notes on “Before Starting” in the User Manual of the KombiTool you are using.
Starting the engine
Start the engine at least 3 meters from the fuel‐ing spot, outdoors only.
Place the power tool on firm ground in an open area. Make sure you have good balance and secure footing. Hold the power tool securely. The attachment must be clear of the ground and all other obstructions because it may begin to run when the engine starts.
To reduce the risk of injury, avoid contact with the attachment
Do not drop-start the power tool – start the engine as described in the User Manual. Note that the attachment continues to run for a short period after you let go of the throttle trigger – fly‐wheel effect.
Check idle speed setting: The attachment must be stationary when the engine is idling with the throttle trigger released.
Keep easily combustible materials (e. g., wood chips, bark, dry grass, fuel) away from hot exhaust gases and hot muffler surfaces – risk of fire!
See also notes on “Starting the Engine” in the User Manual of the KombiTool you are using.
Holding and guiding the machine
Always hold the unit firmly with both hands on the handles.
Safety Precautions and Working Techniques Make sure you always have good balance and secure footing.

Left hand on loop handle, right hand on control handle, even if you are left-handed.
While working
In the event of impending danger or in an emergency, switch off the engine immediately – move the stop switch in the direction of 0.
The correct engine idle speed is important to ensure that the attachment stops moving when you let go of the throttle trigger. If the working tool still moves at idle speed, have your dealer make proper adjustments or repairs. Check and correct the idle speed setting at regular intervals. STIHL recommends you have this work done by a STIHL servicing dealer.
Be particularly alert and cautious when wearing hearing protection because your ability to hear warnings (shouts, alarms, etc.) is restricted.
Take breaks when you start getting tired or feel‐ing fatigue – risk of accidents!
Work calmly and carefully – in daylight conditions and only when visibility is good. Proceed with caution, do not put others in danger.
Use your power tool only in the areas specified in the KombiTool User Manual.
As soon as the engine is running, the power machine generates toxic exhaust gas. These gases may be odorless and invisible and may contain unburned hydrocarbons and benzene. Never run the engine indoors or in poorly ventilated locations, even if your model is equipped with a cata‐lytic converter.
To reduce the risk of serious or fatal injury from breathing toxic fumes, ensure proper ventilation when working in trenches, hollows or other con‐fined locations.
0458-540-0121-E
English
To reduce the risk of accidents, stop work immediately in the event of nausea, headache, visual disturbances (e.g. reduced field of vision), problems with hearing, dizziness, deterioration in ability to concentrate. Apart from other possibilities, these symptoms may be caused by an excessively high concentration of exhaust gases in the work area.
Operate your power tool so that it produces a minimum of noise and emissions – do not run the engine unnecessarily, accelerate the engine only when working.
To reduce the risk of fire, do not smoke while operating or standing near your power tool. Combustible fuel vapor may escape from the fuel system.
Dust, fumes and smoke produced while working may be hazardous to health! Wear respiratory protection in case of heavy dust or smoke emission.
If your power tool is subjected to unusually high loads for which it was not designed (e.g. heavy impact or a fall), always check that it is in good condition before continuing work – see also
“Before Starting”. Check in particular that the fuel system has no leaks and the safety equipment is fully operative. Never use a power tool that is no longer safe to operate. In case of doubt, contact a dealer.
Do not operate your power tool with the choke lever in the warm start position < – the engine speed cannot be controlled in this position.
Before you leave the machine: Shut the engine off.
To reduce the risk of injury, always shut off the engine before changing the KombiTool or attach‐ment.
English
To reduce the risk of accidents, stop work immediately in the event of nausea, headache, visual disturbances (e.g. reduced field of vision), problems with hearing, dizziness, deterioration in ability’s to concentrate. Apart from other possibilities, these symptoms may be caused by an excessively high concentration of exhaust gases in the work area.
Operate your power tool so that it produces a minimum of noise and emissions – do not run the engine unnecessarily, accelerate the engine only when working.
To reduce the risk of fire, do not smoke while operating or standing near your power tool. Combustible fuel vapor may escape from the fuel system.
Dust, fumes and smoke produced while working may be hazardous to health! Wear respiratory protection in case of heavy dust or smoke emission.
If your power tool is subjected to unusually high loads for which it was not designed (e.g. heavy impact or a fall), always check that it is in good condition before continuing work – see also
“Before Starting”. Check in particular that the fuel system has no leaks and the safety equipment is fully operative. Never use a power tool that is no longer safe to operate. In case of doubt, contact a dealer.
Do not operate your power tool with the choke lever in the warm start position < – the engine speed cannot be controlled in this position.
Before you leave the machine: Shut the engine off.
To reduce the risk of injury, always shut off the engine before changing the KombiTool or attach‐ment.
Vibrations
Prolonged use of the power tool may result in vibration-induced circulation problems in the hands (whitefinger disease).
No general recommendation can be given for the length of usage because it depends on several factors.
The period of usage is prolonged by:
- Hand protection (wearing warm gloves)
- Work breaks
The period of usage is shortened by: - Any personal tendency to suffer from poor circulation (symptoms: frequently cold fingers, tingling sensations).
- Low outside temperatures.
- The force with which the handles are held (a tight grip restricts circulation).
Continual and regular users should monitor closely the condition of their hands and fingers. If any of the above symptoms appear (e.g. tingling sensation in fingers), seek medical advice.
Maintenance and Repairs
Service the machine regularly. Do not attempt any maintenance or repair work not described in the instruction manual. Have all other work per‐formed by a servicing dealer.
STIHL recommends that you have servicing and repair work carried out exclusively by an author‐ized STIHL servicing dealer. STIHL dealers are regularly given the opportunity to attend training courses and are supplied with the necessary technical information.
Only use high-quality replacement parts in order to avoid the risk of accidents and damage to the machine. If you have any questions in this respect, consult a servicing dealer.
STIHL recommends the use of genuine STIHL replacement parts. These parts are specifically designed to match your machine model and meet your performance requirements.
To reduce the risk of injury from unintentional engine startup, always shut off the engine and disconnect the spark plug boot before performing any repairs, maintenance or cleaning work. –Exception: Carburetor and idle speed adjust‐ments.
Do not turn the engine over on the starter with the spark plug boot or spark plug removed since there is otherwise a risk of fire from uncontained sparking.
To reduce the risk of fire, do not service or store your machine near open flames.
Check the fuel filler cap for leaks at regular inter‐vals.
Use only a spark plug of the type approved by STIHL and make sure it is in good condition –see “Specifications”.
Inspect the ignition lead (insulation in good con‐dition, secure connection).
The included barrier bar on the loop handle must be used – see also “Mounting the Loop Handle”
Check the condition of the muffler.
To reduce the risk of fire and damage to hearing, do not operate your machine if the muffler is damaged or missing.
Do not touch a hot muffler since burn injury will result.
Approved KombiTools
The following STIHL KombiTools may be attached to the KombiEngine:
KombiTool Intended use
FS‑KM Scythe with mowing head
FS‑KM 1) Scythe with grass cutting
blade
FSB‑KM Scythe with mowing head
HL‑KM 145° Long reach hedge trimmer,
adjustable
HL‑KM 0° Long-reach hedge trimmer
FH‑KM 145° Scrub cutter
BG‑KM Blower
HT‑KM Pole pruner
BF‑KM Cultivator
FCB‑KM Edger
FCS‑KM Edger
SP‑KM Harvesters
KB‑KM Bristle brush
KW-KM Sweeper drum assembly
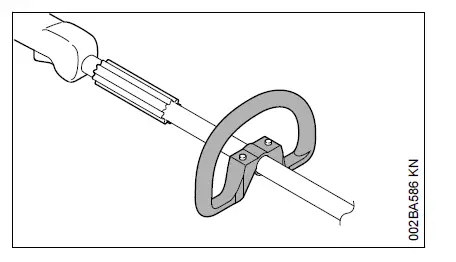
Mounting the Loop Handle

The new machine is delivered with the loop handle pre-assembled on the unit.
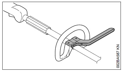
Using the Barrier Bar

The barrier bar comes as a standard with the machine and must be mounted to the loop handle.
Mounting the Barrier Bar

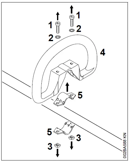
- Take out the screws (1) and remove them along with washers (2) and nuts (3)
- Remove the loop handle (4) and clamps (5)

- Insert the square nuts (1) in the barrier bar (2)
- the holes must line up

- the holes must line up
- Insert the clamp (3) in the loop handle (4) and position them together on the shaft (5)
- Position the clamp (6) against the shaft
- Position the barrier bar (2) – note position!
- Line up the holes
- Insert the screws (7) in the holes and screw them into the barrier bar as far as they will go
- Go to “Adjusting and Securing the Loop Handle”
Always leave the barrier bar attached.
Orienting and Securing the Loop Handle

By changing the distance (A), the handle can be moved into the best position for the operator and application.
- Secure the loop handle
- Line up the loop handle
- Tighten down the screws firmly – lock the nuts if necessary
Carrying ring

The carrying ring is integrated in the front end of the control handle
Fuel
The engine requires a mixture of gasoline and engine oil.
WARNING
Avoid direct skin contact with fuel and breathing in of gasoline fumes.
STIHL MotoMix
STIHL recommends using STIHL MotoMix. This pre-blended fuel is free of benzene and lead, is distinguished by a high octane rating, and always provides the proper mixing ratio.
STIHL MotoMix uses STIHL HP Ultra two-stroke engine oil for optimum engine life. MotoMix is not available in all markets.
Mixing fuel
NOTICE
Unsuitable fuels or a mixing ratio that deviates from the specification can lead to severe engine damage. The engine, seals, fuel lines and fuel tank may be damaged if low-quality gasoline or engine oil is used.
Gasoline
Use only high-quality gasoline with an octane rating of at least 90 ROC – leaded or unleaded.
Gasoline with an alcohol component exceeding 10% can cause impaired engine performance in engines with manually adjustable carburetors and thus should not be used in these engines.
Engines with M-Tronic deliver full engine performance using gasoline with an alcohol component of up to 27% (E27).
Engine oil
If you mix the fuel yourself, use only STIHL twostroke engine oil or another high-performance engine oil classified as JASO FB, JASO FC, JASO FD, ISO-L-EGB, ISO-L-EGC or ISO-LEGD.
STIHL specifies STIHL HP Ultra two-stroke engine oil or an equivalent high-performance engine oil in order to maintain emission limits over the machine’s service life.
Fueling
Mixing ratio
with STIHL two-stroke engine oil 1:50; 1:50 = 1 part oil + 50 parts gasoline
7.2.4 Examples
Quantity of gasoline
STIHL two-stroke
engine oil 1:50
Liters Liters (ml)
1 0.02 (20)
5 0.10 (100)
10 0.20 (200)
15 0.30 (300)
20 0.40 (400)
25 0.50 (500)
- Pour oil into an approved safety fuel canister first, then add gasoline and mix thoroughly
Storing fuel mixture
Store in approved safety fuel canisters only in a dry, cool and secure place protected against light
and sunlight.
Fuel mixture deteriorates with age – mix only as much as needed for a few weeks. Do not store fuel mixture for longer than 30 days. The fuel mixture can become unusable more quickly if exposed to light, sunlight or low or high temperatures.
STIHL MotoMix however can be stored for up to 5 years without any problems.
- Shake the canister containing the fuel mixture thoroughly before refueling
WARNING
Pressure may have built up in the canister – open it carefully.
- The fuel tank and the canister in which fuel mixture is stored should be cleaned thoroughly from time to time Residual fuel and the liquid used for cleaning must be disposed of in accordance with regulations
and without harming the environment!
Fueling
Preparations

Before fueling, clean the filler cap and the area around it to ensure that no dirt falls into the tank.
- Position the machine so that the filler cap is facing up.
Opening screw-type tank cap

Turn the cap counterclockwise until it can be removed from the tank opening.
- Remove the cap.
Filling up with fuel
Take care not to spill fuel while fueling and do not overfill the tank. STIHL recommends you use the STIHL filler nozzle (special accessory).
Closing screw-type tank cap

- Place the cap in the opening.
- Turn the cap clockwise as far as stop and tighten it down as firmly as possible by hand.
Starting / Stopping the Engine
Controls

- Throttle trigger lockout
- Throttle trigger
- Stop switch with Run and 0 = Stop positions.
Function of stop switch and ignition system
The stop switch is normally in the Run position, i.e. when it is not depressed: The ignition is switched on – the engine is ready to start. If the stop switch is moved to the 0 position, the igni‐tion is switched off. The ignition is switched on again automatically after the engine stops.
Starting the Engine

Press the manual fuel pump bulb (4) at least five times – even if the bulb is filled with fuel.
Cold engine (cold start)

- Press in the choke lever (5) and turn it to g at the same time.
Warm engine (warm start)

- Press in the choke lever (5) and turn it to < at the same time.
Also use this setting if the engine has been run‐ning but is still cold.
9 Starting / Stopping the Engine
Cranking

- Place the unit on the ground: Check that the working tool is not touching the ground or any other obstacles – see also “Starting / Stopping the Engine” in the KombiTool instruction man‐ual.
- Make sure you have a safe and secure foot‐ing.
- Hold the unit firmly on the ground with your left hand and press down – do not touch the throt‐tle trigger or lockout lever.
NOTICE
Do not stand or kneel on the drive tube.

- Hold the starter grip with your right hand. 9.2.4 Version without ErgoStart
- Pull the starter grip slowly until you feel it engage and then give it a brisk strong pull.

- Warm up the engine for about 3 minutes.
- Turn the idle speed screw (LA) slowly clock‐wise until the engine runs smoothly – the cut‐ting attachment must not move.
Cutting attachment runs when engine is idling
- Turn the idle speed screw (LA) counterclock‐wise until the cutting attachment stops running and then turn the screw about another 1/2 to 3/4 turn in the same direction.
WARNING
If the working tool or cutting attachment contin‐ues to run when the engine is idling, have your machine checked and repaired by your servicing dealer.
Spark Plug
- If the engine is down on power, difficult to start or runs poorly at idle speed, first check the spark plug.
- Fit a new spark plug after about 100 operating hours – or sooner if the electrodes are badly eroded. Install only suppressed spark plugs of the type approved by STIHL – see “Specifications”.
Removing the Spark Plug
- Shut off the engine.

- Remove the spark plug boot (1).
- Unscrew the spark plug (2).
Checking the Spark Plug

- Clean dirty spark plug.
- Check electrode gap (A) and readjust if neces‐sary – see “Specifications”.
- Rectify the problems which have caused foul ing of the spark plug. Possible causes are:
- Too much oil in fuel mix.
- Dirty air filter.
- Unfavorable running conditions.

WARNING
Arcing may occur if the adapter nut (1) is loose or missing. Working in an easily combustible or explosive atmosphere may cause a fire or an explosion. This can result result in serious inju‐ries or damage to property.
- Use resistor type spark plugs with a properly tightened adapter nut.
Installing the Spark Plug
- Screw the spark plug into the cylinder.
- Press the boot firmly onto the spark plug.
Engine Running Behavior
If engine running behavior is unsatisfactory even though the air filter is clean and the carburetor is properly adjusted, the cause may be the muffler.
Have the muffler checked for contamination (car‐bonization) by your servicing dealer.STIHL recommends that you have servicing and repair work carried out exclusively by an author‐ized STIHL servicing dealer.
Storing the Machine
For periods of 30 days or longer
- Drain and clean the fuel tank in a well ventila‐ted area.
- Dispose of fuel properly in accordance with local environmental requirements.
- If a manual fuel pump is fitted: Press the man‐ual fuel pump at least 5 times.
- Start the engine and run it at idling speed until it stops.
- Thoroughly clean the machine – pay special attention to the air filter.
- Remove, clean and check the attachment. Coat metal parts with corrosion inhibiting oil.
- Store the machine in a dry and secure location Keep out of the reach of children and other unauthorized persons.
Maintenance and Care
| The following intervals apply to normal operating conditions only. If your daily working time is longer or operating conditions are difficult (very dusty work area, etc.), shorten the specified intervals accord‐ ingly. | before starting work | after finishing work or daily | after each refueling stop | weekly | monthly | every 12 months | if problem | if damaged | as required | |
| Complete machine | Visual inspection (condi‐ tion, leaks) | X | X | |||||||
| Clean | X | |||||||||
| Control handle | Check operation | X | X | |||||||
| Air filter | Clean | X | X | |||||||
| Replace | X | |||||||||
| Manual fuel pump | Check | X | ||||||||
| Have repaired by servic‐ ing dealer1) | X | |||||||||
| Pickup body in fuel tank | Check | X | ||||||||
| Replace | X | X | X | |||||||
| Fuel tank | Clean | X | X | |||||||
| Carburetor | Check idle adjustment – the working/cutting attachment must not move | X | X | |||||||
| Readjust idle | X | |||||||||
| Spark plug | Readjust electrode gap | X | ||||||||
Minimize Wear and Avoid
Damage
Observing the instructions in this manual helps reduce the risk of unnecessary wear and dam‐age to the power tool.
The power tool must be operated, maintained and stored with the due care and attention described in this owner’s manual.
The user is responsible for all damage caused by non-observance of the safety precautions, oper‐ating and maintenance instructions in this man‐ual. This includes in particular:
- Alterations or modifications to the product not approved by STIHL.
- Using tools or accessories which are neither approved or suitable for the product or are of a poor quality.
- Using the product for purposes for which it was not designed.
- Using the product for sports or competitive events.
- Consequential damage caused by continuing to use the product with defective components
Maintenance Work
All the operations described in the “Maintenance Chart” must be performed on a regular basis. If these maintenance operations cannot be performed by the owner, they should be performed by a servicing dealer.
STIHL recommends that you have servicing and repair work carried out exclusively by an authorized authorized STIHL servicing dealer. STIHL dealers are regularly given the opportunity to attend training courses and are supplied with the necessary technical information.
If these maintenance operations are not carried out as specified, the user assumes responsibility for any damage that may occur. Among other parts, this includes:
- Damage to the engine due to neglect or deficient maintenance (e.g. air and fuel filters), incorrect carburetor adjustment or inadequate cleaning of cooling air inlets (intake ports, cylinder fins).– Corrosion and other consequential damage
resulting from improper storage. - Damage to the machine resulting from the use of poor quality replacement parts.
Parts Subject to Wear and Tear
Some parts of the power tool are subject to normal wear and tear even during regular operation in accordance with instructions and, depending on the type and duration of use, have to be replaced in good time. Among other parts, this includes:
- Clutch
- Filters (air, fuel)
- Rewind starter
- Spark plug
Main Parts

- Manual fuel pump
- Fuel cap
- Tank
- Starter grip
- Muffler
- Carburetor adjusting screws
- Choke lever
- Air filter cover
- Spark plug boot
- Machine support
- Throttle trigger
- Throttle trigger lockout
- Stop switch
- Carrying ring
- Loop handle
- Barrier bar
- Shaft
- Coupling sleeve
- Wing screw
- Sleeve
Serial number.
Specifications
Engine
Single-cylinder two-stroke engine
Displacement: 27.2cm3
Cylinder bore: 34 mm
Piston stroke: 30 mm
Engine power to ISO 8893: 0.8 kW (1.1 hp) at
8500 1/min
Idle speed: 2800 rpm
Cut-off speed (nominal
value):
10000 rpm
Ignition system
Electronic magneto ignition Spark plug (suppressed): NGK CMR 6 H,
BOSCH USR 4AC
Electrode gap: 0.5 mm
Fuel system
All-position diaphragm carburetor with integral fuel pump
Fuel tank capacity: 340 cm3 (0.34 l)
Weight
without fuel, without KombiTool
KM 56 RC with ErgoStart: 4.3 kg
Sound and Vibration Levels
For further details on compliance with Vibration
Directive 2002/44/EC, see
www.stihl.com/vib
KombiTools
For version see “Approved KombiTools”.
To determine the noise and vibration values, idle speed and nominal maximum speed are considered in the following ratios:
for FCS‑KM, FCB‑KM, FS‑KM,1 to 1
FSB-KM, FH‑KM and HT‑KM
for HL‑KM 1 to 4
for BF‑KM, KB‑KM, KW‑KM, BG‑KM
and SP‑KM 1 to 6
The exact noise and vibration specifications depend on the KombiTool being used and are described in the User Manual of the KombiTool.19.5.2 Sound pressure level Lpeq measured
according to ISO 22868, ISO 11201,
ISO 11789
KM 56 RC: 90 dB(A) … 96 dB(A)
19.5.3 Sound power level Lw measured
according to ISO 22868, ISO 3744
KM 56 RC: 103 dB(A) … 109 dB(A)
19.5.4 Vibration level ahv,eq to ISO 20643,
ISO 22867, ISO 11789
Handle, left
KM 56 RC: 4.7 m/s2 … 8.5 m/s2
Maintenance and Repairs
Handle, right
KM 56 RC: 4.8 m/s2 … 8.2 m/s2
The K‑factor in accordance with Directive 2006/42/EC is 2.0 dB(A) for the sound pressure level and sound power level; the K‑factor in accordance with Directive 2006/42/EC is
2.0 m/s2 for the vibration level.
19.6 REACH
REACH is an EC regulation and stands for the Registration, Evaluation, Authorization and Restriction of Chemical substances.
For information on compliance with the REACH regulation (EC) No. 1907/2006 see www.stihl.com/reach
Exhaust Emissions
The CO2 value measured in the EU type approval procedure is specified at www.stihl.com/co2 in the product-specific technical data.
The measured CO2 value was determined on a representative engine in accordance with a standardized test procedure under laboratory conditions and does not represent either an explicit or implied guarantee of the performance of a specific engine.
The applicable exhaust emission requirements are fulfilled by the intended usage and maintenance described in this User Manual. The operating license shall be void if the engine is modified in any way.
Maintenance and Repairs
Users of this machine may only carry out the maintenance and service work described in this user manual. All other repairs must be carried out by a servicing dealer.
STIHL recommends that you have servicing and repair work carried out exclusively by an author‐ized STIHL servicing dealer. STIHL dealers are regularly given the opportunity to attend training courses and are supplied with the necessary technical information.
When repairing the machine, only use replace‐ment parts which have been approved by STIHL for this power tool or are technically identical. Only use high-quality replacement parts in order to avoid the risk of accidents and damage to the machine.
STIHL recommends the use of original STIHL replacement parts.
Original STIHL parts can be identified by the STIHL part number, the { logo and the STIHL parts symbol K (the symbol may appear alone on small parts)
Disposal
Contact the local authorities or your STIHL serv‐icing dealer for information on disposal.
Improper disposal can be harmful to health and pollute the environment.
- Take STIHL products including packaging to a suitable collection point for recycling in accord‐ance with local regulations.
- Do not dispose with domestic waste.
EC Declaration of Conformity
ANDREAS STIHL AG & Co. KG Badstr. 115
D-71336 Waiblingen
Germany
declare under our sole responsibility that
Designation: KombiEngine
Make: STIHL
Series: KM 56 R
KM 56 RC
KM 56 RC-E
Serial identification number: 4144
Displacement: 27.2cm3
KM 56 RC-E Serial identification number: 4144 Displacement: 27.2cm3
conforms to the relevant provisions of Directives 2011/65/EU, 2006/42/EC and 2014/30/EU and has been developed and manufactured in com‐pliance with the following standards in the versions valid on the date of production:
EN ISO 12100, EN 55012, EN 61000‑6‑1 (in conjunction with the following KombiTools: BF‑KM, BG‑KM, FCB‑KM, FCS‑KM, FH‑KM, FS‑KM, FSB‑KM, HL‑KM, HT‑KM, KB‑KM, KW‑KM and SP-KM)The KombiEngine described here may be operated only in conjunction with the KombiTools approved by STIHL for use with this KombiEngine.
Technical documents deposited at:
ANDREAS STIHL AG & Co. KG Produktzulassung
The year of manufacture and serial number are applied to the product.
Done at Waiblingen, 15.07.2021 ANDREAS STIHL AG & Co. KG pp
UKCA Declaration of Con‐ formity
ANDREAS STIHL AG & Co. KG Badstr. 115
D-71336 Waiblingen
Germany
declare under our sole responsibility thatDesignation: KombiEngine
Make: STIHL
Series: KM 56 R
KM 56 RC
KM 56 RC-E
Serial identification number: 4144
Displacement: 27.2cm3
KM 56 RC-E Serial identification number: 4144
Displacement: 27.2cm3
complies with the relevant provisions of the UK regulations The Restriction of the Use of Certain Hazardous Substances in Electrical and Elec‐tronic Equipment Regulations 2012, Supply of Machinery (Safety) Regulations 2008, and Elec‐tromagnetic Compatibility Regulations 2016 and has been developed and manufactured in accordance with the versions of the following standards valid on the date of manufacture:
EN ISO 12100, EN 55012, EN 61000‑6‑1 (in conjunction with the following KombiTools: BF‑KM, BG‑KM, FCB‑KM, FCS‑KM, FH‑KM, 23 UKCA Declaration of Conformity
FS‑KM, FSB‑KM, HL‑KM, HT‑KM, KB‑KM, KW‑KM and SP-KM)
The KombiEngine described here may be operated only in conjunction with the KombiTools approved by STIHL for use with this KombiEn‐gine.
Technical documents deposited at:
ANDREAS STIHL AG & Co. KG
The year of manufacture and serial number are indicated on the product.
Done at Waiblingen, 15.07.2021 ANDREAS STIHL AG & Co. KG pp
Dr. Jürgen Hoffmann
Director Product Certification & Regulatory Affairs























