NAKAYAMA PS3100 Petrol Machine

General safety instructions
This machine can cause serious injuries. Read the instructions carefully for the correct handling, preparations, maintenance, starting and stopping of the ma-chine. Be familiar with all controls and the proper use of the machine.
Keep this manual handy so that you may refer to it later whenever any questions arise. Also note, if you have any questions which cannot be answered herein, contact the dealer from whom you purchased the product.
Never allow children or anyone unable to fully understand the directions given in the manual to use the machine.
Personal safety equipment
When cutting, make sure to wear the following safety equipment:
- Helmet
- Ear protectors
- Protection goggles or face protector
- Thick work gloves
- Non-slip-sole work boots
- Do not wear loose clothing, jewellery, short trousers, sandals, or go barefoot. Do not wear anything which might be caught by a moving part of the unit. Secure hair so it is above shoulder length.
Workplace
Never start the engine inside a closed room or building. Exhaust gases contain dangerous carbon monoxide. Never use the product:
- A. When the ground is slippery or when you can’t maintain a steady posture.
- B. At night, at times of heavy fog, or at any other times when your field of vision might be limited and it would be difficult to gain a clear view of the working area.
- C. During rain storms, lightning storms, times of strong or gale-force winds, or any other times when weather conditions might make it unsafe to use the product.
- The machine may not be used unless it is undamaged and functions properly. If the equipment or parts of it have become defective, have it repaired by a specialized technician.
- Always obey the current national and international safety, health, and working regulations.
- Do not operate the machine unless you did not find any faults on checking. If a part has become defective, make sure to replace it before you use the machine again.
- The environment must be free of easily flammable and explosive materials.
- Do not overload the machine. Use the machine only for its intended purpose.
- Always work with care, and stay alert: Do not operate the machine when you are tired, ill, or under the influence of alcohol, drugs or medication, as you will no longer be able to operate the machine safely.
Before starting the machine
- Make sure that no persons or animals are within your work area when you start working.
- Make sure there are no obstacles in your work area.
- Ensure that your machine has been fully and properly assembled.
- Check that the machine works properly and make sure, in particular, that the chain rail or hedge trimmer head sits tightly and properly, and that the On/Off switch works properly. Do not operate the machine with a damaged or extensively worn cutting device.
- The machine will vibrate during operation. This may cause its screws and parts to loosen. Therefore, check all screws and parts for tightness.
Using the product
Warning: Cut only materials recommended by the manufacturer. And use only for tasks explained in the manual.
- Keep bystanders and animals at least 15m away from the operating point. If you are approached immediately stop the engine.
- Grip the handles firmly with both hands using your whole hand.
- Assume a firm standing position during operation:
- Make sure you cannot slip or fall over.
- Do not stretch your arms too far in front of you.
- Do not work above shoulder level.
- After starting the engine, check to make sure that the cutting attachment stops rotating when the throttle is moved fully back to its original position. If it continues to rotate even after the throttle has been moved fully back, turn off the engine and take the unit to the dealer for repair.
- If the unit starts to shake or vibrate, turn off the engine and check the whole unit. Do not use it until the trouble has been properly corrected.
- Keep all parts of your body away from rotating cutting attachment and hot surfaces.
- Never touch the muffler, spark plug, or other metallic parts of the engine while the engine is in operation or immediately after shutting down the engine. Doing so could result in serious burns or electrical shock.
- While the motor is still hot, keep the machine away from anything flammable, such as dry grass, debris, leaves or excessive lubricant.
- Before laying down the machine, make sure the motor is turned off!
Never work alone!
- Make sure you are within shouting distance or have visual or other kind of contact with another person who will be able to provide first aid in an emergency situation.
- Always be aware of your surroundings and stay alert for possible hazards that you may not hear due to the noise of the machine
- Never operate the pruner at an angle greater than 60° in order to reduce the risk of being struck by falling objects during operation.
- Avoid operating while people, especially children are nearby.
Maintenance
- In order to maintain your product in proper working order, perform the maintenance and checking operations described in the manual at regular intervals.
- Always be sure to turn off the engine before performing any maintenance or checking procedures.
The metallic parts reach high temperatures immediately after stopping the engine - Use only original replacement parts. Only these spare parts are guaranteed to be designed and suitable for use with this machine. Using other spare parts will void your warranty and may cause danger to yourself and your surroundings.
- In the event that any part must be replaced or any maintenance or repair work not described in this manual must be performed, please contact our servicing dealer for assistance.
- Under no circumstances should you ever take apart the product or alter it in any way. Doing so might result in the product becoming damaged during opera-tion or the product becoming unable to operate properly.
Handling fuel
- The engine is designed to run on a mixed fuel, which contains highly flammable gasoline. Never store cans of fuel or refill the tank of the unit in any place where there is a boiler, stove, wood fire, electrical sparks, welding sparks, or any other source of heat or fire which might ignite the fuel.
- Never smoke while operating the unit or refilling its fuel tank.
- When refilling the tank, always turn off the engine and allow it to cool down. Take a careful look around to make sure that there are no sparks or open flames anywhere nearby before refuelling.
- Wipe spilled fuel completely using a dry rag if any fuel spillage occurs during refuelling.
- After refuelling, screw the fuel cap back tightly onto the fuel tank and then carry the unit to a spot 3 m or more away from where it was refuelled before turning on the engine.
Transport and Storage
- When you finish cutting in one location and wish to continue work in another spot, turn off the engine, lift up the unit and carry it paying attention to the blade.
- When transporting or storing the machine always fit the cutting device guard or guide bar cover.
- When hand-carrying the product, cover over the cutting part if necessary, lift up the product and carry it paying attention to the blade.
- Never transport the product over rough roads over long distances by vehicle without removing all fuel from the fuel tank. If doing so, fuel might leak from the tank during transport.
- Protect the machine from damage when transporting it.
Kickback safety precautions for chain saw users
- Kickback may occur when the nose or tip of the guide bar touches an object, or when the wood closes in and pinches the saw chain in the cut. Tip contact in some cases may cause a lightning fast reverse reaction, kicking the guide bar up and back towards the operator. Pinching the saw chain along the top of the guide bar may push the guide bar rapidly back towards the operator. Either of these reactions may cause you to lose control of the saw, which could result in serious personal injury.
- Do not rely exclusively on the safety devices built into your saw. As a chain saw user you should take several steps to keep cutting jobs free from accident or injury.1. Kickback may occur when the nose or tip of the guide bar touches an object, or when the wood closes in and pinches the saw chain in the cut. Tip contact in some cases may cause a lightning fast reverse reaction, kicking the guide bar up and back towards the operator. Pinching the saw chain along the top of the guide bar may push the guide bar rapidly back towards the operator. Either of these reactions may cause you to lose control of the saw, which could result in serious personal injury.
- Do not rely exclusively on the safety devices built into your saw. As a chain saw user you should take several steps to keep cutting jobs free from accident or injury.
- With a basic understanding of kickback you can reduce or eliminate the element of surprise. Sudden surprise contributes to accidents.
- Keep a good grip on the saw with both hands, the right hand on the rear handle, and the left hand on the front handle, when the engine is running. Use a firm grip with thumbs and fingers encircling the chain saw handles. A firm grip will help you reduce kickback and maintain control of the saw.
- Make certain that the area in which you are cutting is free from obstructions. Do not let the nose of the guide bar contact a log, branch, or any other obstruc-tion which could be hit while you are operating the saw.
- Cut at high engine speeds.
- Follow the manufacturer’s sharpening and maintenance instructions for the saw chain.
- Only use replacement bars and chains specified by the manufacturer or the equivalent.
- Make sure the chain and guide bar are correctly adjusted before operating the equipment (see page 8 for adjustment procedures). Never attempt chain adjustment with the engine running!
- Always make sure the cutting attachment is properly installed and firmly tightened before operation.
- Never use a cracked or warped guide bar: replace it with a serviceable one and make sure it fits properly.
- If a saw blade should bind fast in a cut, shut off the engine immediately. Push the branch or tree to ease the bind and free the blade.
- Do not operate the pole pruner with the muffler removed.
- When cutting a limb that is under tension, be alert for spring back so that you will not be struck by the moving limb.
- Always stop the engine immediately and check for damage if you strike a foreign object or if the machine becomes entangled. Do not operate with damaged or broken equipment.
- Do not make unauthorized modifications or substitutions to the guide bar or chain.
- Never allow the engine to run at high R.P.M. without a load. Doing so could damage the engine. Keep the pruner as clean as possible. Keep it free of loose vegetation, mud, etc.
Main Parts 
- Muffler
- Throttle cable
- Throttle set button
- Loop handle
- Quick Joint
- Shaft tube
- Suspension point
- Throttle trigger
- Air filter
- Trimmer blade
- Transmission
- Transmission
- Bar and chain
- Chain cover
- Guard
- 3T Blade
- Nylon head
| Technical Data | ||
| Model: | PS3100 | PS5100 |
| Displacement: | 26cc | 43cc |
| Power: | 1Hp | 1.7Hp |
| Bar Length: | 25cm | 25cm |
| Bar and chain type: | 3/8LP, 1,3mm | 3/8LP, 1,3mm |
| Pipe diameter: | 26mm | 26mm |
- The manufacturer reserves the right to make minor changes to product design and technical specifi-cations without prior notice unless these changes significantly affect the performance and safety of the products. The parts described / illustrated in the pages of the manual that you hold in your hands may also concern other models of the manufacturer’s product line with similar features and may not be included in the product you just acquired.
- Please note that our equipment has not been designed for use in commercial, trade or industrial applica-tions. Our warranty will be voided if the machine is used in commercial, trade or industrial businesses or for equivalent purposes.
- To ensure the safety and reliability of the product and the warranty validity, all repair, inspection, repair or replacement work, including maintenance and special adjustments, must only be carried out by techni-cians of the authorized service department of the manufacturer.
Assembly instructions and main adjustments
Mounting the engine (A)
- Push the shaft tube toward the clutch housing and rotate it by hand to check that the drive shaft is en gaged with the gears.
- Insert the shaft tube into the clutch housing until it bottoms, and align the positioning holes on the clutch housing and the shaft tube and install the screw. When difficult to engage, twist the engine slightly.
- Fasten the clamp securely with two screws.
Important: Tighten the screws gradually by turning them.
Connecting the throttle wire (B)
- Remove the air cleaner cover.
- Connect the end of the throttle wire to the joint on the top of the carburettor.
- M3 screw
- Adjuster
- Idling adjusting screw
- Full on stopper
- Insert the cable to the end of the adjuster
Connect the throttle wire with carburettor. Insert the cable to the end of adjuster fix the throttle cable by tighten ing the M3 screw. (Tightening torque: 0.4
– 0.8 N.m.)
Make sure the TOPPER-PLATE of carburetor moves to contact with the idling adjusting screw and the wing-arm of carburettor moves to contact with Full on stopper by gripping the throttle lever.
Connecting the switch wires
Connect the switch wires between the engine and the main unit. Pair the wires of the same color.
Suspension Point (C)
Note: The suspension point must match the location of the arrow mark.
- Suspension Point
- Arrow mark
Installing the handle (D), (E), (F)

Note: The handle is put during the arrow mark.
- Minimum spacing
- 48cm

- Knob bolt
- Cutting attachment guard
- Plate
- Screw
Put the cutting attachment guard on the gearbox, att ach it with the 4 screws and hardware provided.
Installing the cutting head (I)
- While locking the gear shaft, by inserting the supplied tool into the upper holder on the gear box, loosen and remove the hexagon nut (left-handed).
- Then screw in the cutting head to the gear shaft over the holders Hand-tighten it securely.
Harness
Warning: Always wear the provided harness when using the machine!
Always make sure the machine is hooked securely to the harness. If you don’t, you will be unable to control the machine safely. This can result in injury to yourself or others. Never use a harness with a defective quick release or any other damage.
- Wear the provided harness without twisted bands, with the hanger on your right side.
Balance the unit
- Hook your machine to the hanger.
- Adjust the bands of the harness to have the blade parallel to the ground when standing in your normal working position to provide you most effectiveness and comfort on operating the machine.
- In order to prevent the hanger position to change during operation, turn up the extra part of the band from the buckle.
- When correctly adjusted, check the correct working of the harnesses “quick release”.
Quick Release
- The harness is equipped with a “quick release”devise.
- To release the machine from the harness in emergency situations, please follow the procedure as explained below.
- Warning: Make sure to check proper working of the quick release device before operating the machine. Make sure to hold the unit securely when using the quick release.
- While holding the unit by your right hand securely, press both sides of the buckle, sides of the buckle.
Attaching the trimming mechanism (J)
- Main pipe
- Trimming mechanism
- Screw hole
- Screw
- Fastening bolt
- Remove the screw screwed into the end of the trim ming mechanism.
- Insert the end of the trimming mechanism into the main pipe.
- Line up the hole on the end of the trimming mecha nism into which the screw is to be inserted with the hole on the main pipe, and screw the screw firmly in.
- Using a wrench, screw in the bolt provided to fix the trimming mechanism into place.
Balance unit
- Put on strap and attach unit to strap.
- Depending on the working posture, slide clamp up or down until unit balances and the strap fits your body.
Attaching the pruning mechanism (K), (L), (M), (N), (O)
- Main pipe
- Transmission
- Screw hole
- Fastening bolt
- Bolt
- Remove the cap on the end of the main pipe.
- Remove the screw screwed into the end of the trans mission.
- Insert the end of the gear case into the main pipe.
- Line up the hole on the end of the transmission into which the screw is to be inserted with the hole on the main pipe, and screw the screw firmly in.
- Using a wrench, screw in the bolt provided to fix the mechanism into place (L).
- Guide bar
- Saw chain
- Transmission
- Sprocket
- Chain tension adjust screw
- Nut
- Chain tensioner nut
- Chain cover
Install the guide bar and the saw chain on the transmis sion as follows: Warning: The saw chain has very sharp edges. Use protec tive gloves for safety.
- Loosen a nut and remove the chain cover.
- Mount the guide bar then f it the saw chain around the bar and sprocket.
Warning: Pay attention to the correct direction of the saw chain.
- Fit the chain tensioner nut into the lower hole of the guide bar, then install the chain cover, and fasten the mounting nut to finger tightness (M).
- Hole
- Moving direction
- Chain tensioner nut
- Adjust the chain tension by turning the tensioner screw until the tie straps just touch the bottom side of the bar rail (N).(1) Chain tension adjusting screw
- (a) Loosen
(b) Tighten - Tighten the mounting nut securely with the bar tip held up (torque: 8.9- 11.7 Nm./90 – 120 kg-cm). Then check the chain for smooth rotation and correct ten sion while moving it by hand. If necessary, readjust (O).
Tighten
Warning: It is very important to maintain the proper chain tension. Rapid wear of the guide bar or the chain coming off easily can be caused by improper ten-sion. Especially when using a new chain, take good care of it since it should expand when first used.
Balance unit
- Put on strap and attach unit to strap.
- Depending on the working posture, slide clamp up or down until unit balances and the strap fits your body.
Fuel and chain oil
Warning: Gasoline is very flammable. Avoid smoking or bringing any flame or sparks near fuel.
- Wipe up all spills before starting the engine.
- Make sure to stop the engine and allow it cool before starting the engine.
- Keep open flames away from the area where fuel is handled or stored.
Important: Never use oil for 4 cycle engine use or water cooled 2-cycle engine.
Never use “FUEL WITH NO OIL (RAW GASOLINE)”.
- Never use fuel laced with water.
- Mixed fuel which have been left unused for period of one month or more may clog the carburettor or result in the engine failing to operate properly. Put re-mained fuel into an air-tight container and keep it in the dark and cool room.
- Please ask for “mixed gasoline for air-cooled 2-cycle engines” at your nearest gas station, or use fuel made by putting unleaded 95 octane gasoline and air-cooled 2-cycle special engine oil into a mixing container in accordance with the following ratios and then shaking to mix well.
Mixing ratios:
Use a special type 2-cycle oil (30ml of oil for each 1L of unleaded gasoline 95).
Chain oil lube
Use an appropriate chainsaw chain lube.
Note: Do not use wasted or regenerated oil that can cause damage to the oil pump.
Fuelling the unit
- Untwist and remove the fuel cap. Rest the cap on a dustless place.
- Put fuel into the fuel tank to 80% of the full capacity.
- Fasten the fuel cap securely and wipe up any fuel spillage around the unit.
Operation (P)
Stop switch
- Set the stop switch to the ‘‘ – ‘‘position. Set the throttle trigger to the start position (1 – 2 – 3).
Place the unit on a flat, firm place.
Keep the cutting head clear of everything around it. - Press the primer bulb several times until the overflow fuel comes into the transparent tube.
Warning: The product is equipped with a centrifugal clutch mechanism, so the cutting attachment begins to ro tate as soon as the engine is started by putting the throttle into the start position. When starting the en gine, place the product onto the ground in a flat clear area and hold it firmly in place so as to ensure that neither the cutting part nor the throttle come into contact with any obstacle when the engine starts.
Important: Avoid pulling the rope to its end or returning it by re-leasing the knob. Such actions can cause starter failures. - Move the choke lever downward to open the choke and restart the engine (Q).
Stopping the engine
- Release the throttle lever and run the engine for half a minute.
- Shift the stop switch to the STOP position.
Important: Except for an emergency, avoid stopping the engine while pulling the throttle lever. When it doesn’t stop at the stop switch, move the choke lever to the closed position.
Adjusting the throttle cable (R)
The normal play is 1 or 2mm when measured at the carburetor side end. Readjust the cable adjuster as required
- Cable adjuster
Adjusting the idling speed (S)
- Idle adjusting screw
- When the engine tends to stop frequently at idling mode, turn the adjusting screw clockwise.
- When the cutting head keeps rotating after releasing the trigger, turn the adjusting screw counter-clockwise. Note: Warm up the engine before adjusting the idling speed.
Warning: The cutting head will start rotating upon the engine’s starting.
Feed fuel into the fuel tank and tighten the cap securely (T), (U).
- Fuel
- Chain oil
- Rest the unit in a flat, firm place. Keep the cutting head off the ground and clear of surrounding objects, as it will start rotating upon starting of the engine.
- use the primer several times until overflown fuel comes out in the transparent tube.
- Move the choke lever to the closed position | \ |.
A cutting (line head)
Warning: 1. Always wear eye protection such as safety goggles. Never lean over the rotating cutting head. Rocks or other debris could be thrown into eyes and face and cause serious personal injury.
Keep the cutting attachment guard in place at all times when the unit is operated.
Trimming Grass and Weeds
Always remember that the TIP of the line does the cutting. You will achieve better results by not crowding the line into the cutting area. Allow the unit to trim at its own pace.
- Hold the unit so the head is off the ground and is tilted about 20 degrees toward the sweep direction.
- You can avoid thrown debris by sweeping from your left to the right.
- Use a slow, deliberate action to cut heavy growth.
The rate of cutting motion will depend on the material being cut. Heavy growth will require slower action than will light growth. - Never swing the unit so hard as you are in danger of losing your balance or control of the unit.
- Try to control the cutting motion with the hip rather than placing the lull workload on the arm and hands.
- Take precautions to avoid wire, grass and dead, dry, long-stem weeds from wrapping around the head shaft. Such materials can stall the head and cause the clutch to slip, resulting in damage to the clutch system if repeated frequently.
Adjusting the line length
Our brush cutters are equipped with a semi-auto-type nylon line head that allows the operator to ad vance the line without stopping the engine. When the line becomes short, lightly tap the head on the ground while running the engine at full throttle. Each time the head is ped, the line advances about 25.4mm For better effect, tap the head on solid ground or hard soil. Avoid ping in thick, tall grass as the engine may stall by overload.
Choosing the right cutting blade (optional)
- Choose a suitable recommended cutting attachment according to the object to be cut.
- Heavy weeds: 9’’ 8-tooth
- Light vegetation: 9’’ 4-tooth or Nylon line head
- Grass: Nylon line head
- Warning: When sharpening, removing, or reattaching the blade, be sure to wear thick, sturdy gloves and use only proper tools and equipment to prevent Injury.
- Setup (W)
- Cover
- Holder
- Detach the line head assembly completely.
- Put on the blade, making the marked side face the holder, put on the outer holders, and fasten the blade with the blade nut. Important: Change the cutting attachment guard, which is suitable for the metal blade.
Tightening torque: 1.5 – 2.0 Nm
Attach the main handle for safe operation.
Cutting method
- a) Use the front left side cutting.
- b) Guide the blade from your right to left with it tilted slightly to your left.
- c) When mowing a wide area, start working from your left end to avoid interference of cut grass .
- d) The blade may be seized by weeds if the engine speed is too low, or the blade cuts too deep into weeds. Adjust the engine speed and cutting depth according to the condition of object.
Warning: If the grass or other object gets caught in the blade, or if the unit starts to shake or vibrate, turn off the engine and check the whole unit. Change the blade if it has been damaged.
Turn off the engine and make sure the blade has completely stopped before checking the blade, and removing any object got caught ln.
Operation
- Check the bolt to fasten the blade and be sure the bolt has no fault, and no abrasion.
- Be sure that the blade and the holder have been fas tened according to instruction and that the blade turns smoothly without abnormal noise.
Warning: The rotating parts fastened incorrectly may cause serious accident to the operator. Make sure that the blade is not bent, warped, cracked, broken or damaged. If you find any error to the blade, discard it and replace with a new one, which is certified by your supplier.
Warning: By using the shoulder strap, hang the unit on your right side. Adjust the strap length so that the cutting head may become parallel to the ground. Make sure to use shoulder strap and cutting attach ment guard. If not, it is very dangerous when you slip or lose your balance.
Controlling the blade bounce
Blade thrust can cause serious personal injury. Carefully study this section. It is important that you understand what causes blade thrust, how you can reduce the chance of blade thrust and how you can remain in control of the unit if blade thrust does occur.
- What causes blade thrust:
Blade thrust can occur when the moving blade contacts an object that it cannot cut. This contact causes the blade to stop for an instant and then suddenly move or ounce away from the object that was hit. The operator can lose control of the unit and the blade can cause serious personal injury to the operator or any person nearby if the blade contacts any part of the body. - How you can reduce the chance of blade thrust:
- a. Recognize that blade thrust can happen. By un derstanding and knowing about bounce, you can help eliminate the element of surprise.
- b. Cut fibrous weeds and grass only. Do not let the blade contact materials it cannot cut such as hard, woody vines and bushes or rocks, fences, metal, etc.
- c. Be extra prepared for bounce if you must cut where you cannot see the blade making contact such as in areas of dense growth.
- d. Keep the blade sharp. A dull blade increases the chance of bounce.
- e. Avoid feeding the blade too rapidly. The blade can bounce away from material being cut if the blade is fed faster than its cutting capability.
- f . Cut only from your right to your left.
- g. Keep your path of advance clear of material that has been cut and other debris.
How you can maintain the best control:
- a. Keep a good, firm grip on the unit with both hands.
- A firm grip can help neutralize bounce. Keep your right and left hands completely around the respec tive handles.
b. Keep both feet spread apart in a comfortable stance and yet braced for the possibility that the unit could bounce. Do not overreach. Keep firm footing and balance.
Transporting the unit
When you finish cutting in one location and wish to continue work in another spot, turn off the engine, lift up the unit and carry it paying attention to the blade. Never forget to place the protective cover over the blades. When transporting the unit over long distances, detach the blade and fasten the unit by ropes.
Hedge-trimmer and pole pruning head
Warning: This product is equipped with extremely sharp blades, and when used improperly these blades can be ex tremely dangerous and improper handling can cause accidents, which may in turn lead to serious injury or death. For this reason, you should always be care ful to follow the following Instructions when using your trimmer.
Never hold the trimmer in a way in which the blades are pointed towards someone else. Never allow the blades to come into proximity with your body while the engine of the trimmer is in opera tion. Always be sure to turn off the engine before chang ing the angle of the blades, removing branches which have become stuck in the blades, or at any other time when coming into close proximity with the blades. Always wear work gloves made of leather or some other sturdy material when using the trimmer. Always place the blade cover provided with the trim mer over the blades when not in use.
Falling branches may fall onto the face or into the eyes, resulting In Injuries, scratches, and cuts, and for this reason you should always be sure to wear a helmet and face protector when using your trimmer.
Important: The thickness of branches, which may be cut using this trimmer, is limited to up to approximately 5 mm. Never try to cut branches thicker than this, as doing so may result in damage to the trimmer.
Adjusting the angle of the cutting blades (X)
- Clamp lever
- Trimming mechanism
- Stop the engine
- Turn the bolt located on the top of the trimming mechanism counterclockwise to loosen it.
Checking oil supply (Y)
- Chain oil
After starting the engine, run the chain at medium speed and see if chain oil has scattered off, as shown in the figure.
Note: The oil reservoir has a capacity sufficient to provide about 40 minutes of cutting time (when set to deliver the mini mum flow rate, or about as long as you get from a tank of fuel). Be sure to refill the oil tank every time when refu elling the saw.
Adjusting the oil flow rate
Warning: Never fill the oil reservoir nor adjust the oiler with the engine running.
Important: An increase in the bar oil flow rate will speed oil consumption, requiring more frequent checks on the oil reservoir.
To ensure sufficient lubrication, it may be necessary to check the oil level more frequently than at fuel tank refills.
The guide bar and chain are lubricated automatically by a pump that operates whenever the chain rotates. The pump is set at the factory to deliver a minimum flow rate, but it can be adjusted in the field. A temporary increase in oil f low is often desirable when cutting things like hard wood or wood with a lot of pitch.
Adjust the pump as follows (Z):
- Stop the engine and make sure the stop switch is in the OFF position.
- Place the unit on its side with the oil reservoir up.
- Oil tank,
- Chain cover
- The oil flow adjusting screw must be pressed in slightly in order to turn. Failure to do so could damage the pump and screw.
- With a screwdriver, push in on the oil flow rate adjust ing screw and turn in the desired direction (there are three incremental settings):
- (a) Clockwise-decrease lubrication
- (b) Counter clockwise-increase lubrication
- (c) Middle
WARNING: Always wear work gloves made of leather or some other sturdy material when using the pole-saw. Falling branches may fall onto the face or into the eyes, resulting in injuries, scratches, and cuts, and for this reason you should always be sure to wear a helmet and face protector when using your pole-saw.
Maintenance
| System/components | Procedure | Before use | Every 25 hours after | Every 50 hours after | Every 100 hours after | Note | |
| ENGINE | Fuel licks, fuel spillage | Wipe out | Ÿ | ||||
| Fuel tank, air filter, fuel filter | Inspect/clean | Ÿ | Ÿ | Replace if necessary | |||
| Idle adjusting screw | See adjusting idling speed | Ÿ | Replace carburetor if necessary | ||||
| Spark plug | Clean and re-adjust plug gap | Ÿ | GAP: .025 in (0.6~0.7mm) replace, if necessary | ||||
| Cylinder fins, intake air cooling vent | Clean | Ÿ | |||||
| Muffler, spark arrester, cylinder exhaust port | Clean | Ÿ | |||||
| SHAFT | Throttle trigger, stop switch | Check operation | Ÿ | ||||
| Cutting parts | Replace if something is wrong | Ÿ | |||||
| Transmission | Grease | Ÿ | |||||
| Screws/nuts/bolts | Tighten/replace | Ÿ | Ÿ | Not adjusting screws | |||
| Cutting attachment guard | Make sure to attach | Ÿ | |||||
| CUTTING | Oiling port | Clean | Ÿ | ||||
| Guide bar | Clean | Ÿ | Ÿ | ||||
| Sprocket | Inspect/replace | Ÿ | |||||
| Saw chain | Inspect/sharp |
Warning: Make sure that the engine has stopped and is cool before performing any service to the machine. Contact with moving cutting head or hot muffler may result In a personal injury.
Air filter (Z1)
The air filter, if clogged, will reduce the engine perfor mance. Check and clean the filter element in warm, soapy water as required. Dry completely before installing. If the element is broken or shrunk, replace with a new one.
Air filter
Fuel filter (Z2)
When the engine runs short of fuel supply, check the fuel cap and the fuel filter for blockage.
Fuel filter
Spark plug
Starting failure and misfiring are often caused by a faulty spark plug. Clean the spark plug and check that the plug gap is in the correct range. For a re placement plug, use the correct type specified by your supplier.
Important: Note that using any spark plug other than those des ignated may result in the engine failing to operate prop erly or In the engine becoming over-heated and dam aged.
To install the spark plug, first turn the plug until it is finger tight, then tighten it a quarter turn more with a socket wrench.
Tightening torque: 9.8-11.8 Nm.
Muffler
Warning: Inspect periodically, the muffler for loose fasteners, any damage or corrosion. If any sign of exhaust leakage is found, stop using the machine and have it repaired immediately.
Note that failing to do so may cause the engine to catch fire.
Intake air cooling vent (Z4)
Never touch the cylinder, muffler, or spark plugs with your bare hands immediately after stopping the engine. The engine can become very hot when in oper-ation, and doing so could result in severe burns.
When checking the machine to make sure that it is okay before using it, check the area around the muffler and remove any wood chips or leaves which have attached themselves to the brush-cutter. Failling to do so could cause the mu ffler to become overheated and that in turn could cause the engine to catch on fire. Always make sure that the muffler Is clean and free of wood chips, leaves, and other waste before use.
Check the Intake air cooling vent and the area around the cylinder cooling fins after every 25 hours of use for blockage, and remove any waste which has at-tached Itself to the brushcutter. Note that It Is necessary to remove the engine cover In order to be able to view the upper part of the cylinder.
Important: If waste gets stuck and causes blockage around the intake air cooling vent or between the cylinder fins, it may cause the engine to overheat, and that in turn may cause mechanical failure on the part of the brushcutter.
- Cylinder
- Intake air cooling vent (back)
Procedures to be performed after every 100 hours of use
- Remove the muffler, insert a screwdriver into the vent, and wipe away any carbon build-up. Wipe away any carbon build-up on the muffler exhaust vent and cylin der exhaust port at the same time.
- Tighten all screws , bolts, and fittings.
- Check to see if any oil or grease has worked its way in between the clutch lining and drum, and if it has, wipe it away using oil-free, lead-free gasoline.
Refilling trimming line (Z6)
- For the replacement line, use a diameter of 2.4mm ( .095in).
- The spool is capable of a line up to 6m (20ft) on the 10cm head. Avoid using a larger line as it may cut down the trimming performance.
Warning: For safety reasons, do not use the metal-reinforced line. - Pinch the slotted area on the both sides of the spool housing to unhook the bottom cap.
- Remove the spool and remove the old thread. Divide the thread and pass it to the point where the slit in the spool is.
- Wind up the line in the correct direction as indicated on the spool.
- Hook each end of the line in the slot on the edge of the spool, and then put the ends through the eyelets on the housing. Make sure that the spring and the washers are in place.
- While holding the spool against the housing, pull the line ends to release them from the slot.
- Line up the slot on the bottom cap with the hook on the housing , press the cap against the housing until it clicks.
Angle transmission (Z14)
The reduction gears are lubricated by angled transmission grease in the angle transmission. Apply new grease every 25 hours of use or more often depending on the job condition.
Remove the cutter holders before installing new grease to arrange for old grease to exit.
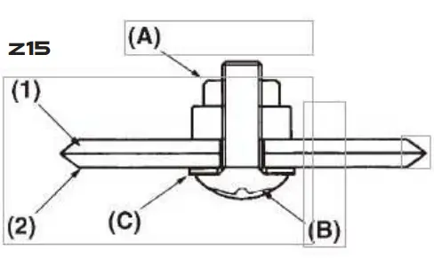
Blades (Z15)
When refilling the tank or resting, it is often a good idea to use the time to oil the cutting blades.
If a gap exists between the upper and lower blades, follow the procedure below to adjust them so that they fit more closely together.
- Upper Blade,
- Lower blade
- Loosen lock nut (A) as shown in the diagram.
- Tighten screw (B) fully, and then turn one-third to one-half of a rotation backward.
- While holding onto the screw to keep it in position, tighten the lock nut.
- Check to make sure that the flat washer (C) is loose enough so that it may be turned by pressing on it with a finger.
Note: Screwing in the screw too tightly may make it impossible for the blades to move. Conversely, not screwing in the screw tightly enough may make the blades of the trimmer feel dull and cause leaves and branches to become caught in the blades of the trimmer.
If the blades become so worn down that it is no longer possible to eliminate the gap between them, you should contact the authorized servicing dealer from which you purchased your trimmer to have the blades resharpened or replaced.
Transmission (Z16)
The reduction gears are lubricated by angled transmission grease in transmission.
Supply new grease every 25 hours of use or more often depending on the job condition.
When adding lubricant, use a grease gun to insert lubricant into the three grease nipples located on the transmission.
- Grease fitting
Oiling port (Z17)
- Oiling port
Dismount the guide bar and check the oiling port for clogging.
Guide bar (Z18)
Remove sawdust in the bar groove and the oiling port.
- Groove
- Oiling port
(Type: Sprocket nose)
Grease the nose sprocket from the feeding port on the tip of the bar. (Z19):
Grease port
Sprocket
The bar rail should always be a square. Check for wear of the bar rail. Apply a ruler to the bar and the outside of a cutter. If a gap is observed between them, the rail is normal. Otherwise, the bar rail is worn. Such a bar needs to be corrected or replaced. (Z20):
(1) Ruler,
(2) Gap,
(3) No gap.
(4) Chain tilts
Sprocket (Z21)
Check for extensive wear, and replace it when the teeth are worn over 0.3 mm.
Sprocket
Saw chain
Warning: It is very important for smooth and safe operation to keep the cutters always sharp.
- Your cutters need to be sharpened when:
- Sawdust becomes powder-like.
- You need extra force to saw in.
- The cut way does not go straight vibration increases.
- Fuel consumption increases.
Transmission
The reduction gears are lubricated by angled transmission grease in the transmission.
Supply new grease every 25 hours of use or more often depending on the job condition.
When adding lubricant, use a grease gun to insert lubri cant into the three grease nipples located on the trans mission.
Troubleshooting
| Case 1. Starting failure | ||
| Check | Possible causes | Action |
| Fuel tank | Incorrect fuel | Drain it and use correct fuel |
| Fuel filter | Fuel filter is clogged | Clean |
| Carburettor adjustment screw | Out of normal range | Adjust to normal range |
| Sparking (No spark) | Spark plug is faulty/wet, plug gap is incorrect | Clean/Dry, correct (gap: 0.6-0.7mm) |
| Spark plug | Disconnected | Re-tighten |
| Case 2. Engine starts but does not keep running/hard restarting | ||
| Fuel Tank | Incorrect fuel or staled fuel | Drain it and use correct fuel |
| Carburettor adjustment screw | Out of normal range | Adjust to normal range |
| Muffler, cylinder (exhaust port) | Carbon is built up | Wipe away |
| Air cleaner | Clogged with dust | Wash |
| Cylinder fin, fan cover | Clogged with dust | Clean |
| When your unit seems to need further service, please consult with our service shop in your area. | ||





















