NAKAYAMA NS2618 Nebulizer Petrol Engine
- The manufacturer reserves the right to make minor changes to product design and technical specifications without prior notice unless these changes significantly affect the performance and safety of the products. The parts described/illustrated in the pages of the manual that you hold in your hands may also concern other models of the manufacturer’s product line with similar features and may not be included in the product you just acquired.
- Please note that our equipment has not been designed for use in commercial, trade or industrial applications. Our warranty will be voided if the machine is used in commercial, trade or industrial business or for equivalent purposes.
- To ensure the safety and reliability of the product and the warranty validity, all repair, inspection, repair or replacement work, including maintenance and special adjustments, must only be carried out by technicians of the authorized service department of the manufacturer.
CAUTION: READ ALL PRECAUTIONS AND INSTRUCTIONS IN THIS MANUAL BEFORE USING THIS PRODUCT. KEEP THIS MANUAL FOR FUTURE REFERENCE.
Safety instructions
Warning to users
- The gasoline engine must be mixed using a special type of 2-cycle oil (30ml of oil for each 1L of unleaded gasoline 95 octanes).
- 3 to 5 minutes low-speed rotation after start and before stop is very necessary. In order to prevent damage of some parts or bodily harm caused by violent movement of the engine.
- High-speed rotation without load must be prohibited! It is strictly prohibited to stop the engine suddenly at high speed.
- When adding fuel, the engine should stop, fire sources must be far away and smoking is prohibited.
- In order to avoid electric shock, do not touch the cap of spark plug and the conducting wire during the rotation of the engine.
- The surface of the muffler and the cylinder is very hot, so neither the hands nor the body approaches them. Especially children should be far away from the engine.
- It is recommended that the overall mass of the knapsack mist-blower at the maximum load, measured with full fuel and chemical tanks, as indicated by the manufacturer, not exceed 30 kg for men and 25 kg for women.
Safe use of a sprayer-duster
- Operator
The operator must be in the good physical condition and mental health.
Following personnel can’t use the machine.- Mental patients.
- Drunk.
- Under age or old person.
- People who have just exercised strenuously or slept not enough.
- Tired people or patients and others who can’t operate the machine normally.
- Person with no knowledge of the machine.
- Proper clothing
To reduce the risk of injury, the operator should wear proper protective apparel.
Safety precaution pictograms
- The use of the machine may be hazardous. The impeller rotating in the volute case may be cut you if you try to touch it. It is important that you read, fully understand the following safety precautions and warnings.
- Do not lend or rent your sprayer-duster without the Owner’s Manual. Be sure that anyone using your sprayer-duster reads and understands the information contained in this manual.
- Wear safety shoes to protect your feet.
- Gloves must be worn to avoid contracting pesticides.
- Clothing must be worn to avoid contracting pesticide.
- Wear a face mask to protect against dust and pesticide.
Safety warnings in regard to operation Starting engine
- Put the dust gate handle to the lowest position before starting the engine, otherwise, chemicals will be jetted when starting the engine.
- Be sure nobody stands in front of the nozzle, even though dust gate is closed, residual dust in pipe will be blown out.
Spray operation
- It is fine to carry out operations during cool weather with little wind. For example, in the early morning or in the late afternoon. This can reduce the evaporation and drift of chemicals and improve the protecting effect.
- The operator should move windward.
- If your mouth or eyes are spattered with chemicals, wash them with clean water and go to see a doctor.
- If the operator has a headache or dizziness, stop working at once and go to see a doctor in time.
- For the operator’s safety, dusting must be carried out strictly according to the instruction of the chemicals and agricultural requirements.
- If you want to stop the engine while dusting, the dust gate must be shut at first.
WARNING:
- Do not direct the air blast towards bystanders since the air can blow small objects at speed.
- Your power tool produces toxic exhaust fumes as soon as the engine is running. These fumes may be colorless and odorless and contain unburned and contain unburned hydrocarbons and benzol. Never operate the power tool in enclosed or poorly ventilated locations.
- During operation, the muffler or catalytic muffler and surrounding cover may become extremely hot. Avoid contact during and immediately after operation. Always keep the exhaust area clear of flammable debris. Allow the engine and muffler to completely cool before performing any maintenance activity.
- After working, wash your hands and clean all of your clothing. You know that the remaining pesticide can stain what you touch.
Fuelling
Pay attention to the fire. Please keep the fuel tank far away from the flame or sparks. Don’t smoke near fuel. When the machinery is running, ban adding fuel
to the fuel tank.
Open the fuel cap carefully to allow any pressure build-up in the tank to release slowly and avoid fuel spillage.
Fuel your power tool only in well-ventilated areas. If you spill fuel, wipe the machine immediately-if fuel gets on your clothing, change immediately.
- Check for leakage. To reduce the risk of serious of fatal burn injuries, do not start or run the engine until leak is fixed.
- After fuelling, tighten down the screw-type fuel possible.
- Gasoline is an extremely flammable fuel.Keep clear of naked flames. Do not spill any fuel- do not smoke.
Always shut off the engine before refueling. Do not fuel a hot engine-fuel may spill and cause a fire.
Technical data
| Displacement: | 42,7cc |
| Power Output(kw/r/min): | 1.6/7000 |
| Range: | 16m |
| Tank capacity: | 14Lt |
| Net weight: | 9,5 kg |
- The manufacturer reserves the right to make minor changes to product design and technical specifications without prior notice unless these changes significantly affect the performance and safety of the products. The parts described/illustrated in the pages of the manual that you hold in your hands may also concern other models of the manufacturer’s product line with similar features and may not be included in the product you just acquired.
- Please note that our equipment has not been designed for use in commercial, trade or industrial applications. Our warranty will be voided if the machine is used in commercial, trade or industrial businesses or for equivalent purposes.
- To ensure the safety and reliability of the product and the warranty validity, all repair, inspection, repair or replacement work, including maintenance and special adjustments, must only be carried out by technicians of the authorized service department of the manufacturer.
Main application
This Knapsack Mist-Duster is one kind of portable, flexible and efficient machinery for plant protection. It is mainly used in the prevention and cure of diseases and pests of plants such as cotton, rice, wheat, fruit trees, tea trees, banana trees, etc. It can also be used for chemical weeding, epidemic prevention, sanitation protection in cities, vegetable protection, etc.
Assembly and operating instructions
Assembly for varieties of operating conditions (Fig.1-4)
Assembly for spraying
a. Assembly in chemical tank Remove the lower cover of the chemical tank, change into the pressing lid which is connected with the rubber tube (do not forget to put on the sealing ring,as Fig.2.). Connect the lid to the rubber tube as shown in Fig.1.
Fig. 1: 1.Lid, 2.Sealing washer, 3.jam, 4.Filter net, 5.Tube, 6.Tank, 7.Take over, 8.Tie-in, 9.Take over
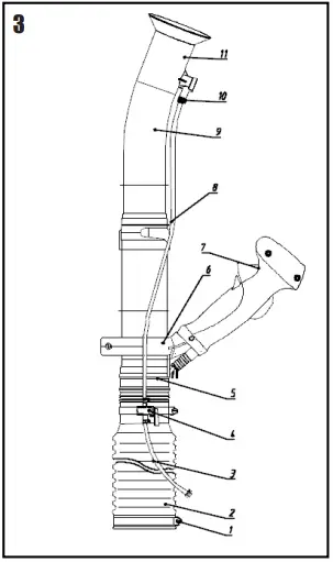
Fig.2: Connect the spraying pipe to the machine as shown in Fig.3.

Fig. 3: 1.Clip, 2.Bend pipe, 3.Tube, 4. Switch, 5. Plastic pipe, 6. Handle, 7. Handle, 8. Tube, 9.Plastic pipe, 10. Ring, 11.Nozzle
Assembly for dusting
Remove the chemical tank,take down the inlet rubber tube,outlet rubber tube, suction strainer, spraying lid plate, pressing lid and union, change for the lower lid of the chemical tank, then connect the dusting pipe as Fig.4.
Fig.4: 1. Chain, 2.Bend pipe, 3.The clip, 4. Plastic tube, 5. Handle, 6. Handle, 7. Plastic tube, 8.Plastic tube
Anti-electrostatic installation
Electrostatic charging with sparking can occur when working with the dusting and spreading attachment. The risk is greatest in extremely dry weather conditions–when using powdered products,–which create a highly concentrated dust cloud. To reduce the risk of sparking, explosion or fire, make sure the antistatic system is completely and properly mounted to the machine. It consists of a conductive wire in the spray tube connected to a metal chain. The metal chain must make contact with a conductive surface to dissipate electrostatic charges. Do not operate your machine on a non-conductive surface (e.G. Plastic, asphalt). Never operate your machine with a missing or damaged discharge system
For the above reasons, great care is required when using sulphur as it is flammable.
- Assembly as fig.4.

Rotation Check
- Checking whether the spark plug and all the connections are tightened.
- Checking whether the cooling air channel is clogged. If so, the engine will be overheated.
- Checking whether the air filter is dirty. If so, the dirt will reduce the amount of air drawn in. So the engine does not run well and waste fuel.
- Check whether the gap of the sparking plug is 0.6˜0.7mm.
- Pull the starter 2 or 3 times, check whether it rotates normally.
Fuelling
- Use a special type 2-cycle oil (30ml of oil for each 1L of unleaded gasoline 95 octane). The ratio between them is determined by the oil instruction. Incorrect gasoline, oil and mixture may damage the engine.
- Never fuel the engine when it is hot or running.
- When fuel, never take away the strainer.
Adding chemicals
- During the spraying operation, while adding chemicals, the switch must be shut, see Fig.5. During the dusting operation, the dusting valve throttle and fuel lever should be on the bottom position, otherwise, the machine will have chemicals out.
- As powder chemicals can easily become blocked,so the chemicals should not be in the chemical tank for a long time.c. While spraying, the chemical tank lid should be turned on tightly. After adding powder chemicals, please clean the screw of the chemical tank mouth, then turn on the lid tightly.
Cold starting
Please operate according to the following procedures:
- Press the oil cup until the gasoline into oil cup, see Fig.6.

- Put the switch on the starting position, see Fig.8.

- Put the choker on the full position, see Fig.7.

- Pull the starter for a few times and have it returned slowly. Do not leave the handle to return freely to avoid damage of the starter.
- Close the choker and pull the starter handle until the engine ires.
- After starting the engine, open the choker fully.
- Let the engine run at low speed for 2-3 minutes, then start the spraying or dusting operation.
Starting the warm engine
- Leave the choker fully open.
- If the engine draws in too much fuel. Leave the fuel switch fully close,pull the starter 5-6 times. Then start the engine as above.
Stopping the engine
- Put the two control handles to their lowest positions and the engine stops.
- Spray over, turn off the chemical switch first then stop the machine.
- Having finished working, turn off the fuel switch. Pay attention!
Note: While the engine is running, the hose must be mounted to the machine, otherwise cooling air will be reduced and this can damage the engine.
Misting
Loosen the pressing lid,regulate the length of the nozzle opening to meet the different requirements of misting. Turn the regulating valve to change the amount of misting, See Fig.9. 
| Opening | Discharging (L/min) |
| 1 | 1 |
| 2 | 1.5 |
| 3 | 2 |
| 4 | 3 |
Dusting
Regulate the discharge by shifting the dust rod’s position in the three holes of the rock-arm, see Fig.10.
Stating the engine
- Put the dust gate handle to the lowest position before starting the engine, otherwise, chemicals will be jetted when starting engine.
- It is prohibited to stand in front of nozzle. Even though dust gate is closed, residual dust in pipe will be blown out.
Safety warnings (Misting/Dusting)
- It is in to carry out operations during cool weather with little wind. For example, in the early morning or in the late afternoon, this can reduce the evaporation and drift of chemicals and improve the protecting effect.
- The operator should move windward.
- Review area to be cleared. Look for potential hazards such as stones or metal objects. Spectators and fellow workers must be warned, and children and animals prevented from coming nearer than 15m while the blower is in use. Do not point the blowy pipe at people or animals.
- If your mouth or eyes are spattered with chemicals, wash them with clean water and then go to see the doctor.
- If the operator has a headache or dizziness, stop working at once and go to see a doctor in time.
- For the operator’s safety, misting/dusting must be carried out strictly according to the instruction of the chemicals and agricultural requirements.
Troubleshooting
Engine starts difficultly or can not start
Check if the sparking plug has sparked over. Screw down the sparking plug,put the side pole to touch the cylinder. Pull the starter and watch between the poles of sparking plug whether there are sparks. Pull the starter carefully,do not touch the metal part of sparking plug for prevent of getting an electric shock as shown in Fig.12. 
| TROUBLE | CAUSE | REMEDY | |
|
No lash |
Spark plug | 1. Poles wet | Dry it |
| 2. Covered with carbon | Clean the carbon | ||
| 3. The insulation damaged | Replace | ||
| 4. Spark gap incorrect | Adjust 0.6 ˜ 0.7mm | ||
| 5. The poles burned | Replace | ||
| Magneto | 1. The wrap of wire damaged. | Remedy or replace | |
| 2. Insulation of coil bad | Replace | ||
| 3. The wire of coil broken. | Replace | ||
| 4. The electronic iring unit defective | Replace | ||
|
Normal | Compression ratio and fueling well | 1. Too much fuel in cylinder | Drain |
| 2. Water or dirt in fuel | Replace | ||
| Fueling well but compression ratio bad. | 1. Cylinder and piston ring wore or tore | Replace them | |
| 2. The plug loose | Tighten it | ||
| Carburetor not fueling | 1. No fuel in tank | Fuel | |
| 2. Filter gauze clogged | Clean | ||
| 3. The air hole of the tank clogged | Clean | ||
Engine lacks power
| TROUBLE | CAUSE | REMEDY |
|
The compression ratio is fine | 1. The filter plate clogged | Clean |
| 2. Air passes through the connection of carburetor | Tighten | |
| 3. Engine overheat | Stop the engine and cool it | |
| 4. Water in fuel | Refill with fresh fuel | |
| 5. The carbon clogs muffler | Clean | |
|
Engine overheats | 1. Mixed gas (fuel) thin | Adjust the carburetor. |
| 2. Cylinder covered with carbon | Clean | |
| 3. Oil bad | Use 2-T engine oil and adjust the mix ration. | |
| 4. No connection with hose | Correctly assemble the machine | |
| Engine noisy or knocking | 1. Fuel bad | Replace |
| 2. Carbon in cylinder | Clean | |
| 3. The running parts wore and tore. | Check and replace |
Engine stops while running
| TROUBLE | CAUSE | REMEDY |
|
Engine stops suddenly | 1. The lead wire of plug loose | Replace firmly |
| 2. Piston bitten | Change or remedy | |
| 3. Plug covered with carbon | Clean plug | |
| 4. Fuel used up | Fill the fuel tank | |
| The engine stops slowly | 1. Carburettor clogged | Clean |
| 2. The air hole in the tank clogged | Clean | |
| 3. Water in fuel | Refill with fresh fuel |
Engine hard to stop
| TROUBLE | CAUSE | REMEDY |
| Throttle handle put to the lowest position, the engine still runs . | The throttle cord is short or piston of carburettor blocked. | Adjust the cord or remedy the carburettor. |
Dusting
| TROUBLE | CAUSE | REMEDY |
|
No dust discharge or discharge intermittently | 1. The dust gate can not be opened. | Adjust the pull rod of the dust gate |
| 2. The tank lid not tightened | Tighten the tank lid | |
| 3. The dust or granule mix with foreign body. | Clean it | |
| 4. The dust or granule lumped. | Break the lump | |
| 5. Wet dust or granule | Dry it | |
| 6. The granules is too big | Change the granules |
| The dust gate not work properly | 1.The dust gate can’t closed | Clean it |
| 2.The dust gate clogged by foreign matter | Tighten it | |
|
Leakage of dust | 1. t h e c l a m p p l ate of t h e chemical tank bottom loosened | Tight it |
| 2.The sealing gasket of the dusting lid damaged | Change it with new one | |
| 3.The O-sealing ring of the elbow damaged | Change it with new one | |
| The discharge rate out of control | The control device of dust gate not work properly | Remedy it |
Spraying
| TROUBLE | CAUSE | REMEDY |
| No spray mixture jet or jet intermittently | 1.Nozzle switch or control valve clogged | Clean |
| 2.Liquid lead pipe clogged. | Clean it | |
| 3.No pressure or the pressure is lower | Tighten the tank lid and screw down the two wing nuts. | |
| Spray mixture leakage | 1.The spraying lid plate fitted incorrect | Refit it |
| 2.Every threaded joint loosened | Screw down it |
Maintenance
Technical Maintenance and Deposit for a Long Time
- Spraying units
- Clean out any residual spray mixture or dust in the chemical tank and all other parts after the operation with clean water and dry it.
- Clean the dust gate and chemical tank inside and outside after dusting.
- Loosen the chemical tank lid while the machine free.
- Let the machine run at a low speed for 2-3 minutes after cleaning.
- Fuel system maintenance
- Water or dirt in fuel is one of the main cause of engine trouble, clean the fuel system regularly.
- Residual fuel remaining in the fuel tank and carburetor for a long time will gum and clog the fuel system, thus causing the engine not to work properly. So all of the fuel should be discharged if the machine is not used after one week.
- Air filter and plug
- Clean the filter after everyday operation. Dirt adhering to sponge reduces the engine power.
- Dry filter before reinstalling.
- Clean stains or carbon off the spark plug and adjust the spark gap to 0.6˜0.7mm.























