beurer IH 58 Portable Compressor Nebulizer

Included in delivery
See Description of the device and accessories.
- Nebuliser
- Atomiser
- Compressed air hose
- Mouthpiece
- Adult mask
- Children’s mask
- Nosepiece with comfort attachment
- Replacement filter
- Micro USB cable
- Mains adapter
- Storage bag
- These instructions for use
Getting to know your device
Dear customer,
Thank you for choosing one of our products. Our brand stands for well-engineered, quality made products; driven by innovation and safety. Our product range encompasses a wealth of products for health and well-being in the heat, weight, blood pressure, body temperature, pulse, gentle therapy, massage and air sectors.
Please read these instructions for use carefully and keep them for later use. Be sure to make them accessible to other users and observe the information they contain.
With kind regards,
Your Beurer team
Application area
This nebuliser is an inhalation device for atomising liquids and liquid medication (aerosols) and for the treatment of the upper and lower airways. By nebulising and inhaling the medication prescribed/ recommended by your doctor, you can prevent diseases affecting the airways, or in the case that you contract such an illness, you can alleviate symptoms and speed up your recovery. Ask your doctor or pharmacist for further information about the potential applications.
The device is suitable for domestic use. Inhaler medication should only be used following instructions to do so from a doctor. Ensure you are calm and relaxed when inhaling the medication and breathe slowly and deeply to ensure that the medication reaches right down to the lower bronchi. Breathe out normally.
The device does not need to be calibrated. Once it has been properly prepared, the device can be used again. Preparation involves replacing all the accessories, including the atomiser and air filter, and disinfecting the surface of the device using a standard disinfectant. Please note that all accessories should be replaced if the device is used by more than one person. We recommend that you replace the atomiser and other accessories after one year.
Signs and symbols
The following symbols appear in these instructions for use.
Warning
Warning instruction indicating a risk of injury or damage to health.
Important
Safety note indicating possible damage to the device/accessory.
Note
Note on important information.
The following symbols are used on the packaging and on the type plate for the device and accessories.
![]() | Application part, type BF |
![]() | Observe the instructions for use |
![]() | Protection class 2 device |
![]() | Manufacturer |
| | | On |
| O | Off |
![]() | Serial number |
30 ON / 30 OFF | 30 minutes of operation, then 30 minutes break before operating again. |
![]() | Protected against solid foreign objects 12.5 mm in diameter and larger, and against drops of water when the housing is angled up to 15° |
| The CE labelling certifies that the product complies with the essential requirements of Directive 93/42/EEC on medical de- vices. |
![]() | Dispose of packaging in an environmentally friendly manner |
Warnings and safety notes
Warning
- Before use, ensure that there is no visible damage to the device or accessories. If you have any doubts, do not use the device and contact your retailer or the specified Customer Service address.
- In the event of device faults, please see Chapter “10. Troubleshooting”.
- The device is not a substitute for medical consultation and treatment. Always consult your doctor first if you are experiencing any pain or are suffering from an illness.
- If you have health concerns of any kind, consult your GP.
- Please note the general hygiene measures when using the atomiser.
- You should always follow the instructions of your doctor regarding the type of medication to use, the dosage, and the frequency and duration of inhalation.
- Only use medication prescribed or recommended by your doctor or pharmacist.
Please note:
For treatment, only use parts indicated by your doctor according to the particular diagnosis.
- Check whether there are contraindications for use with the usual systems for aerosol treatment on the medication instruction leaflet.
- If the device does not work properly, or you feel unwell or experience pain, stop using it immediately.
- Keep the device away from your eyes when it is in use, as the mist of medication could be harmful.
- Changes to the device are not permitted.
- Never use the device near flammable gases, oxygen or nitrogen oxide.
- This device is not intended for use by children or people with restricted physical, sensory (e.g. reduced sensitivity to pain) or mental skills or a lack of experience and/or lack of knowledge, unless they are supervised by a person who is responsible for their safety or are instructed by such a person in how to use the device.
- Check in the medicine package leaflet for possible contraindications for use with common aerosol therapy systems.
- The device must be switched off and the plug pulled out before every cleaning and/or maintenance procedure.
- Keep packaging material away from children (risk of suffocation).
- To avoid the risk of entanglement and strangulation, store cables and air lines out of the reach of small children.
- Do not use any additional parts that are not recommended by the manufacturer.
- The device must only be connected to the mains voltage that is specified on the type plate.
- Never submerge the device in water and do not use it in the bathroom. Under no circumstances may liquid enter the device.
- Protect the device from heavy impact.
- Never touch the micro USB cable with wet hands, as you could get an electric shock.
- Do not pull the mains adapter out of the socket using the micro USB cable.
- Do not crush or bend the micro USB cable, pull it over sharp-edged objects or leave it dangling down, and protect it from sources of heat.
- We recommend that the micro USB cable is completely unrolled to avoid dangerous overheating.
- If the micro USB cable or the mains adapter of this device is damaged, it must be disposed of. Please contact Customer Services or the retailer.
- If the device is opened, there is a risk of electric shock. Disconnection from the power supply network is only guaranteed if the adapter is unplugged and the micro USB cable has no other power connection.
- Making modifications to the device or accessories is not permitted.
- If the device has been dropped, exposed to high levels of moisture or suffered any other damage, it must no longer be used. If in doubt, contact Customer Services or the retailer.
- The IH 58 nebuliser may only be operated with compatible Beurer atomisers and with the appropriate Beurer accessories. The use of atomisers and accessories made by other companies may result in less efficient treatment and could damage the device.
- Keep the device and accessories out of the reach of children and pets.
Important
- Power cuts, sudden interference or other unfavourable conditions could lead to the device becoming inoperable. We therefore recommend that you obtain a replacement device or medication (the latter should be agreed with your doctor).
- Should you require an adapter or extension lead, this must meet the applicable safety requirements. The power limit and the maximum output specified on the adapter must not be exceeded.
- Do not store the device or the power cable near to sources of heat.
- Do not use the device in a room in which a spray has previously been used. Air the room before carrying out the treatment.
- Never use the device if it is making an abnormal sound.
- For hygiene reasons, it is essential that every user uses their own accessories.
- Always disconnect the mains adapter from the device after use.
- Store the device in a location protected against climatic influences. The device must be stored in the environmental conditions specified.
General notes
Important
- The device is only to be used:
- On humans
- For the purpose for which it is designed (aerosol inhalation) and in the manner specified in these instructions for use.
- Any form of improper use can be dangerous.
- In the event of an acute emergency, the provision of first aid has top priority.
- Apart from the medication, only use distilled water or a saline solution. Other liquids may cause a fault in the nebuliser or atomiser.
- This device is not intended for commercial or clinical use; it is designed exclusively for self-treatment in a private home.
Prior to initial use
Important
- Remove all packaging material before using the device.
- Protect the device against dust, dirt and humidity and never cover the device while it is in use.
- Do not operate the device in a very dusty area.
- Switch the device off immediately if it is faulty or not working properly.
- The manufacturer is not liable for damage resulting from improper or careless use.
Repairs
Note
- Under no circumstances should you open or repair the device yourself, as faultless functionality can no longer be guaranteed thereafter. Failure to comply will result in voiding of the warranty.
- The device is maintenance-free.
- For repairs, please contact Customer Services or an authorised retailer.
Description of the device and accessories
Overview of nebuliser
- On/Off switch
- Micro USB port
- Holder for atomiser
- Filter cap with filter
- Hose connector

Overview of atomiser and accessories - Compressed air hose
- Atomiser
- Medication container
- Atomiser insert
- Mouthpiece
- Adult mask
- Children’s mask
- Nosepiece
- Replacement filter
- USB power mains part
- USB cable

Initial use
Setting up the device
Take the device out of the packaging.
Place the device on a flat surface.
Before using the device for the first time
Note
- Clean and disinfect the atomiser and accessories before using them for the first time. See “Cleaning and disinfection” on page 20.
- Connect the compressed air hose [6] to the bottom of the medication container [8].

- Connect the other end of the compressed air hose [6] to the nebuliser hose connection [5] by turning it slightly.

Switching on the nebuliser
To turn on the nebuliser, proceed as follows:
- Plug the micro USB cable included in delivery into the micro USB port on the nebuliser. Plug the other end of the micro USB cable into the USB port on the mains adapter and insert the mains adapter into the socket.
- Press the ON/OFF button on the nebuliser. The ON/ OFF button illuminates blue. The nebuliser is now operational.
Operation
Important
- For hygiene reasons, it is essential to clean the atomiser [7] and the accessories after each treatment and to disinfect them after the last treatment of the day.
- The accessories may only be used by one person; use by several people is not recommended.
- If the treatment involves inhaling several different medications one after the other, please be aware that the atomiser [7] must be rinsed under warm tap water following every usage. See “Cleaning and disinfection” on page 20.
- Please observe the notes on changing the filter in these instructions for use.
- Check that hose connectors are firmly attached to the nebuliser [5] and the atomiser [7] before each use of the device.
- Before use, check the device is working correctly by briefly switching on the nebuliser (together with the connected atomiser, but without medication). If air comes out of the atomiser [7], the device is working.
Inserting the atomiser insert
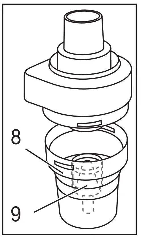
- Open the atomiser [7] by twisting the top anticlockwise against the medication container [8]. Place the atomiser insert [9] into the medication container [8].
- Ensure that the cone for administering medication fits well on the cone for the air duct inside the atomiser.
Filling the atomiser
- Fill with an isotonic saline solution or pour the medication directly into the medication container [8]. Avoid overfilling. The maximum recommended filling quantity is 6 ml.
- Use medication only as instructed by your doctor and ask about the appropriate inhalation period and quantity for you.
- If the prescribed quantity of medication is less than 2 ml, top this up to at least 2 ml with isotonic saline solution. Dilution is also necessary with viscous medications. Here too, please observe the instructions of your doctor.

Closing the atomiser
- Close the atomiser [7] by twisting the top clockwise against the medication container [8]. Ensure that the connection is correct.
Connecting accessories to the atomiser
- Connect the atomiser [7] to the desired accessory (mouthpiece [10], adult mask [11], children’s mask [12] or nosepiece [13]).
In addition to the accompanying adult [11] and children’s mask (from 2 years of age) [12], you also have the option of using baby mask (from ages 0-3 years) with your nebuliser. The baby mask is not included in delivery with the IH 58. You can find an overview of all replacement items in chapter “12. Replacement parts and wearing parts”.
Note
The most effective form of nebulisation is by using the mouthpiece. Nebulisation using a mask is only recommended if it is not possible to use a mouthpiece (e.g. for children who are not yet able to inhale medication using a mouthpiece).
If you are using the adult mask [11], you can secure it to your head with the adult mask strap. There is also a strap for the children’s mask [12].
When using a mask to inhale, take care to ensure the mask fits well and the eyes are unobstructed.
- Before the treatment, pull the atomiser upwards out of the holder [3].
- Start the nebuliser using the On/Off switch [1].
- Spray mist pouring out of the atomiser indicates that the device is operating correctly.
Treatment
- When inhaling, sit upright and relaxed at a table and not in an armchair to avoid compressing the airways and therefore impairing the effectiveness of the treatment.
- Breathe in the atomised medication deeply.
Important
The device is not suitable for continuous operation; after 30 minutes of operation it must be switched off for 30 minutes.
Note
During the treatment, hold the atomiser straight (vertically), otherwise the atomisation will not work and faultless functionality is not guaranteed.
Depending on the battery charge status and accessory used, the inhalation time stated may vary.
Important
Essential oils, cough syrups, gargling solutions and drops to be used as a rub or in a steam bath are wholly unsuitable for inhalation using a nebuliser. These additions are often viscous and can impair the correct functioning of the device and therefore the effectiveness of the application in the long-term. For individuals with a hypersensitive bronchial system, medications containing essential oils may under certain conditions cause an acute bronchospasm (a sudden cramp-like restriction of the bronchi with shortness of breath). Consult your doctor or pharmacist in relation to this matter.
Stopping inhalation
Once the mist is only coming out in an irregular flow or if the sound changes when inhaling, you can stop the treatment.
- Switch off the nebuliser after treatment using the On/ Off switch [1] and disconnect it from the mains.
- Place the atomiser [7] back in its holder [3] after the treatment.
Cleaning
See “Cleaning and disinfection”
Changing the filter
In normal operating conditions, the air filter must be replaced after approx. 100 operating hours or one year. Please check the air filter regularly (after 10–12 nebulisation procedures). Replace the used filter if it is very dirty or clogged. If the filter has become damp, it must also be exchanged for a new filter.
Important
- Do not attempt to clean the used filter and reuse it.
- Only use the manufacturer’s original filter, otherwise your nebuliser may become damaged and sufficiently effective treatment cannot be guaranteed.
- Do not repair or maintain the air filter while it is in use.
- Never operate the device without a filter.
To replace the filter, proceed as follows:
Important
- First switch the device off and disconnect it from the mains.
- Allow the device to cool down.
- Pull off the filter cap [4] towards the front.

Note
If the filter remains in the device after the cap has been removed, take the filter out of the device, e.g. with tweezers or similar. - Re-insert the filter cap [4] with a new filter.
- Ensure that it is securely in place.
Cleaning and disinfection
Atomiser and accessories
Warning
Adhere to the following hygiene instructions to avoid health risks.
- The atomiser [7] and accessories are designed for multiple use. Please note that different areas of application involve different requirements in terms of cleaning and hygienic preparation.
Notes: - Do not clean the atomiser or the accessories mechanically using a brush or similar device, as this could cause irreparable damage and it will mean that the best treatment results can no longer be guaranteed.
- Please consult your doctor about the additional requirements in terms of the hygienic preparation required (hand care, handling of medication/inhalation solutions) for high-risk groups (e.g. patients with cystic fibrosis).
- Ensure thorough drying after each cleaning or disinfection process. Residual moisture or wetness can represent an increased risk of bacterial growth.
Preparation
- Immediately after each treatment, all parts of the atomiser [7] and the accessories used must be cleaned of residual medication and contamination.
- Disassemble the nosepiece if you have used it with the comfort attachment.
- To do this, dismantle the atomiser [7] into its individual parts.
- Remove the mouth piece [10], the mask [11, 12] or the nosepiece [13] from the atomiser.
- Dismantle the atomiser [7] by twisting the top anticlockwise against the medication container [8].
- Remove the atomiser insert [9] from the medication container [8].
- Reassembly is carried out in reverse order.

Cleaning
Important
The device must be switched off, disconnected from the mains and allowed to cool down each time before cleaning.
The atomiser and the accessories used such as the mouthpiece, mask, etc. must be washed with hot but not boiling water after each use. Dry the parts carefully using a soft cloth. Put the parts together again when they are completely dry and place them in a dry, sealed container or disinfect them.
When cleaning, ensure that any residue is removed. Never use any substances for cleaning that could potentially be toxic if they came into contact with the skin or mucous membranes, or if they were swallowed or inhaled. Use a soft, dry cloth and non-abrasive cleaning products to clean the device.
Do not use any abrasive cleaning products and never submerge the device in water.
Important
- Ensure that no water gets inside the device.
- Do not clean the device or accessories in the dishwasher.
- Do not touch the device with wet hands when it isplugged in and do not allow water to spray on the device. Only operate the device if it is completely dry.
- If liquid penetrates the device this could cause damage to the electrics or other nebuliser parts and lead to a malfunction.
Condensation, hose care
Condensation may form in the hose depending on the ambient conditions. It is essential to remove the moisture to prevent bacterial growth and ensure proper treatment.
To do so, proceed as follows:
- Remove the compressed air hose [6] from the atomiser [7].
- The hose must remain connected to the nebuliser [5].
- Operate the nebuliser until the moisture is removed by the air passing through.
- In the event of heavy contamination, replace the hose.
Disinfection
Please carefully observe the points below when disinfecting your atomiser and accessories. We recommend disinfecting the individual parts on a daily basis after the last usage as a minimum measure.
(All you need for this is a little white vinegar and distilled water.)
- First, clean the atomiser and accessories as described in the “Cleaning” section.
- Place the disassembled atomiser, mouthpiece and nosepiece in boiling water for 5 minutes.
- For the remaining accessories, use a vinegar solution consisting of ¼ vinegar and ¾ distilled water. Make sure that the volume is sufficient to fully submerse the parts, such as the atomiser, mask and mouthpiece, in the solution.
- Leave the parts in the vinegar solution for 30 minutes.
- Rinse the parts with water and dry them carefully with a soft cloth.
Important
Do not boil or autoclave the compressed air hose or the masks. - Put the parts together again when they are completely dry and place them in a dry, sealed container.
Note - Please ensure that the parts are completely dried after cleaning, otherwise the risk of bacterial growth is increased.
- Use cold disinfection solution in accordance with the manufacturer’s instructions.
Drying - Place the individual parts on a clean, dry and absorbent surface and leave them to dry completely (at least 4 hours).
Durability of materials
- As with any plastic parts, atomisers and their accessories are affected by a certain amount of wear and tear when used and hygienically prepared on a frequent basis. Over time, this can lead to a change in the aerosol, which can have a negative effect on the efficiency of the treatment. We therefore recommend that you replace the atomiser and other accessories after a year.
- The following point should be observed when selecting the cleaning product or disinfectant: only use a mild cleaning product or disinfectant in the concentration and volume prescribed by the manufacturer.
Storage
- Do not store in damp conditions (such as in a bathroom) and do not transport with any damp items.
- When storing and transporting, protect from prolonged direct sunlight.
- The accessories can be stowed securely in the accessory compartment. Store the device in a dry place, ideally in the original packaging.
Disposal
For environmental reasons, do not dispose of the device in the household waste.
Please dispose of the device in accordance with EC Directive – WEEE (Waste Electrical and Electronic Equipment). If you have any questions, please contact the local authorities responsible for waste disposal.
Troubleshooting
| Problem/ question | Possible cause/remedy |
| The atomiser produces no or too little aerosol. | 1. Too much or too little medication in the atomiser. Minimum: 2 ml, Maximum: 6 ml. |
| 2. Check nozzle for blockages. Clean nozzle if necessary (e.g. by rinsing out). Then start using the atomiser again. IMPORTANT: Carefully pierce the fine holes from the underside of the nozzle only. | |
| 3. Atomiser not held vertically. |
| Problem/ question | Possible cause/remedy |
| The atomiser produces no or too little aerosol. | 4. Unsuitable medication fluid added for nebulisation (e.g. too viscous). The medication fluid should be pre-scribed by the doctor. |
| The output is too low. | Kinked hose, clogged filter, too much inhalation solution. |
| What medications are suitable for inhaling? | Please consult your doctor in relation to this matter. As a rule, all medication that is suitable and approved for device inhalation can be inhaled. |
| There is inhalation solution residue in the atomiser. | This is normal and is due to technical reasons. Stop inhalation once the atomiser starts to make a notably different sound. |
| What should be taken into account when using the device with infants and children? | 1. On infants and children, the mask should cover the mouth and nose to ensure effective inhalation. |
| 2. On children, the mask should also cover both the nose and mouth. It is not a good idea to carry out nebulisation on someone who is sleeping, as in this case not enough of the medication will reach the lungs. | |
| Note: Inhalation should only be carried out under the supervision of an adult and with their assistance and the child should not be left alone. | |
| Inhalation using the mask takes longer. | This is due to technical reasons. You breathe less medication per breath through the holes of the mask than via the mouthpiece. The aerosol is mixed with ambient air via the holes. |
| Problem/ question | Possible cause/remedy |
| Why should the atomiser be replaced regularly? | There are two reasons for this:
|
| Should each person have their own atomiser? | Yes, this is absolutely essential for hygiene reasons. |
Technical specifications
| Type | IH 58 |
| Dimensions (W X H X D) | 11O x 62 x 47 mm |
| Weight | 176 g |
| Operating pressure | Approx. 0.25 to 0.5 bar |
| Atomiser filling volume | Min. 2 ml Max. 6 ml |
| Medication flow rate | Approx. 0.25ml/min. |
| Sound pressure | Max. 45 dBA (acc. to DIN EN 13544-1 section 26) |
| Mains connection | Input:100 – 240 V~; 50 – 60 Hz; 0.5 A Output: 5 V |
| Expected service life | 400 h |
| Operating conditions | Temperature: +10°C to +40°c Relative humidity: 10% to 95% Ambient pressure: 700 to 1060 hPa |
| Storage and transportation conditions | Temperature: -20°C to +60°C Relative humidity: 10% to 95% Ambient pressure: 700 to 1060 hPa |
| Aerosol properties |
|
The serial number is located on the device or in the battery compartment.
Subject to technical changes.
Particle size diagram

Measurements were performed using a sodium fluoride solution with a “Next Generation Impactor” (NGI).
The diagram may therefore not be applicable to suspensions or highly viscous medications. You can obtain more detailed information from the manufacturer of your medication.
Replacement parts and wearing parts
| Designation | Material | REF |
| Year pack contains: Mouthpiece Nosepiece with comfort attachment Adult mask Children’s mask Atomiser Compressed air hose Filter | PP PP/siliconePVC/aluminium PVC/aluminium PP/PC PVC PU | 602.15 |
| Baby mask | PVC | 601.31 |
Note
If the device is not used according to the instructions specified, perfect functionality cannot be guaranteed! We reserve the right to make technical changes to improve and develop the product. This device and its accessories comply with the European standards EN60601-1, EN60601-1-2 (CISPR 11, IEC61000-3-2, IEC61000-3-3,
IEC61000-4-2, IEC61000-4-3, IEC61000-4-4, EC61000-4-5, IEC61000-4-6, IEC61000-4-7, IEC61000-4-8, IEC61000-4-11) and EN13544-1 and are subject to particular precautions with regard to electromagnetic compatibility. This device meets the requirements of European Directive 93/42/EEC for medical devices, as well as those of the Medizinproduktegesetz (German Medical Devices Act).
NOTES ON ELECTROMAGNETIC COMPATIBILITY
- The device is suitable for use in all environments listed in these instructions for use, including domestic environments.
- The use of the device may be limited in the presence of electromagnetic disturbances. This could result in issues such as error messages or the failure of the display/device.
- Avoid using this device directly next to other devices or stacked on top of other devices, as this could lead to faulty operation. If, however, it is necessary to use the device in the manner stated, this device as well as the other devices must be monitored to ensure they are working properly.
- The use of accessories other than those specified or provided by the manufacturer of this device can lead to an increase in electromagnetic emissions or a decrease in the device’s electromagnetic immunity; this can result in faulty operation.
Warranty/service
Beurer GmbH, Söflinger Straße 218, 89077 Ulm, Germany (hereinafter referred to as “Beurer”) provides a warranty for this product, subject to the requirements below and to the extent described as follows.
The warranty conditions below shall not affect the seller’s statutory warranty obligations which ensue from the sales agreement with the buyer. The warranty shall apply without prejudice to any mandatory statutory provisions on liability.
Beurer guarantees the perfect functionality and completeness of this product.
The worldwide warranty period is 5 years, commencing from the purchase of the new, unused product from the seller.
The warranty only applies to products purchased by the buyer as a consumer and used exclusively for personal purposes in the context of domestic use. German law shall apply.
During the warranty period, should this product prove to be incomplete or defective in functionality in accordance with the following provisions, Beurer shall carry out a repair or a replacement delivery free of charge, in accordance with these warranty conditions.
If the buyer wishes to make a warranty claim, they should approach their local retailer in the first instance: see the attached “International Service” list of service addresses.
The buyer will then receive further information about the processing of the warranty claim, e.g. where they can send the product and what documentation is required.
A warranty claim shall only be considered if the buyer can provide Beurer, or an authorised Beurer partner, with
- a copy of the invoice/purchase receipt, and
- the original product.
The following are explicitly excluded from this warranty:
- deterioration due to normal use or consumption of the product;
- accessories supplied with this product which are worn out or used up through proper use (e.g. batteries, rechargeable batteries, cuffs, seals, electrodes, light sources, attachments and nebuliser accessories);
- products that are used, cleaned, stored or maintained improperly and/or contrary to the provisions of the instructions for use, as well as products that have been opened, repaired or modified by the buyer or by a service centre not authorised by Beurer;
- damage that arises during transport between manufacturer and customer, or between service centre and customer;
- products purchased as seconds or as used goods;
- consequential damage arising from a fault in this product (however, in this case, claims may exist arising from product liability or other compulsory statutory liability provisions).
Repairs or an exchange in full do not extend the warranty period under any circumstances.
Customer Support
Beurer GmbH
Söflinger Str. 218
89077 Ulm, Germany
www.beurer.com
www.beurer-gesundheitsratgeber.com
www.beurer-healthguide.com







0483 

























