GREEN BROOK OD100 Orion Range’ Infra-red Motion Detector Wall Switch

Important Safety Instructions
- Please read these instructions carefully before installation and keep safe for future reference.
IMPORTANT
This product should be installed by a competent person and in accordance with the current IET Wiring Regulations and Building Regulations. If in doubt, consult a qualified electrician. - Always turn off the mains supply before commencing work.
Note:
Suitable for wall mounting only.
Not suitable for parallel connections.
unction Switch:
‘ON’ = Permanently ON
‘OFF’ = Permanently OFF
‘PIR” = PIR Control

This product uses an infra-red heat detector. The detector senses ‘warmth movement’ in the surrounding area when it is dark. When movement is detected the sensor is activated and triggers the connected load. It has a built in photo-cell that can identify day and night
FIELD OF DETECTION
- Good Sensitivity

- Detection from Above

- Poor Sensitivity

INSTALLATION
As the detector responds to changes in temperature, avoid the following situations:-
- Avoid pointing the detector towards objects with highly reflective surfaces, such as mirrors etc.
- Avoid mounting the detector near heat sources, such as heating vents, air conditioning units, lights etc.
- Avoid pointing the detector towards objects that may move in the wind, such as curtains, tall plants etc.

Switch the mains supply OFF first to prevent electric shock.
- Unclip both face plates using a small flat-blade screwdriver, refer to Dia:1.

- Connect the Live in wire to the ‘L’ terminal and Load out wire to the ‘A’ terminal, refer to Dia:2.

- To install in a circular back box, push sensor in to box and tighten the two splay screws, refer to Dia:3.

- To install in a square back box, push sensor into back box and using two 3.5mm screws secure to back box through the appropriate mounting holes, refer to Dia:4.

Note: The OD100 has prongs which make it slightly awkward to fit into a socket box, fit at an angle first then rotate to fit into the socket box.
TESTING

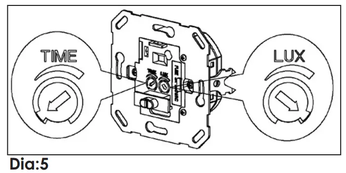
- Slide function switch to the PIR position (furthest right).
- Turn ‘Time’ control fully anti-clockwise and ‘Lux’ control fully clock wise refer to Dia:5.
- Re-connect mains supply, allow 30 seconds for the sensor to warm-up, and then perform a walk-by in front of the sensor; lamp should turn on and stay on for approximately 10 seconds, and will go off if no further movement is detected.
ADJUSTING THE ‘LUX’ CONTROL
- Turning Lux control fully clock wise, the sensor will operate in both daylight and darkness.
- Turning Lux control fully anti-clockwise, the sensor will operate in darkness only.
- Set control to operate at your required daylight level
ADJUSTING THE ‘TIME ON’ CONTROL
- Turning the time control fully anti-clock wise will set the on duration to 10 seconds +/- 3 seconds.
- Turning the time control fully clock wise will set the on duration to 7 minutes +/- 2 minutes.
After testing and control adjustment, replace the faceplates by clicking into position.
FUNCTION SWITCH
- ‘ON’ position, light will be permanently on, and will ignore PIR control.
- ‘OFF’ position, light will be permanently off, and will ignore PIR control.
- ‘PIR’ position, light will be controlled by the sensors PIR control.
TROUBLE SHOOTING
Light not coming on in PIR mode
- Fuse has blown, check fuse located under the front plate.
- Check that lamp is good.
- Check there is nothing obscuring the PIR sensor.
- Check that function switch is set to ‘PIR’.
Intermittent operation
- Check there are no curtains that can move in the wind.
- Check there are no heating vents nearby.
| Rated Voltage: | 230V~50Hz |
| IP Rating: | IP20 |
| Ambient Light: | Min 10 sec ± 3 sec Max 7 min ± 2 min |
| Time Delay: | Min 10 sec ± 3 sec Max 7 min ± 2 min |
| Rated Load: | 0W – 500W 5W – 200W /LED |
| Detection Range: | 160° |
| Detection Distance: | 9M max (<24°C) |
| Working Temp: | -20° – + 40°C |
| Working Humidity: | <93%RH |
| Power Consumption: | 0.5W approx |
| Installation Height: | 1 – 1.8M |
| Detection Moving Speed: | 0.6 – 1.5m/s |
| Fuse Type: | 3A, 20mm X 5mm |
| Dimensions: | 80 x 80 x 44.1mm |
TECHNICAL INFORMATION
NOTE:
Product & Packaging Disposal When disposing of this item and its packaging please follow local regulations and use an appropriate waste disposal centre. See GreenBrook website for further details
GUARANTEE
Your GreenBrook Wall Switch Motion detector OD100 is guaranteed for 1 year from the date of purchase.
This is in addition to your statutory rights.
PLEASE KEEP THESE INSTRUCTIONS SAFE FOR FUTURE REFERENCE
WEST ROAD . HARLOW
ESSEX . CM20 2BG . UK
www.greenbrook.co.uk
www.greenbrook.co.uk
























