INSTAL.L
SIDE BY SIDE BUILT-IN REFRIGERATOR
W11590464B
INTRODUCTION
REFRIGERATOR SAFETY
Your safety and the safety of others are very important.
We have provided many important safety messages in this manual and on your appliance. Always read and obey all safety messages.
This is the safety alert symbol.
This symbol alerts you to potential hazards that can kill or hurt you and others.
All safety messages will follow the safety alert symbol and either the word “DANGER” or “WARNING.”
These words mean:
DANGER You can be killed or seriously injured if you don’t immediately follow instructions.
WARNING You can be killed or seriously injured if you don’t follow instructions.
All safety messages will tell you what the potential hazard is, tell you how to reduce the chance of injury, and tell you what can happen if the instructions are not followed.
WARNING

Tip Over Hazard
Refrigerator is top heavy and tips easily when not completely installed.
Keep doors taped closed until refrigerator is completely installed.
Use two or more people to move and install refrigerator.
Failure to do so can result in death or serious injury.
VARIANTS AND ACCESSORIES
![]() | ![]() |
INSTALLATION REQUIREMENTS
TOOLS AND PARTS
IMPORTANT:
- Installer: Leave Installation Instructions with the homeowner.
- Homeowner: Keep Installation Instructions for future reference. Save these Installation Instructions for the local electrical inspector’s use.
TOOLS NEEDED:
Gather the required tools and parts before starting installation. Read and follow the instructions provided with any tools listed here.
- Cordless drill
- Drill bits
- Adjustable wrenches (2
- Phillips screwdriver
- Small level
- 3/8″ and 1/2″ open-end wrenches
- 1/4″ and 5/16″ socket drivers
- Torx ®† T27 screwdriver
- 11/32″ nut driver
- Appliance dolly
- 5/32″ hex key
- Utility knife
- Tape measure
Parts Needed:
- #8 x 3″ (7.6 cm) wood screws (longer screws may be needed) (6)
- 2″ x 4″ x 32″ (5 cm x 10 cm x 81 cm) wood board(s) (1 or 2)
- Make custom panels or consult a qualified cabinetmaker or carpenter to make the panels.
Overlay Series: Make custom panels, or consult a qualified cabinetmaker or carpenter to make the panels. See “Overlay Series Custom Panels and
Handle Kits” for more information.
Stainless is shipped complete. - If you are connecting the water line directly to copper tubing and not to a shutoff valve, you need a ferrule, a union, and a 1/4″ (6.35 mm) compression fitting.
LOCATION REQUIREMENTS
WARNING
Explosion Hazard
Keep flammable materials and vapors, such as gasoline, away from appliance.
Use nonflammable cleaner.
Failure to do so can result in death, explosion, or fire.
IMPORTANT: This appliance is intended to be used in household and similar applications such as:
†Torx and T27 are trademarks of Acument Intellectual Properties, LLC
- Staff kitchen areas in shops, offices and other working environments.
- Farm houses and by clients in hotels, motels and other residential type environments.
- Bed and breakfast type environments.
- Catering and similar non-retail applications.
- Observe all governing codes and ordinances.
- It is recommended that you do not install near an oven, radiator, or other heat source.
- Do not install in a location where the temperature will fall below 55°F (13°C).
- Floor must support the refrigerator weight, more than 600 lbs (272 kg), door panels and contents of the refrigerator. Flooring under refrigerator must be at same level as the room. Face of cabinetry must be plumb.
- Ceiling height must allow for side tipping radius. See “Tipping Radius.”
- Location should permit door to open fully. See “Door Swing Dimensions.”
- Location must permit top grille removal. See “Opening Dimensions.”
OPENING DIMENSIONS
- To avoid tipping during use, the solid soffit must be within 1″ (2.5 cm) maximum above the refrigerator. If the solid soffit is higher than 1″ (2.5 cm) or one is not available, then the refrigerator must be braced.
If anti-tip boards are needed, they must be installed to the rear wall studs so that the bottom of the antitip board is 84″ (213 cm) from the floor. See “Install Anti-Tip Boards” for more information.
IMPORTANT
- NOTES:
- A clearance of 1/2″ (1.3 cm) must be maintained above the top grille in order for the top grille to be removed.
- Do not remove the foam gasket from the top of the compressor cover unless removal is necessary to fit the unit under a soffit. Removal of the gasket will cause loss in cooling efficiency.
- If installing under a solid soffit, after, installation raise the leveling legs so that the gasket is pressed snugly against the soffit.

- A grounded 3 prong electrical outlet should be located within a specified number of inches from the right-hand side cabinets or end panel. See the chart following the graphic for the number of inches required for your model. For more information, see “Electrical Requirements.”
- The water shutoff should be located in the base cabinet on either side of the refrigerator or some other easily accessible area. If the water shutoff valve is not in the cabinets, the plumbing for the water line can come through the floor. See “Water Supply Requirements” for more information.

| Model | Width A (as shown above) | Dimension B (as shown above) |
| 42 | 42″ (106.7 cm) | 7¹⁄2″ (19.1 cm) |
| 48 | 48″ (121.9 cm) | 13¹⁄2″ (34.3 cm) |
NOTE: Flooring under refrigerator must be at same level as the room. Face of cabinetry must be plumb.
ELECTRICAL REQUIREMENTS
WARNING
Electrical Shock Hazard
Plug into a grounded 3 prong outlet.
Do not remove ground prong.
Do not use an adapter.
Do not use an extension cord.
Failure to follow these instructions can result in death, fire, or electrical shock.
Before you move your refrigerator into its final location, it is important to make sure you have the proper electrical connection.
If the supply cord is damaged, it must be replaced by the manufacturer or its service agent or a similar qualified person. Do not use a cord that shows cracks or abrasion damage along its length or at either the plug or connection end.
RECOMMENDED GROUNDING METHOD
A 115 V, 60 Hz, AC only, 15 A or 20 A fused, grounded electrical supply is required. It is recommended that a separate circuit serving only your refrigerator be provided.
Use an outlet that cannot be turned off by a switch. Do not use an extension cord.
IMPORTANT: If this product is connected to a GFCI (Ground Fault Circuit Interrupter) protected outlet, nuisance tripping of the power supply may occur, resulting in loss of cooling. Food quality and flavor may be affected. If nuisance tripping has occurred, and if the condition of the food appears poor, dispose of it.
NOTE: Before performing any type of installation or cleaning, remove the top grille and turn the master power switch to OFF or disconnect power at the circuit breaker
box. When you are finished, turn ON the master power switch or reconnect power at the circuit breaker box. Then reset the control to the desired setting.
WATER SUPPLY REQUIREMENTS
IMPORTANT:
- All installations must meet local plumbing code requirements.
- Connect to potable water supply only.
Do not use with water that is microbiologically unsafe or of unknown quality without adequate disinfection before or after the system. Systems certified for cyst reduction may be used on disinfected waters that may contain filterable cysts. - There is not enough clearance to achieve a flush installation if a water shutoff valve is located in the wall behind the refrigerator.
- The water shutoff should be located in the base cabinet on either side of the refrigerator or some other easily accessible area. The right-hand side is recommended. The access hole through the cabinet must be within 1/2″ (1.3 cm) of the rear.
NOTE: If the water shutoff valve is in the back wall behind the refrigerator, it must be at an angle so that the tube is not kinked when the refrigerator is pushed into its final location.
- If the water shutoff valve is not in the cabinets, the plumbing for the water line can come through the floor. A 1/2″ (12.7 mm) hole for plumbing should be drilled at least 6″ (15.2 cm) from the right-hand or left-hand side cabinet or panel. On the floor, the hole should be no more than 1″ (2.54 cm) away from the back wall. See “Connect the Water Supply.”
- If additional tubing is needed, use copper tubing and check for leaks. Install the copper tubing only in areas where the household temperatures will remain above freezing.
- Do not use a piercing-type or 3/16″ (4.76 mm) saddle valve which reduces water flow and also clogs more easily.
NOTE: Your refrigerator dealer has a kit available with a 1/4″ (6.35 mm) saddle-type shutoff valve, a union, and copper tubing. Before purchasing, make sure a saddle-type valve complies with your local plumbing codes.
WATER PRESSURE
A cold water supply with water pressure between 30 and 120 psi (207 and 827 kPa) is required to operate the water dispenser and ice maker. If you have questions about your water pressure, call a licensed, qualified plumber.
NOTE: If the water pressure is less than what is required, the flow of water from the water dispenser could
decrease or ice cubes could be hollow or irregular shaped. If you have questions about your water pressure, call a licensed, qualified plumber.
Reverse Osmosis Water Supply
IMPORTANT: The pressure of the water supply coming out of a reverse osmosis system going to the water inlet valve of the refrigerator needs to be between 30 psi and 120 psi (207 kPa and 827 kPa).
If a reverse osmosis water filtration system is connected to your cold water supply, the water pressure to the reverse osmosis system needs to be a minimum of 40 psi to 60 psi (276 kPa to 414 kPa).
If the water pressure to the reverse osmosis system is less than 40 psi to 60 psi (276 kPa to 414 kPa):
- Check to see whether the sediment filter in the reverse osmosis system is blocked. Replace the filter if necessary.
- Allow the storage tank on the reverse osmosis system to refill after heavy usage.
- If your refrigerator has a water filter, it may further reduce the water pressure when used in conjunction with a reverse osmosis system. Remove the water filter cartridge.
If you have questions about your water pressure, call a licensed, qualified plumber.
TIPPING RADIUS
Be sure there is adequate ceiling height to stand the refrigerator upright when it is moved into place.
- Be sure there is adequate ceiling height to stand the refrigerator upright when it is moved into place.
- If needed, the tipping radius can be reduced. See “Reduce Tipping Radius.”
Side Tipping Radius
The side tipping radius varies depending upon the width of the model. Use the chart provided to determine the side tipping radius.
NOTE: Tip on side only.
| Model | Tipping Radius |
| 42 | 93″ (236.2 cm) |
| 48 | 96″ (243.8 cm) |
PRODUCT DIMENSIONS
SIDE VIEW
- The depth from the front of the top grille to the back of the refrigerator cabinet is 25³⁄8″ (64.5 cm).
- The power cord is 84″ (213 cm) long.
- The water line attached to the back of the refrigerator is 5 ft (1.5 m) long.
- Height dimensions are shown with leveling legs extended 1/8″ (3 mm) below the rollers.

- When leveling legs are fully extended to 1¹⁄4″ (3.2 cm) below rollers, add 1¹⁄8″ (2.9 cm) to the height dimensions.
TOP VIEW
| Model | A | B |
| 42 Rise | 41″ (104.1 cm) | 2 6 ⁄8″ (6.67 cm) |
| 48 Rise | 47″ (119.4 cm) | 2 6 ⁄8″ (6.67 cm) |
FRONT VIEW
- Width dimensions were measured from trim edge to trim edge.
- Height dimensions are shown with leveling legs extended 1/8″ (3 mm) below the rollers.

| Model | Tipping Radius A |
| 42 | 425⁄16″ (107.5 cm) |
| 48 | 483⁄8″ (122.8 cm) |
*When leveling legs are fully extended to 1¹⁄4″ (3.2 cm)
below rollers, add 1¹⁄8″ (2.9 cm) to the height dimensions.
DOOR SWING DIMENSIONS
The location must permit both doors to open to a minimum of 90°. Allow 5″ (12.7 cm) minimum space between the side of the refrigerator and a corner wall.
NOTE: More clearance may be required if you are using overlay panels, custom handles, or extended handles. To adjust the door swing, see “Adjust Doors.”
DOOR SWING DIMENSIONS
The location must permit both doors to open to a minimum of 90°. Allow 5″ (12.7 cm) minimum space between the side of the refrigerator and a corner wall.
NOTE: More clearance may be required if you are using overlay panels, custom handles, or extended handles on a Classic model.
To adjust the door swing, see “Adjust Doors.”

| Product Size | Door Opening Angle | Distance (A) right side | Distance (B) left side |
| 42″ | 90° | 5″ (12.7 cm) | 5″ (12.7 cm) |
| 110° | 14 3 /16″ (36.1 cm) | 11 15 /16″ (30.3 cm) | |
| 130° | 18 9 /16″ (47.1 cm) | 14 5 /16″ (36.3 cm) | |
| 48″ | 90° | 5″ (12.7 cm) | 5″ (12.7 cm) |
| 110° | 14 7 /16″ (36.7 cm) | 15 3 /4″ (40 cm) | |
| 130° | 19 11 /16″ (50 cm) | 12 1 /2″ (31.8 cm) |
OVERLAY SERIES DOOR PANEL AND CABINETRY CLEARANCE
The custom door panels and adjacent cabinetry must be designed so that there is sufficient clearance for the doors to swing open. If the refrigerator is to be installed close to the wall, see “Door Swing 90°” on next page.
NOTE: For overlay Series models, rout the hinge side of the custom door panels to a radius that is equal to atleast half the thickness of the panel if a 130° door swing is desired. See “Adjust Doors.”
When the doors are closed the refrigerator will extend beyond the face of the adjacent cabinetry to some degree.
Allow a minimum of 5″ (12.7 cm) of space between the side of the refrigerator and a corner wall. More clearance may be needed if thicker custom panels or custom handles are used. Do not overlook baseboards.
OVERLAY SERIES CUSTOM PANELS AND HANDLE KITS
Custom overlay panels allow you to blend the exterior of your refrigerator into the overall kitchen décor, and to use custom handles for additional design flexibility.
The custom panels must have backer panels attached in order to mount them to the refrigerator. It is most common to work with three panels, as shown in the following graphic: a decorative overlay panel, a 1/8″ (3.18 mm) spacer panel or spacer strips and a 1/4″ (6.35 mm) backer panel.
In some cases, your cabinet manufacturer may choose to work with one panel routed for the different dimensions.
Follow these panel dimension and placement instructions to be sure that the custom overlay panels will fit properly.
IMPORTANT:
- The weight of the refrigerator door overlay panel cannot exceed 50 lbs (23 kg).
- The weight of the freezer door overlay panel cannot exceed 40 lbs (18.1 kg).
- The weight of the top grille overlay panel cannot exceed 10 lbs (4.5 kg).
To minimize panel weight, you may use 2″ (5.08 cm) spacer strips around the perimeter in place of full-sheet solid spacer panels. The spacer strips must be set in at least 1″ (2.54 cm) from the top, bottom and sides edges of the backer panel. If you use spacer strips, it is also recommended that you use two 2″ (5.08 cm) strips horizontally centered for added support.

DECORATIVE OVERLAY PANEL
| Model | A | B | C |
| 42 | 17 1 ⁄8″ (43.47 cm) | 23 1 ⁄8″ (58.71 cm) | 40 ⁄2″ (102.81 cm) |
| 48 | 19 5 ⁄8″ (49.82 cm) | 26 5 ⁄8″ (67.60 cm) | 46 1 ⁄2″ (118.05 cm) |
BACKER PANELS
NOTE:
- Dashed lines represent placement of backer panels on overlay panels.
- Illustration shows backer panels placed on decorative overlays.

| Model | D | E | F |
| 42 | 16 5 ⁄8″ (42.20 cm) | 22 5 ⁄8″ (57.44 cm) | 39 1 ⁄2″ (100.27 cm) |
| 48 | 19 1 ⁄2″ (48.55 cm) | 26 1 ⁄2″ (66.33 cm) | 45 ⁄2″ (115.51 cm) |
OVERLAY SERIES DOOR HANDLE KITS
The following handle style is available. Contact your
KitchenAid dealer or KitchenAid Parts and Accessories at
1-800-442-9991. In Canada, call 1-800-807-6777.![]()
Knurl grip handle with chrome endcaps – W10782873
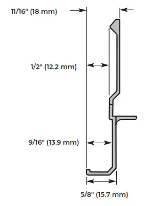
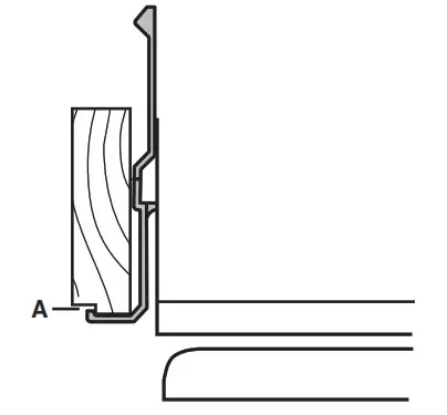
STAINLESS SERIES CUSTOM SIDE PANELS
Custom side panels may be needed when not enough space is available to have cabinets on both sides of the refrigerator or when the refrigerator is placed at the end of a cabinet run. You may choose an Inset, Flush, or Recessed Inset panel installation.
BACKER
The width and height of a side panel are determined by the type of installation you are planning.
NOTE:
- The dimensions shown are actual product dimensions and may not reflect the needed panel installation dimensions.
- The side panel should be a minimum of 1/2″ (1.27 cm) thick to avoid warping.
- If the opening depth is 25″ (63.5 cm) or more, you may want to install a support board on rear wall.
Refrigerator
Side Trim
Inset Installation Dimensions
- Measure the distance from point A (as shown) to the back wall. Add 1/16″ (1.6 mm) to this measurement to allow the side panel to fit into the trim.
- If the panel is more than 11/32″ (8.7 mm) thick, route the front edge to allow the side panel to fit into the trim.

Inset Installation Dim
- Measure the distance from point A (as shown) to back wall.
- Route the front edge of the support board or attach a 3/8″ (9.5 mm) board to hold the panel in the cabinet side trim.

UNPACK THE REFRIGERATOR
WARNING
Tip Over Hazard
Refrigerator is top heavy and tips easily when not completely installed.
Keep doors taped closed until refrigerator is completely installed.
Use two or more people to move and install refrigerator.
Failure to do so can result in death or serious injury.
IMPORTANT:
- Do not remove the film covering until the refrigerator is in its operating location.
- All four leveling legs must contact the floor to support and stabilize the full weight of the refrigerator.
- Keep the cardboard shipping piece or plywood under the refrigerator until it is installed in the operating location.
1. Remove and save the literature package bag taped to the side of the refrigerator and the parts bag behind the grille. Remove the four brackets (two on each side) that attach the shipping base to the refrigerator bottom.
NOTE: Do not remove tape and door bracing until the refrigerator is in its final location.
2. If necessary, reduce the tipping radius. See “Tipping Radius” for ceiling height requirements or “Reduce Tipping Radius” for step-by-step instructions. If you do not need to reduce the tipping radius, proceed to “Move the Refrigerator into House.”
REDUCE TIPPING RADIUS
(IF REQUIRED)
Before bringing the refrigerator into the home, be sure there is adequate ceiling height to stand the refrigerator upright. See “Tipping Radius” in the “Installation
Requirements” section for more information.
If you do not have adequate ceiling height to stand the refrigerator upright, the tipping radius can be reduced by removing the top grille and side trims (see the following chart).
| Model | Reduced Tipping Radius |
| 42 | 90¹⁄2″ (229.9 cm) |
| 48 | 91¹⁄4″ (231.8 cm) |
- Grasp both ends of the top grille.
- Push the top grille straight up; then pull straight out. Lay the grille on a soft surface.

- Remove the 6 screws attaching each cabinet side trim to the refrigerator and remove the side trims.
MOVE THE REFRIGERATOR INTO HOUSE
WARNING
Tip Over Hazard
Refrigerator is top heavy and tips easily when not completely installed.
Keep doors taped closed until refrigerator is completely installed.
Use two or more people to move and install refrigerator.
Failure to do so can result in death or serious injury.
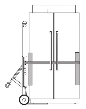
- Place an appliance dolly under the left side of the refrigerator as shown. Place the corner posts from the packing materials over the trims and handles as appropriate to avoid damage. Slowly tighten the strap.
NOTE: Pass the dolly strap under the handles.
- Place pieces of the shipping carton on the floor when rolling the dolly and refrigerator into the house. Move the refrigerator close to the built-in opening.
- Place top of cardboard carton or plywood under refrigerator.
- Stand the refrigerator up. First, place the left bottom edge of the refrigerator on the floor, stand the refrigerator upright and then lower the right-hand side of the refrigerator to the floor.
- Reassemble the trim and top grille after the dolly has been removed from the refrigerator.
INSTALL ANTI-TIP BOARDS IMPORTANT:
- To avoid tipping during use, the solid soffit must be within 1″ (2.5 cm) maximum above the refrigerator. If the solid soffit is higher than 1″ (2.5 cm) or one is not available, then the refrigerator must be braced.
- It is recommended that board(s) be installed before the refrigerator is installed.
- Board(s) must be long enough to fully cover the width of the compressor cover.
- Locate the board(s) so the bottom surface(s) of the board(s) is (are) 84″ (213 cm) from the floor.
- During installation, raise the refrigerator up so there is 1/4″ (6.35 mm) maximum between the top of the refrigerator and the bottom of the anti-tip board(s).
Do not crush the compressor cover when raising the rear leveling legs.
NOTE: The foam gasket, on top of the compressor cover, will compress to fit under the anti-tip board(s).
There is no need to trim the gasket.
TO INSTALL ANTI-TIP BOARDS
- Mark the stud locations on rear wall.
- Securely attach two 2″ x 4″ x 32″ (5 cm x 10 cm x 81 cm) boards to wall studs behind refrigerator. Use six #8 x 3″ (7.6 cm) (or longer) wood screws. The wood
screws must be screwed into the studs at least 1½” (3.8 cm). The boards must overlap the compressor cover.
CONNECT THE WATER SUPPLY
Read all directions before you begin.
IMPORTANT:
- If you turn the refrigerator on before the water line is connected, turn the ice maker OFF.
- Connect to potable water supply only.
Do not use with water that is microbiologically unsafe or of unknown quality without adequate disinfection before or after the system. Systems certified for cyst reduction may be used on disinfected waters that may contain filterable cysts.
CONNECT TO WATER LINE
PARTS NEEDED
- Minimum 7 ft (2.13 m) flexible, codes-approved water supply line
STYLE 1—SHUTOFF VALVE CONNECTION
NOTE: If your water line connection does not look like Style 1, see “Style 2—Copper Line Connection.”
1. Unplug refrigerator or disconnect power supply.
IMPORTANT: - There is not enough clearance to achieve a flush installation if a water shutoff valve is located in the wall behind the refrigerator. The water shutoff should be located in the base cabinet on either side of the refrigerator.
- Before attaching the tubing to shutoff valve, flush the main water supply line to remove particles and air in the water line. Allow enough flow so that water becomes clear. Flushing the water line may help avoid filters and/or water valves from becoming clogged.
2. Connect the flexible, codes-approved water supply line to the water shutoff valve by threading the provided nut onto the shutoff valve as shown.
- Place the end of the tubing into a bucket, and turn shutoff valve ON.
- Check for leaks. Tighten any nuts or connections (including connections at the valve) that leak.
STYLE 2—COPPER LINE CONNECTION
NOTE: If there is a water supply line that meets the specifications in “Water Supply Requirements,” proceed to “Connecting to Refrigerator.” If not, use the following instructions to connect to the household cold water supply.
- Unplug refrigerator or disconnect power.
- Turn OFF main water supply. Turn ON nearest faucet long enough to clear line of water.
- Locate a 1/2″ to 1¹⁄4″ (1.3 cm to 3.18 cm) vertical cold water pipe near the refrigerator.
IMPORTANT:
Make sure it is a cold water pipe.
Horizontal pipe will work, but drill on the top side of the pipe, not the bottom. This will help keep water away from the drill and keep normal sediment from collecting in the valve. - Determine the length of copper tubing you need.
Measure from the connection on the refrigerator to the water pipe. Add 7 ft (2.1 m) to allow for cleaning. Use 1/4″ (6.35 mm) O.D. (outside diameter) copper tubing. Be sure both ends of copper tubing are cut square. - Using a cordless drill, drill a 1/4″ (6.35 mm) hole in the cold water pipe you have selected.
A. Cold water pipe
B. Pipe clamp
C. Copper tubing
D. Compression nut
E. Compression sleeve
F. Shutoff valve
G. Packing nut - Fasten the shutoff valve to the cold water pipe with the pipe clamp. Be sure the outlet end is solidly in the 1/4″ (6.35 mm) drilled hole in the water pipe and that the washer is under the pipe clamp. Tighten the packing nut. Tighten the pipe clamp screws slowly and evenly so washer makes a watertight seal. Do not overtighten.
IMPORTANT: Before attaching the tubing to shutoff valve, flush the main water supply line to remove particles and air in the water line. Allow enough flow so that water becomes clear. Flushing the water line may help avoid filters and/or water valves from becoming clogged. - Slip the compression sleeve and compression nut on the copper tubing as shown. Insert the end of the tubing into the outlet end squarely as far as it will go. Screw compression nut onto outlet end with adjustable wrench. Do not overtighten the clamp or the sleeve. This will crush the copper tubing.
- Turn off the shutoff valve on the water pipe. Coil the copper tubing.
- Connect the flexible, codes-approved water supply line to the water shutoff valve by threading the provided nut onto the shutoff valve.
- Place the end of the tubing into a bucket, and turn shutoff valve ON.
- Check for leaks around the saddle valve. Tighten any nuts or connections (including connections at the valve) that leak.
CONNECT TO REFRIGERATOR
Parts Supplied
- 1/4″ to 1/4″ (6.35 mm to 6.35 mm) male-to-male coupling (on some models)

NOTE: The flexible, codes-approved water supply line should connect to the supply valve through the floor.
- Unplug the refrigerator or disconnect power.
- Connect the 7 ft (2.13 m) flexible codes-approved water tube to the water supply valve.
- Flush the main water supply line to remove particles and air in the water line. Allow enough flow so that water becomes clear
- Tape the 7 ft (2.13 m) flexible codes-approved water supply line to the floor, 7″ (17.78 cm) from the left side of the refrigerator. Tape along the length of the tubing, which will allow it to pass beneath the refrigerator without interference.
NOTE: Allow a minimum of 26″ (66.04 cm) of flexible codes-approved water supply line to be loose at the front of the refrigerator for connecting to the refrigerator. - Connect the 7 ft (2.13 m) flexible codes-approved water supply line to the refrigerator.
NOTE: If the main water shutoff valve is behind the refrigerator, a secondary water shutoff valve may be installed in line with the water supply line at the front of the product.
OVERMOLD COUPLING (ON SOME MODELS)
DISCRETE COUPLING (ON SOME MODELS)
- Turn on the water supply valve and check all connections for leaks.
PLUG IN REFRIGERATOR
WARNING
Electrical Shock Hazard
Plug into a grounded 3 prong outlet.
Do not remove ground prong.
Do not use an adapter.
Do not use an extension cord.
Failure to follow these instructions can result in death,fire, or electrical shock.
If the supply cord is damaged, it must be replaced by the manufacturer or its service agent or a similar qualified person. Do not use a cord that shows cracks or abrasion damage along its length or at either the plug or connection end.
- Set control switch at top of cabinet to the OFF position.
- Plug into a grounded 3 prong outlet.
MOVE REFRIGERATOR TO FINAL LOCATION
WARNING
Tip Over Hazard
Refrigerator is top heavy and tips easily when not completely installed.
Keep doors taped closed until refrigerator is completely installed.
Use two or more people to move and install refrigerator.
Failure to do so can result in death or serious injury.
IMPORTANT: To avoid floor damage, make sure levelers are raised (not touching floor) and refrigerator is on rollers before moving.
- Place top of cardboard carton or plywood under refrigerator. Remove dolly.
- Do not remove film or cover.
- Move the refrigerator straight back and evenly into the opening. Be sure that the refrigerator side trims are not interfering with the door opening. Also, be sure that the water tubing is not kinked and the power supply cord is on top of the refrigerator.
LEVEL AND ALIGN REFRIGERATOR
WARNING
Tip Over Hazard
Refrigerator is top heavy and tips easily when not completely installed.
Keep doors taped closed until refrigerator is completely installed.
Use two or more people to move and install refrigerator.
Failure to do so can result in death or serious injury.
IMPORTANT: All four leveling legs must contact the floor to support and stabilize the full weight of refrigerator.
Rollers are for moving the refrigerator, not for permanent support.
After moving the refrigerator to its final location:
- Use a 5/16″ socket driver to turn the leveling bolts clockwise to extend the legs to the floor as shown. The rollers should be off the floor.

- Adjust the leveling legs to level and align the refrigerator from left to right and front to back so that the refrigerator is level and aligned with the cabinetry. The cabinetry surface must be plumb for the ideal fit of the refrigerator side trim.
- Continue adjusting all of the leveling legs to raise the refrigerator until the top is within at least 1″ (2.54 cm) of the top soffit.
NOTE: If an anti-tip board has been used, adjust the leveling legs until the top of the refrigerator is within 1/4″ (6.35 mm) of the bottom of the anti-tip board as shown. Do not crush the compressor cover.
A. Center board 1/4″ (6.35 mm) max. above refrigerator
B. Two 2″ x 4″ x 32″ (5 cm x 10 cm x 81 cm) boards
C. Attach to studs with six #8 x 3″ (7.6 cm) screws
D. Compressor cover
IMPORTANT: Adjust in small increments to keep from damaging the cabinet trim and causing problems with the door alignment or top grille fit. To avoid damage to the cabinet or leveling legs, do not apply more than 50 inch-pounds (5.65 Nm) of torque to the leveling bolts. The leveling legs can be extended to a maximum of 1¹⁄4″ (3.18 cm) below the rollers.
INSTALL OVERLAY SERIES CUSTOM
PANELS
IMPORTANT:
- Install the custom handles prior to installing the panels on the refrigerator. For more information on KitchenAid custom handle selection, refer to the
KitchenAid Catalog, visit www.kitchenaid.com, or call 1-800-442-9991. In Canada, visit www.KitchenAid.ca, or call 1-800-807-6777. - Create custom door overlay panels according to the specifications in the “Overlay Series Custom Panels” section.
- KitchenAid is not responsible for the removal or addition of molding or decorative panels that would not allow access to the refrigerator for service.
DOOR PANEL INSTALLATION
- Remove all tape and door bracing from the refrigerator and freezer doors.
- Open the refrigerator and freezer compartment doors.

- Remove the handle-side and top trims.
WARNING
Excessive Weight Hazard
Use two or more people to move and install panels.
Failure to do so can result in back or other injury. - Slide the custom panels into the bottom and hinge side trims on the refrigerator compartment and freezer compartment doors, making sure that the backer panel fits into the hinge side trims.

- Reinstall the handle-side and top trims.
- Remove the skin from the screw covers. Slide or snap the screw covers into the handle trim section.

- Check refrigerator level and alignment. Adjust if needed.
ADJUST DOORS
DOOR HEIGHT ADJUSTMENT
Use the following steps to adjust the door height, up or down, after the doors have been leveled.
- Open the freezer or refrigerator door and locate the bottom hinge.
- Remove the door stop screw from the bottom side of the hinge with a 3/8″ open end wrench.

- Remove the locking plate as shown.

- Using a 1/2″ open end wrench, turn the bushing located underneath the bottom of the hinge.
Turn the bushing to the left to lower the door.
Turn the bushing to the right to raise the door. - After adjusting, check the doors to make sure they are even across the top and bottom. If the doors are not even, continue to turn the bushing to adjust the door height.
- Replace the locking plate.
- Turn the bushing slightly to align the hinge and locking plate screw holes.
- Replace the door stop screw or screws and tighten.
- Recheck to make sure the doors are aligned and even.
DOOR SWING ADJUSTMENT
- Check that the refrigerator door can open freely.
If the door opens too wide, remove the door stop screw or screws (depending on your model) from the bottom hinge. See “Door Height Adjustment” earlier in this section. - Hold the door open to a position that is less than 90°.
- Replace the door stop screw or screws in the bottom hinge and tighten.

DOOR-TO-DOOR OR DOOR-TO-REFRIGERATOR TRIM ADJUSTMENT
- Loosen, but do not remove, the four Torx 27 flat-head mounting screws. Remove and discard the two 1/4″ hex-head mounting screws.
- Adjust the top hinge of either door to align it with the other door or the refrigerator trim.
- Tighten the four Torx 27 flat-head mounting screws to a torque of approximately 100 inch-pounds (11.3 Nm).

INSTALL SIDE PANEL
If the built-in area depth is 25″ (63.5 cm) or more, the side panels can be installed inside the side trim or attached to the outside of the side trim.
IMPORTANT: JennAir is not responsible for the removal or addition of molding or decorative panels that would not allow access to the refrigerator for service.
- For the inside side trim piece, slide the front edge of the routed side panel into the trim piece.
- Nail the rear edge of the panel to the support board.

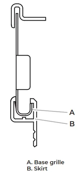
INSTALL BASE GRILLE
There are two pieces to the base grille to allow for a custom fit: the base grille itself and the skirt. The skirt can be added to the base grille in order to extend it all the way to the floor.
- To see whether the skirt is needed, place the base grille into position. Do not attach the base grille to the refrigerator. Measure the distance between the bottom of the base grille and the floor. The gap must be a minimum of 1/2″ (1.27 cm) in order to add the skirt.
NOTE: If the gap measures less than 1/2″ (1.27 cm), skip steps 3 and 4 of the instructions, and install the base grille only. - Remove the film from the base grille.
- Snap the skirt onto the base grille.

- Trim the skirt by scoring the proper “V” groove with a utility knife. Break the skirt at the score line.

- Using the two screws, attach the base grille assembly to the refrigerator as shown.
NOTE: Drive in the right side screw first.
COMPLETE INSTALLATION
- Turn the water supply line valve to the “Open” position.
- Turn the refrigerator switch to the ON position. See “Power On/Off Switch” in the Use & Care Guide for instructions. Wait a few minutes. Check the water line connections for leaks.
- Remove all boxes, parts packages and packing materials from the interior of the refrigerator. See the “Cleaning” section in the Use & Care Guide for instructions. Remove the film and cardboard from the grille and doors or door frame, depending on your model.
- Install the shelves and bins in the refrigerator and freezer compartments.
- The controls are preset at the factory to the midpoint setting. Make sure the compressor is operating properly and that all the lights are working.
- Flush the water system before use. See “Water System Preparation.”
To get the most efficient use from your new built-in refrigerator, read the Use & Care Guide. Keep Installation Instructions and Use & Care Guide near the built-in refrigerator for easy reference.
WATER SYSTEM PREPARATION
Please read before using the water system.
IMPORTANT: After connecting the refrigerator to a water source or replacing the water filter, follow the steps below to make sure that the water system is properly cleaned. This will flush air from the filter and water dispensing system, and prepare the water filter for use.
Do not use with water that is microbiologically unsafe or of unknown quality without adequate disinfection before or after the system. Systems certified for cyst reduction may be used on disinfected waters that may contain filterable cysts.
NOTE: If your model has a base grille filter system, make sure the base grille filter is properly installed and the cap is in the horizontal position.
- Open the freezer door and turn off the ice maker. The On/Off switch is located on the top right side of the freezer compartment. Move the switch to the OFF (right) setting as shown.

- Use a sturdy container to depress and hold the water dispenser lever for 5 seconds, then release it for 5 seconds. Repeat until water begins to flow.
Once water begins to flow, continue depressing and releasing the dispenser lever (5 seconds on, 5 seconds off) until a total of 3 gal. (12 L) has been dispensed. This will flush air from the filter and water dispensing system, and prepare the water filter for use. Additional flushing may be required in some households.
NOTE: As air is cleared from the system, water may spurt out of the dispenser. - Open the freezer door and turn on the ice maker. Move the switch to the ON (left) position.
NOTES:
- Allow 24 hours to produce the first batch of ice.
- Discard the first three batches of ice produced.
- Allow 3 days to completely fill ice container.
- Depending on your model, you may want to select the maximum ice feature to increase the production of ice.
® /™ ©2022 JennAir. All rights reserved. Used under license in Canada.
W11590464B
01/22
For questions about features, operation/performance, parts, accessories, or service,
call: 1-800-JENNAIR (1-800-536-6247) or visit our website at www.jennair.com.
In Canada, call: 1-800-JENNAIR (1-800-536-6247), or visit our website at www.jennair.ca.









A. Cold water pipe
DISCRETE COUPLING (ON SOME MODELS)

A. Center board 1/4″ (6.35 mm) max. above refrigerator


























