VIDEOTEC WASCAB Cabinet for WAS-WASPT

About this manual
Read all the documentation supplied carefully before installing and using this unit. Keep the manual in a convenient place for future reference.
Typographical conventions
CAUTION!
Medium level hazard.
This operation is very important for the system to function properly. Please read the procedure described very carefully and carry it out as instructed.
INFO
Description of system specifications.
We recommend reading this part carefully in order to understand the subsequent stages.
Notes on copyright and information on trademarks
The mentioned names of products or companies are trademarks or registered trademarks.
Safety rules
CAUTION! Device installation and maintaining must be performed by specialist technical staff only.
- The manufacturer declines all responsibility
for any damage caused by an improper use
of the appliances mentioned in this manual. Furthermore, the manufacturer reserves the right to modify its contents without any prior notice. The documentation contained in this manual has been collected and verified with great care. The manufacturer, however, cannot take any liability for its use. The same thing can be said for any person or company involved in the creation and production of this manual. - Use only original spare parts. Non-original spare parts could cause fire, electrical discharge or other hazards.
Identification
Product description and type
designation
Cabinet in stainless steel AISI 316L for WAS/WASPT wash systems (versions with 5m and 11m head pump..
Preparing the product for use
Any change that is not expressly approved by the manufacturer will invalidate the guarantee.
Unpacking
When the product is delivered, make sure that the package is intact and that there are no signs that it has been dropped or scratched.
If there are obvious signs of damage, contact the supplier immediately. When returning a faulty product we recommend using the original packaging for shipping.Keep the packaging in case you need to send the product for repairs.
Safely disposing of packaging material
The packaging material can all be recycled. The installer technician will be responsible for separating the material for disposal, and in any case for compliance with the legislation in force where the device is to be used.
Installation
Loosen the upper screw (01) and remove the 2 side screws on the lower part of the cover (02). Then remove the cover.

Fasten the frame of the pump to the frame of the cabinet using the 4 screws, the washers and nuts supplied.
Install the electrical connections (for pump power supply and telemetry, as described in the relevant pump manual) and passage of the water delivery pipe, using the sealing rings assembled on the lower part of the frame.

Fastening on the supports
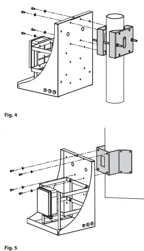
Pay attention to the fixing. The box cannot be suspended in the air, the base must rest on the ground.
The box can be directly fastened to the wall (the base must rest on the ground, the box cannot be suspended in the air) or on the ground using the holes present.
The box can also be assembled on a pole collar or corner adaptor (the base must rest on the ground, the box cannot be suspended in the air).

Then, re-position the cover, fasten the upper screw and the 2 side screws on the lower part of the cover
Technical data
Mechanical
- In stainless steel AISI 316L
- Cabinet for WAS/WASPT (versions with 5m and 11m head pump)
- Suitable for: NXCOL, NXCW
- Dimensions: 403x568x354mm (15.8×22.3x14in)
- Unit weight: 11.4kg (25lb)
Technical drawings
The indicated measurements are expressed in millimetres.

Headquarters Italy Videotec s.r.l.
Via Friuli, 6 – I-36015 Schio (VI) – Italy
Tel. +39 0445 697411 – Fax +39 0445 697414 Email: [email protected]




















