VIDEOTEC UEAW Stainless Steel Counter-Plate

About this manual
Read all the documentation supplied carefully before installing and using this unit. Keep the manual in a convenient place for future reference.
Typographical conventions
CAUTION!
- Medium level hazard.
- This operation is very important for the system to function properly. Please read the procedure described very carefully and carry it out as instructed.
INFO
- Description of system specifications.
- We recommend reading this part carefully in order to understand the subsequent stages.
Notes on copyright and information on trademarks
The mentioned names of products or companies are trademarks or registered trademarks.
Safety rules
CAUTION! Device installation and maintaining must be performed by specialist technical staff only.
- The manufacturer declines all responsibility
for any damage caused by an improper use
of the appliances mentioned in this manual. Furthermore, the manufacturer reserves the right to modify its contents without any prior notice. The documentation contained in this manual has been collected and verified with great care. The manufacturer, however, cannot take any liability for its use. The same thing can be said for any person or company involved in the creation and production of this manual. - Before starting any operation, make sure the power supply is disconnected.
- Use only original spare parts. Non-original spare parts could cause fire, electrical discharge or other hazards.
Identification
Product description and type designation
Counter-plate in stainless steel AISI 316L. For UEBP and UEBW (ULISSE EVO) and compatible with NVX, NTX cameras.
Preparing the product for use
Any change that is not expressly approved by the manufacturer will invalidate the guarantee.
Unpacking
- When the product is delivered, make sure that the package is intact and that there are no signs that it has been dropped or scratched.
- If there are obvious signs of damage, contact the supplier immediately.
- When returning a faulty product we recommend using the original packaging for shipping.
- Keep the packaging in case you need to send the product for repairs.
Safely disposing of packaging material
The packaging material can all be recycled. The installer technician will be responsible for separating the material for disposal, and in any case for compliance with the legislation in force where the device is to be used.
Contents
Check the contents to make sure they correspond with the list of materials as below:
- Counter-plate
- Bolts and screws
- Instruction manual
Installation
- The counter-plate can be used for railing, wall or ceiling assembly, also for channel applications.

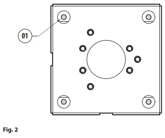
Take special care when attaching and fastening down the apparatus. If it is to be attached to a concrete surface you must use dowel pins with a traction torque rating of at least 300dN each. For a metal surface use screws with a diameter of at least 8mm and of an appropriate length. The fastening system must be capable of supporting at least 4 times the weight of the entire equipment (pan & tilt, lens, camera, supports and adapters). - Fasten the counter-plate to the ceiling or the railing using the 4 holes (01). Use the screws with a diameter equal to 8mm.

- Fasten the UEBP support (ULISSE EVO) to the counter-plate using the screws and washers supplied (02), using the 3 threaded holes (03) (Fig. 3 Fastening for UEBP (ULISSE EVO), page 3).
- Make sure the thread are free of dirt and debris.
Put some thread-locker into the holes for screws (Loctite 243®).
Pay attention to the fixing. Tightening torque: 10.5Nm (±0.25Nm).
- Fasten the UEBW support (ULISSE EVO) or NVX, NTX unit to the counter-plate using the screws and washers supplied (04), using the 4 threaded holes (05) (Fig. 4 Fastening for UEBW (ULISSE EVO), page 3 and Fig. 5 Fastening for NVX, NTX, page 3).
- Make sure the thread are free of dirt and debris.
Put some thread-locker into the holes for screws (Loctite 243®).
Pay attention to the fixing. Tightening torque: 10.5Nm (±0.25Nm).
Technical data
Mechanical
- Bracket for UEBW, UEBP (ULISSE EVO) and for NVX, NTX cameras
- AISI 316L stainless steel construction
- Dimensions: 200x200x25mm (7.9×7.9×0.98in)
- Unit weight: 1.38kg (3.04lb)
Technical drawings
The indicated measurements are expressed in millimetres.

ABOUT COMPANY
- Headquarters Italy Videotec s.r.l.
- Via Friuli, 6 – I-36015 Schio (VI) – Italy
- Tel. +39 0445 697411
- Fax +39 0445 697414
- Email: [email protected]























