XGT312-50336 High Vacuum Slit Valve
User Manual
XGT312-50336 High Vacuum Slit Valve
PRODUCT NAME
High Vacuum Slit Valve
MODEL / Series / Product Number
XGT312-50336-**
B XGT313-50336-**
SLIT VALVE
Safety Instructions C
These safety instructions are intended to prevent hazardous situations and/or equipment damage.
These instructions indicate the level of potential hazard with the labels of “Caution,” “Warning” or “Danger.”
They are all important notes for safety and must be followed in addition to International Standards (ISO/IEC)*1), and other safety regulations.
*1) ISO 4414: Pneumatic fluid power — General rules relating to systems.
ISO 4413: Hydraulic fluid power — General rules relating to systems.
IEC 60204-1: Safety of machinery — Electrical equipment of machines.(Part 1: General requirements)
ISO 10218: Manipulating industrial robots -Safety. etc.
Caution
Caution indicates a hazard with a low level of risk which, if not avoided, could result in minor or moderate injury.
Warning
Warning indicates a hazard with a medium level of risk which, if not avoided, could result in death or serious injury.
Danger
Danger indicates a hazard with a high level of risk which, if not avoided, will result in death or serious injury.
Warning
- The compatibility of the product is the responsibility of the person who designs the equipment or decides its specifications. Since the product specified here is used under various operating conditions, its compatibility with specific equipment must be decided by the person who designs the equipment or decides its specifications based on necessary analysis and test results. The expected performance and safety assurance of the equipment will be the responsibility of the person who has determined its compatibility with the product. This person should also continuously review all specifications of the product referring to its latest catalog information, with a view to giving due consideration to any possibility of equipment failure when configuring the equipment.
- Only personnel with appropriate training should operate machinery and equipment. The product specified here may become unsafe if handled incorrectly. The assembly, operation, and maintenance of machines or equipment including our products must be performed by an operator who is appropriately trained and experienced.
- Do not service or attempt to remove products and machinery/equipment until safety is confirmed.
- The inspection and maintenance of machinery/equipment should only be performed after measures to prevent falling or runaway of the driven objects have been confirmed.
- When the product is to be removed, confirm that the safety measures as mentioned above are implemented and the power from any appropriate source is cut, and read and understand the specific product precautions of all relevant products carefully.
- Before machinery/equipment is restarted, take measures to prevent unexpected operation and malfunction.
- Contact SMC beforehand and take special consideration of safety measures if the product is to be used in any of the following conditions.
- Conditions and environments outside of the given specifications, or use outdoors or in a place exposed to direct sunlight.
- Installation of equipment in conjunction with atomic energy, railways, air navigation, space, shipping, vehicles, military, medical treatment, combustion, and recreation, or equipment in contact with food and beverages, emergency stop circuits, clutch and brake circuits in press applications, safety equipment or other applications unsuitable for the standard specifications described in the product catalog.
- An application that could have negative effects on people, property, or animals requires special safety analysis.
- Use in an interlock circuit, which requires the provision of a double interlock for possible failure by using a mechanical protective function, and periodical checks to confirm proper operation.
Safety Instructions C
Caution
The product is provided for use in manufacturing industries.
The product herein described is basically provided for peaceful use in manufacturing industries.
If considering using the product in other industries, consult SMC beforehand and exchange specifications or a contract if necessary.
If anything is unclear, contact your nearest sales branch.
Limited warranty and Disclaimer/Compliance Requirements
The product used is subject to the following “Limited Warranty and Disclaimer” and “Compliance
Requirements”.
Read and accept them before using the product.
Limited warranty and Disclaimer
- The warranty period of the product is 1 year in service or 1.5 years after the product is delivered, whichever is first.2) Also, the product may have specified durability, running distance, or replacement parts. Please consult your nearest sales branch.
- For any failure or damage reported within the warranty period which is clearly our responsibility, a replacement product or necessary parts will be provided. This limited warranty applies only to our product independently, and not to any other damage incurred due to the failure of the product.
- Prior to using SMC products, please read and understand the warranty terms and disclaimers noted in the specified catalog for the particular products. 2) Vacuum pads are excluded from this 1-year warranty. A vacuum pad is a consumable part, so it is warranted for a year after it is delivered. Also, even within the warranty period, the wear of a product due to the use of the vacuum pad or failure due to the deterioration of rubber material is not covered by the limited warranty.
Compliance Requirements
- The use of SMC products with production equipment for the manufacture of weapons of mass destruction(WMD) or any other weapon is strictly prohibited.
- The exports of SMC products or technology from one country to another are governed by the relevant security laws and regulations of the countries involved in the transaction. Prior to the shipment of an SMC product to another country, assure that all local rules governing the export are known and followed.
Caution
SMC products are not intended for use as instruments for legal metrology.
Measurement instruments that SMC manufactures or sells have not been qualified by type approval tests relevant to the metrology (measurement) laws of each country.
Therefore, SMC products cannot be used for business or certification ordained by the metrology (measurement) laws of each country.
Specifications
| Opening angle | 50mm×336mm | ||
| Working pressure Pa | Atmospheric pressure to 10-6 | ||
| Operating pressure MPa | 0.45 to 0.6 | ||
| Internal leakage amount | O-ring material: FKM | 6.5×10-10 Pa・m3/sec | |
| O-ring material : Kalrezâ4079 | 6.5×10-9 Pa・m3/sec | ||
| Internal leakage amount (At negative pressure 0.1MPa or less) | O-ring material: FKM | 6.5×10-8 Pa・m3/sec | |
| O-ring material : Kalrezâ4079 | 6.5×10-7 Pa・m3/sec | ||
| External leakage amount | 6.5×10-11 Pa・m3/sec | ||
| Operating temperature OC | 5 to 150 (for gate) and 5 to 60 (for moving part) | ||
| Operating fluid | Inertia vacuum | ||
| Operating times | 0.6 to 1*2 | ||
| Position detection | Auto switch (D-A93) | ||
| Main materials for the vacuum part | Seal material | FKM | |
| Material for mechanism | Bellows : AM350, Gate : A6063, Body : A5052P, Bonnet : A5052, Others : SUS304 | ||
| Piping size | Rc1/8 | ||
| Exhaust direction | Universal | ||
| Mounting direction | Vertical | ||
| End lock mechanism | With end lock (No seal function at gate closed) | ||
| Cylinder capacity l | 0.2 | ||
| Mass kg | 20 | ||
- 1: At normal temperature・Gas penetration is not included.
- 2: The period of time from gate open state to clamp after the signal comes to the solenoid valve and from gate clamp state to gate open.
2. How to order B

Auto switch and connector
| Symbol | Auto switch | Connector | |
| NIL | Not provided | Not provided | |
| A | D-A93 (2 pcs in total, one for open and close) | Lead wire length: 0.5m | |
| C | Multi connector (C016 30C006 100 12 : AMP) | C | |
| F | D-sub connector (CDE-9PF05: Hirose Electric Co. Ltd) |
Construction / Operation
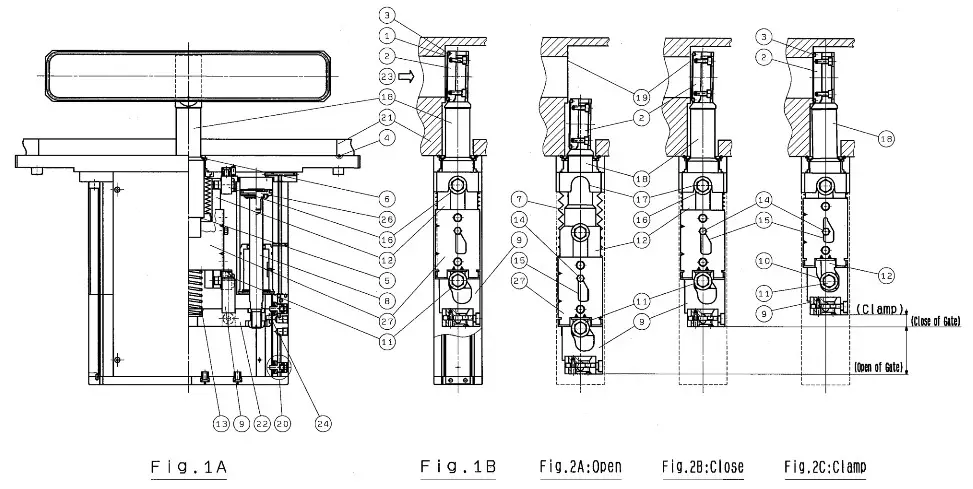
3-1 Construction

3-2 Operation
Figures 1A and B are the front views of a slit valve. In these figures, the slit valve closes an opening (slit)
23 which transfers workload and a gate ② (seal material ③) does not clamp (seal) a seating face ⑲.
In Figure 2A, the slit valve opens and makes slit
23 able to transfer workload.
Figure 2B shows the condition same as Figure 1B and Figure 2C, that’s, the gate ② clamps and seals the seating face ⑲ by the seal ③.
3-2-1 Overall construction
In Figures 1A and 1B, a piston rod ⑧ integrated with a piston
26 and a roller block ⑨ are integrated and held to an actuating base
22. And a shaft ⑱ fixed to these components and a lever ⑫ are separated away by the force of spring ⑬. On the other hand, since the lever is bound by a plate
27 fixed to the roller block ⑨, the shaft ⑱ and the roller block ⑨ can be moved up and down simultaneously by the action of spring ⑬. When the shaft ⑱ moves up and down, the axial seal between a body
21 and outside is realized by O-rings ⑤ and ⑥ and a bellows ⑦. And fixing the seal between the bonnet ASSY and the body
21 is realized by an O-ring ④.
3-2-2 Closing gate (Figure 2A to Figure 2B)
The roller block ⑨ integrated with the piston rod ⑧ moves up when pressure is applied to the “CLOSE” side of the pressure piping (in other words, pressure is exhausted from the “OPEN” side of the pressure piping). On the other hand, although the lever ⑫, the shaft ⑱, and the gate ② continue to move up because the roller block ⑨ pushes the shaft ⑱ integrated with the lever ⑫ by force of spring ⑬, a roller bearing A ⑯ gets into a U-shaped fulcrum groove ⑰, stops and closes the slit
23 of the body
21.
In Figure 2B, a cam groove ⑩ of the roller block ⑨ and a roller bearing B ⑪ guides the movement in the lateral direction.
Further, the guide groove ⑮ of plate
27 held to the roller block ⑨ and the guide pin ⑭ held to the lever ⑫ are also guiding the lateral movement.
On the other hand, the movement in the vertical direction is fixed by the constant distance between the lever ⑫ and the roller block ⑨. The distance is kept constant by the roller bearing B ⑪ and plate
27, which are clamped by spring ⑬ after touching each other. This mechanism to guide and fix the movement makes the lever ⑫, the shaft ⑱, and the gate ② able to move up and down stably from the gate open position shown in Figure 2A to the gate close position shown in Figure 2B.
3-2-3 Clamping (Sealing) (Figure 2B to Figure 2C)
The roller bearing A ⑯ gets into the fulcrum groove ⑰ and makes the lever ⑫, the shaft ⑱, and the gate ② stop. On the other hand, as the piston rod ⑧ and the roller block ⑨ rise further overcoming the force of spring ⑬, the roller bearing B ⑪ moves right along with the cam groove ⑩ of the roller block ⑨. Because of this, the shaft ⑱ and the gate ② lean left around the roller bearing A ⑯ whose position is fixed by the fulcrum groove ⑰ and the gate ② clamps an O-ring ③ to the seating face ⑲ for sealing. The lever ⑫ fixed in lateral and vertical position leans when the plate
27 moves up and makes the guide pin ⑭ of the lever ⑫ unengaged from the guide groove ⑮ of the plate
27. Because of this, the lateral position is made unfixed.
3-2-4 Clamp release (Figure 2C to Figure 2B)
Since the roller block, ⑨ is moved down when pressure is applied to the “OPEN” side of the pressure piping (in other words, pressure is exhausted from the “CLOSE” side of pressure piping), the roller bearing B ⑪ moves left along with the cam groove ⑩. Because of this, the shaft ⑱ and the gate ② lean right around the roller bearing A ⑯ whose position is fixed by the fulcrum groove ⑰, and the gate ② stops clamping. At this time, the roller bearing B ⑪ held to the lever ⑫ and the plate
27 held to the roller block ⑨ come to touch each other and are fixed vertically by force of spring ⑬ and fixed laterally when the guide pin ⑭ held to the lever ⑫ is engaged into the guide groove ⑮ of the plate
27.
When the roller block ⑨ moves down, the lever ⑫ is given slight force to move down by the roller bearing B ⑪, but the force of spring ⑬ overcomes the force to move down and makes the gate ② away perpendicularly from the seat plate ⑲.
3-2-5 Opening gate (Figure 2B to Figure 2A)
After the gate stops clamping (sealing), the gate ②, the shaft ⑱, the lever ⑫, and the roller block ⑨ move down simultaneously. And the gate ② opens and makes the slit
23 of the body
21 able to transfer workload.
3-2-6 End lock (Not shown in Figure)
In the case of a sudden loss of operating pressure, while the gate ② is in the opened or closed position, a pin ⑳ of end lock extends out and comes into an end lock groove
of the actuating base
. Because of this, the movement of the piston rod ⑧ is restricted and the valve is held at the position before the sudden loss of operating pressure. (The gate is not held sealed during clamping.)
Precautions
Caution
4-1. Pressure piping
After connecting a one-touch fitting with Rc1/8 screw specification or speed controller (SPIN) to the piping port (Rc1/8), connect the tube holding its fitting part lightly. Do not give excessive force to the fitting by connection. And the operation by air supply should be operated by 5 port 2 position valve.
Use of other valves may cause malfunction of the end lock.
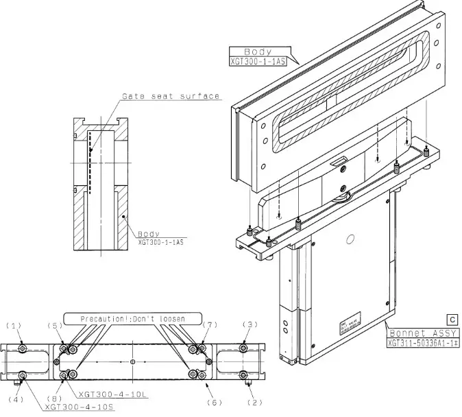
4-2.Installation
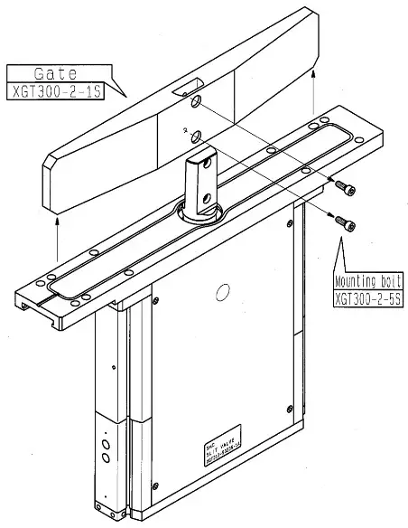
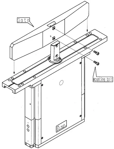
Tighten the connecting bolts diagonally with even torque so that not they are tightened on only one side. To tighten bolts for mounting the bonnet ASSY and the gate, see the maintenance procedure.
※Do not hurt the body seat during installation.
※Compression of the O-ring of the mating side of the body shall be 0.7 to 0.9mm.
Or, leakage is caused.
4-3.End lock release
When the unlocking valve with no operating pressure is applied, first apply pressure to operate the port which can remain the gate at the open or closed position as the gate is at the moment, and then release the end lock and switch 5 port valve for operation.
Further, as the slit valve is shipped in closed condition from the factory, please apply pressure to the condition at first.
Ex; When the gate is in the open position, first apply pressure to the port which remains the gate in the open position, release the end lock, and then switch 5 port valves for operation.
4-4.Speed control
In case of controlling open/close speed with mounting speed controller on the pipe connection port, please be sure to prepare a speed controller for the meter out.
If the speed controller is not for meter out, it may not only cause valve malfunction but also give a bad effect on its life.
4-5.Exhaust piping
Pay attention not to give pressure from other solenoid valves to the slit valve. Such pressure may cause the end lock to operate improperly.
4-6.Operation of valve
※ Please confirm in regulated difference pressure it and do the opening and shutting operation when you open and shut the valve.
(1) Opened condition of the gate
When the gate is fully opened, the indicator light of the auto switch at the opening side is lighting on.
(2) Closed condition of the gate
When the gate is fully closed, the indicator light of the auto switch at the closing side is lighting on.
Warning
(3) Please don’t put your hands etc. into the slit on your body carelessly.
When the valve starts its operation, the gate may cut off fingers, etc.
(4) Please don’t remove the side plates on actuating part.
Touching moving parts with hands during operation may cause injury.
(5) Please exhaust all pressure in the cylinder by disconnecting the air piping on the operating part at valve maintenance.
Warning
4-7.Replacement of O-ring
Use the parts designated on “5. Replacement parts list” when replacing O-rings for a bonnet assembly, gate, and body. Give sufficient cleaning to the O-ring groove and mount O-ring in it so that it will not twist. Use a plastic-specific tool so as not to damage the sealing faces of the O-ring groove.
After replacement, perform a leak check.
Danger
4-8.Treatment of used product
If returning a product that has used a fluid that is harmful to the human body or has the attachment of harmful material, be sure to clean and perform treatment that eliminates harm in advance.
Replacement parts list
XGT312-50336- Special parts![]()
| Name | Order No. | Application | Remarks |
| Body ASSY | XGT300-1-1AS | - |
XGT313-50336-Special parts![]()
| Name | Order No. | Application | Remarks |
| Body ASSY | XGT300-1-1-3AS | - |
Common exchange parts
| Name | Order No. | Application | Remarks | |||
| Bonnet ASSY | XGT311-50336A1-1 | For XGT31*-50336-* | C | – | ||
| XGT311-50336A1-1A | For XGT31*-50336-*A | C | – | |||
| XGT311-50336A1-1C | For XGT31*-50336-*C | C | – | |||
| XGT311-50336A1-1F | For XGT31*-50336-*F | C | – | |||
| Gate ASSY | XGT300-2-1S | – | ||||
| Body O-ring (FKM) | XGT300-9-10S | AS568-273 | ||||
| Gate O-ring | FKM | XGT300-9-9S | For XGT31*-50336-1* | AS568-271 | ||
| Kalrezâ4079 | XGT300-9-11S | For XGT31*-50336-2* | AS568-271 | |||
| Actuator O-ring (FKM) | XGT300-9-7S | AS568-177 | ||||
| Wiper | XGT300-4-9S | – | ||||
| Fixed bolt | XGT300-2-5S | – | ||||
| Auto switch ASSY | Multiple connectors | XGT300-50AS | For XGT31*-50336-*C | – | ||
| D-sub connector | XGT300-50DS | For XGT31*-50336-*F | C | – | ||
The connected connector of the Auto switch
BC
| Name | Order No. | Application | Remarks |
| Receptacle plug | XGT0402-9-12S | (For XGT31-50336-C) | C016 30D006 100 12 (AMP) |
Maintenance
Please refer to the valve maintenance procedure in the attached documents.
Troubleshooting
| Condition | Assumed cause | Countermeasure | BBB |
| Gate Internal leakage | Operating pressure is low | Pressure should be 0.45MPa or more. | |
| Lowering of air pressure (Working of end lock) | Air leaks over specified value while end lock is working | ||
| Flaws on gate seal | Replace gate | ||
| Flaws on the seal on the chamber side | Polish or replace the Body | ||
| Deterioration of O-ring by processing | Replace with new O-ring whose material is changed to have compatibility with the processing | ||
| O-ring twisted | Remove and mount O-ring again | ||
| Deflection of O-ring | Put deflected part into the dovetail groove equally | ||
| Deterioration of bonnet ASSY | Replace bonnet ASSY | ||
| External leakage | Breakage of bellows | Replace bellows | |
| O-ring deterioration caused by process | Replace it to the O-ring with the appropriate material | ||
| Flaws on the seat surface | Polish seat surface | ||
| Gate doesn’t close | Operation of the end lock | See Precaution 4-3 | |
| Operating pressure is low | It should be 0.45MPa or more | ||
| Deterioration of bonnet ASSY | Replace bonnet ASSY | ||
| Gate doesn’t open | Operation of the end lock | See Precaution 4-3 | |
| Operating pressure is low | It should be 0.45MPa or more | ||
| Deterioration of bonnet ASSY | Replace bonnet ASSY | ||
| The switch doesn’t operate | Incorrect position of the switch | Adjust it to the appropriate position | |
| Operation failure of the switch | Replace switch | ||
| Air leakage of bonnet ASSY | Looseness of connection | Replace bonnet ASSY | |
| Wearing of piston packing | Replace bonnet ASSY |
Please contact SMC, because the disassembly of it is necessary for the exchange of the bellow.
maintenance procedure
- Preparation
Open the gate of the slit valve, stop the air supply to the valve, and exhaust residual pressure. Air supply after the operation is finished should be performed with a manual system.
In case residual pressure is left at removal or the system is not switched to manual at mounting, It is difficult to treat the accident urgently and may lead to physical injury. - Remove: of bonnet ASSY
Loosen 8 pieces of cap tip bolt with hexagon wrench Little by little following the order of (8)-(1). Since bolts are cap tip type, they have resistance at the first stage of loosening, however, they lose it suddenly after being removed from the body. After removing 8 pieces of cap tip bolt, remove ASSY. Please don’t put any flaws on the gate seat surface during this operation. - Removal of gate

Removal of gate
Remove 2 pieces of mounting bolt and remove the gate. Please don’t put any flaws on the gate during this operation. - Replacement of gate 0-r ing

Replacement procedure of gate 0-ring- Remove the 0-ring from the gate, apply ethanol class 1 or IPA to the Dust-free cloth like shown above, and wipe off dust and dirt, etc. Inside of 0-ring slot. Pay attention not to Put any flaws and gouges etc. on the seat surface of the 0-ring during this operation.
Note) Protect the seat surface of the 0-ring slot from flaws and gouges by using a plastic pin set at 0-ring removal. - Wipe off dust and dirt etc. on the new 0-ring with ethanol class 1 or IPA.
- confirm no flaws, dust, or dirt inside the 0-ring slot of the gate. Follow the mounting order shown above at mounting 0-ring on the gate. After(I]), divide the un-mounted 0-ring Into small parts as much as possible and mount all of them.
Note)Pay attention not to twist(when the 0-ring is twisted, a parting line can be seen and make a wave on the 0-ring at mounting.
- Remove the 0-ring from the gate, apply ethanol class 1 or IPA to the Dust-free cloth like shown above, and wipe off dust and dirt, etc. Inside of 0-ring slot. Pay attention not to Put any flaws and gouges etc. on the seat surface of the 0-ring during this operation.
- Replacement procedure 0-ring on hornet
Replacement procedure of 0-ring on the bonnet- Remove the 0-ring from the bonnet, apply ethanol class 1 or IPA to the Dust-free cloth shown above and wipe off dust and dirt, etc. inside of the 0-ring slot.
Pay attention not to put any flaws and gouges etc. on the seat surface of the 0-ring during this operation.
Note)Protect the seat surface of the 0-ring slot from flaws and gouges by using a plastic pin set at 0-ring removal. - wipe off dust and dirt etc. on the new 0-ring with ethanol class 1 or IPA.
- Confirm no flaws, dust, or dirt inside the 0-ring slot of the gate. Follow the mounting order shown above at mounting 0-ring on the gate. At mounting the 0-ring on the bonnet, hold the 0-ring following the order stated above to mount the upper and lower part equally.
In addition, pay attention not to twist(when the 0-ring is twisted, a parting line can be seen)and make a wave on the 0-ring at mounting. - Mounting of gate
Mounting of gate Mount gate with 2 pieces of mounting bolt(TIghtening tOrque:3.41qm). Pay attention not to put any flaws on the gate at this operation, - Mounting of bonnet ASSY

Mounting of bonnet ASSY
At mounting slit valve, tighten 8 Pieces of cap tip bolt temporarily following the opposite order of valve removing(1)-(2),(3) —(4), (5).(6),(7)-(8)1with approx.611m torque using a hexagon wrench. After temporary tightening, tighten them perfectly following the same order with 12t2Nm torque. Note)At mounting it on the body, confirm the position of positioning pins to mount It in the proper direction. - Maintenance completed
- Remove the 0-ring from the bonnet, apply ethanol class 1 or IPA to the Dust-free cloth shown above and wipe off dust and dirt, etc. inside of the 0-ring slot.
Revision history
C version: Change of connector and bonnet ASSY
part number. …………………November 2021
![]()
4-14-1, Sotokanda, Chiyoda-ku, Tokyo 101-0021 JAPAN
Tel: + 81 3 5207 8249 Fax: +81 3 5298 5362
URL http://www.smcworld.com
Note: Specifications are subject to change without prior notice and any obligation on the part of the manufacturer.
© 2021 SMC Corporation All Rights Reserved
Open the gate of the slit valve, stop the air supply to the valve, and exhaust residual pressure. Air supply after the operation is finished should be performed with a manual system.
Loosen 8 pieces of cap tip bolt with hexagon wrench Little by little following the order of (8)-(1). Since bolts are cap tip type, they have resistance at the first stage of loosening, however, they lose it suddenly after being removed from the body. After removing 8 pieces of cap tip bolt, remove ASSY. Please don’t put any flaws on the gate seat surface during this operation.

Replacement procedure of 0-ring on the bonnet
Mounting of gate Mount gate with 2 pieces of mounting bolt(TIghtening tOrque:3.41qm). Pay attention not to put any flaws on the gate at this operation,
Mounting of bonnet ASSY


















