LEDALITE Verge Suspended LED

System Overview
These instructions review how to install Verge suspended fixtures. Verge 4ft and 8ft modules can be installed as individual standalone units, or they can be joined together to create continuous runs. The graphic below shows the components required to install a typical run of Verge suspended fixtures.
Verge joint kit(s)*
- A/C mounting bracket (x1)
- Break apart joiner aligner (x1)
- #8-B x 1/4″ screw (x1)
- Gasket (x1)
- #10-24 locking nut (x2)
- #10-24 9/16” bolt(x2)
NOTE: 1 kit required for each in-runjoint.
LightGuide
Verge end kit(s)
- Endcap (x1) (sculpted shown)
- A/C mounting bracket (x1)
- #8-B x 1/4″ screw (x1)
- #8-32 x 11/32 screw (x2)
NOTE: 2 kits required for each run (one foreach end).
TOOLS REQUIRED:
- Phillips screwdriver,
- 3/8 nut driver and flat or#2
- Robertson screwdriver.
Module Lengths
Verge suspended systems come in 4ft and 8ft modules. Overall module lengths are shown below. Module lengths do not include endcaps.
Endcaps
Add two endcaps to the length of each run.
ATTENTION: Install in accordance with national and local building and electrical codes.
Mount Spacing
For on-grid T-bar ceiling installations, mounts attach directly to Tee. For non-accessible ceilings and off-grid T-bar installations, the graphic below indicates mount spacing for typical row lengths. Mounting options are also available for a wide variety of other ceiling types. See Suspended Mounting Options document for more detailed information.
Row Configurations
The tables below indicate how 4ft and 8ft modules can be combined to create continuous rows of various lengths.
| Nominal row length | 4ft module | 8ft module |
| 4′ | 1x | |
| 8′ | 1x | |
| 12′ | 1x | 1x |
| 16”’ | 2x | |
| 20′ | 1x | 2x |
| 24′ | 3x | |
| 28′ | 1x | 3x |
| 32′ | 4x | |
| 36”’ | 1x | 4x |
| 40′ | 5x | |
| 44′ | 1x | 5x |
| 48′ | 6”x |
| Nominal row length | 4ft module | 8ft module |
| 56”’ | 7x | |
| 6”0′ | 1x | 7x |
| 6”4′ | 8x | |
| 6”8′ | 1x | 8x |
| 72′ | 9x | |
| 76”’ | 1x | 9x |
| 80′ | 10x | |
| 84′ | 1x | 10x |
| 88′ | 11x | |
| 92′ | 1x | 11x |
| 96”’ | 12x | |
| 100′ | 1x | 12x |
Note: Overall row lengths provided do not include endcaps. Add two endcaps to the overall length of each row.
Installation Instructions
Prepare Fixtures / Install ceiling mounting components
Arrange boxed fixtures on floor in specified mounting locations; remove fixtures from boxes. Install all ceiling mounting components and vertical aircraft cables using separate installation instructions for Aircraft Cable Mounting (supplied).
NOTE: If conditions are dusty/dirty, recommended practice is to leave fixtures in their plastic bags. Cut small holes in the bag as needed to complete the following installation sequence, and then completely remove the bag from the fixture when conditions are clean. This prevents dust and dirt build-up on the fixtures.
Install End-of-Row Aircraft Cable Brackets
A. Hook A/C mounting bracket to endplate as shown. Raise bracket until securitytab is engaged.
B. Attach bracket to fixture using supplied fastener.
NOTE: When installing individual modules, and the first fixture of a row, complete step 2 on both ends of fixture.
Suspend & LevelFirst Fixture
With 2 people, raise the first fixture to the ceiling. At each end of the module, insert aircraft cable through aircraft cable adjuster (located on A/C mount bracket). The adjuster will automatically grip and hold the cable.
IMPORTANT: Do not force cable into adjuster. See instruction A (next page) for details. Trim aircraft cable below adjuster as per instruction A (next page).
Level the fixture (see instruction B & C onnext page).
Complete Electrical Connections
NON-POWER LOCATIONS: Cap all wires and tuck into wire cavity.
POWER LOCATIONS: Remove required 1/2″ round knockout(s). Insert power cord and apply strain relief below the socket saddle to secure cord. Remove installed quick-wire connectors (if applicable) at power feed locations and complete electrical connections using wire nuts (supplied by others). Tuck wires into wire cavity.
NOTE: Use smallest appropriate wire nuts.
NOTE 2: Power feed connections can also be completed at joint locations.
Install in-row mount brackets and insert joiner aligners
For each additional fixture in the row, at the end furthest from the existing suspended fixture, attach A/C mounting bracket to fixture using supplied fasteners (see step 2). At the end closest to the existing suspended fixture, insert joiner aligners into crossplate (aligners will lock into place).
Suspend and joinadditional fixtures to create row
With two people, raise second fixture to ceiling. At joint, insert joiner aligners through black gasket and into suspended fixture. At other end (opposite joint), insert aircraft cable through adjuster.
IMPORTANT: Do not attempt to join fixtures on floor. Instead, hang one fixture at a time and join modules at ceiling level.
Complete electrical connections at joints
Complete in-row electrical connections.
NON-POWER LOCATIONS: Use supplied quick-wire connectors. Tuck wires into wire cavity.
POWER LOCATIONS: Remove installed quick-wire connectors and complete electrical connections using wire nuts (supplied by others). Tuck wires into wiring cavity.
Secure Joints
SLIDE MODULES TOGETHER: Secure joint from above using supplied nut and bolt hardware. Repeat STEPS 5-8 for each additional fixture inrow.
Install endcaps
Attach end caps using supplied #8screws.
IMPORTANT: Do not over-tighten endcap fasteners. Philips Ledalite recommends tightening fasteners by hand. When screwhead is flush with crossplate, turn an additional full turn.
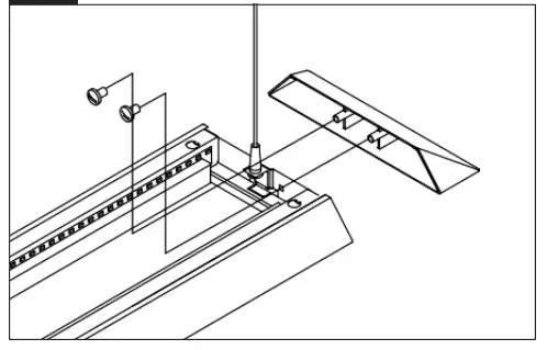
Install Light Guide
Identify smooth side of the Light Guide and ensure it is installed smooth side DOWN. Install Light Guide panel into LED fixture after joining and wiring is complete. Ensure panel is seated correctly as shown above.
This equipment has been tested and found to comply with the limits for a Class A digital device, pursuant to part 15 of the FCC Rules. These limits are designed to provide reasonable protection against harmful interreference when the equipment is operated in a commercial environment. This equipment generates, uses, and can radiate radio frequency energy and, if not installed and used in accordance with the instruction manual, may cause harmful interference to radio communications. Operation of this equipment in a residential area is likely to cause harmful interference in which case the user will be required to correct the interference at his own expense.
Aircraft cable adjustment
IMPORTANT: Do not force cable into adjuster. To insert cable intoadjuster, follow the steps below.
- CUT: If required, cut cable ends cleanly prior to inserting into adjuster. Recommended cutters: K.K. Porter cable cutter cat. No. 06”90TN or Klein all purpose shears cat. No. 1104.
- INSERT: Carefully insert cable into tapered end. If cable does not insert easily or becomes jammed during insertion, use the release tool to remove cable. Trim end and repeat process. DO NOT BEND CABLE BELOW BOTTOM OF ADJUSTER.
- TEST Once cable is inserted, apply a 25lb pointload to each mount bracket to ensure all connections are secure.
NOTE: Ensure fixture is level end-to-end. Support fixture from below and use supplied aircraft cable release tool to make fine height adjustments.
Level horizontally
LEVEL HORIZONTALLY (shown above): Loosen fasteners on bottom of adjuster and level as required. Tighten fastener once fixture is in level position.
Level vertically
LEVEL VERTICALLY (shown above): Support fixture from below and use supplied aircraft cable release tool to make fine height adjustments (see instruction A fordetails).
Sensor in Rows
Single Sensor Controlling Whole Row
- Purple & brown (or purple & grey/pink) control wires MUST be connected between fixtures.
Note:
A maximum of 8 drivers can be wired to 8 sensors; confirm fixture driver count with factory.
Multiple Sensors Controlling Separates Zones in a Row - Purple & brown (or purple & grey/pink) control wires MUST NOT be connected between zones.
Notes:
A maximum of 8 drivers can be wired to one sensor; confirm fixture driver count with factory.
Only one sensor is allowed on a wired zone. (Sensors can be paired together wirelessly via a mobile app).
Sensor Spacing
For correct operation, sensor should be placed a minimum distance of 8ft apart.
Wireless sensor should be placed no further than 40ft apart for good wireless signal connection.
Important Consideration When Using Sensor in a Row
- For fixtures with wireless sensors (CS, SB or RA options):
- DO NOT connect fixture purple and brown (or purple & grey/pink) control wires to an external dimming switch. Fixture mains wiring should not be connected to a circuit with an external on/off switch.
- For best aesthetic condition, place sensors at ends of row only so as not to break the continuous lens.
- For better occupancy coverage in longer rows, sensors may be placed mid run, but keep in mind this will break the continuous lens into discrete sections. Alternatively, remote sensors may be used, note the same wiring rules will apply.
Occupancy Sensor Coverage
Note: Longer dimension of detection area (Y1, Y2) is parallel to longer dimension of the luminaire.
Daylight Sensor
The light sensor measures the total amount of light in a circular field of approximately 80% of the PIR detection area. The following aspects should be observed during installation:
- Minimum distance from the window = 2ft (0.6m).
- Prevent light reflections from outside entering the sensor (for example sunlight reflection on a car hood) as this will lead to incorrect light regulation.
As a guideline the formula 0.72 X H can be used to calculate the minimum distance between the window and sensor whereby H is the height from the bottom of the window to the sensor.
The detection area for the movement sensor can be roughly divided into two parts;
- Minor movements (person moving = 3ft/s or 0.9m/s).
- Major movements (person moving = 3ft/s or 0.9m/s).
Photosensor spatial response
© 2019 Signify Holding. All rights are reserved. Reproduction in whole or part is prohibited without the written consent of the copyright owner. Signify North America Corporation. 400 Crossing Blvd, Suite 600 Bridgewater, NJ 08807.
- Telephone: 855-486-2216
- Signify Canada Ltd. 281 Hillmount Road, Markham, ON, Canada L6C 2S3.
- Telephone: 800-668-9008
- Phone: 604.888.6811
- Web: ledalite.com/products











Multiple Sensors Controlling Separates Zones in a Row


















