ID-1201 Jump_Suspended
Instruction Manual
System Overview
These instructions review how to install Jump suspended fixtures. Jump 4ft and 8ft modules can be installed as individual standalone units, or they can be joined together to create continuous runs. The graphic below shows the components required to install a typical run of Jump suspended fixtures.
Jump joint kit(s)*
- A/C mounting bracket (x1)
- Break apart joiner aligner (x1)
- #8-32 x 1/2″ screw (x2)
- #8-32 Hex Nut (x2)
- Gasket (x1)
- Power Plate (x2)
- ©Plug 1/2 (x2)
Jump end kit(s)*
- Endcap (x1) (luminous shown)
- A/C mounting bracket (x1)
- #8-32 x 1/2″ screw TC (x2)
- Gasket (x1)
- Power Plate (x1)
- Plug 1/2 (x1)
TOOLS REQUIRED: Philips screwdriver, 3/8” nut driver.
Module Lengths
Jump suspended systems come in 4ft and 8ft modules. Overall module lengths are shown below. Module lengths do not include endcaps.

Endcaps
Add two endcaps to the length of each run.

Mount Spacing
For on-grid T-bar ceiling installations, mounts attach directly to T-Bar. For non-accessible ceilings and off-grid T-bar installations, the graphic below indicates mount spacing for typical run lengths.

Run Configurations
The tables below indicate how 4ft and 8ft modules can be combined to create continuous runs of various lengths.
| Nomina l Row Length | Number of Modules Required | Installed Row Length (not including end caps) | |
| 4′ | 8′ | ||
| 4′ | 1x | 4′ – 3/16 | |
| 8′ | 1x | 8′ – 3/8″ | |
| 12′ | 1x | 1x | 12′ -9/16″ |
| 16′ | 2x | 16′ – 3/4 | |
| 20′ | 1x | 2x | 20 – 15/16 |
| 24′ | 3x | 24 1 – 1/16 | |
| 28′ | 1x | 3x | 28 1 – 1/4 |
| 32′ | 4x | 32 1 – 7/16 | |
| 36′ | 1x | 4x | 36 1 – 5/8 |
| 40′ | 5x | 40 1 – 13/16 | |
| 44′ | 1x | 5x | 44 1 |
| 48′ | 6x | 48 2 – 3/16 | |
| Nomina l Row Length | Number of Modules Required | Installed Row Length (not including end caps) | |
| 4′ | 8′ | ||
| 56′ | 7x | 56 2 – 9/16 | |
| 60′ | 1x | 7x | 60 2 – 11/16 |
| 64′ | 8x | 64 2 – 7/8 | |
| 68′ | 1x | 8x | 68 3 – 1/16 |
| 72′ | 9x | 72 3 – 1/4 | |
| 76′ | 1x | 9x | 76 3 – 7/16 |
| 80′ | 10x | 80 3 – 5/8 | |
| 84′ | 1x | 10x | 84 3 – 13/16 |
| 88′ | 11x | 88 3 | |
| 92′ | 1x | 11x | 92 4 – 3/16 |
| 96′ | 12x | 96 4 – 3/8 | |
| 100′ | 1x | 12x | 100 4 – 1/2 |
*Overall run lengths provided do not include endcaps. Add two endcaps to the overall length of each run.
Installation
- Prepare Fixtures/Install ceiling mounting components
Arrange boxed fixtures on floor in specified mounting locations; remove fixtures from boxes. Install all ceiling mounting components and vertical aircraft cables using separate installation instructions for Aircraft Cable Mounting (supplied). - Slide in power cover and install bushing (power location) or plug (non-power location) on both ends. Install one gasket per joint.

- Install Aircraft Cable brackets
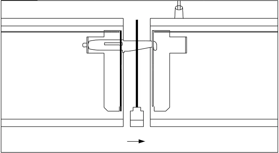
Slide A/C mounting bracket into mounting channel to the mounting position, and tighten locking bracket until screw is tight. Mounting position can be up to 18″from end.
If desired mounting location is directly over a joint, position A/C bracket and lock in a position firstwhere all teeth engage into channel, then move into correct position after 2nd fixture is installed. - Suspend and Level First Fixture
With two people, raise first fixture to ceiling. At each end of fixture, insert aircraft cable through aircraft cable adjuster (located on A/C mounting bracket). The adjuster will automatically grip and hold the cable.
IMPORTANT: Do not force cable into adjuster. See instruction A (next page) for details. To level fixture, support fixture from below and use supplied aircraft cable release tool to make fine height adjustments. - Attach Clips and Tuck Wires
P O W E R LOCATIONS: Attach cable clips at 4 increments between power drop and bushing in power cover. Feed power cord through bushing (shown above). Complete electrical connections using wire nuts (supplied by others). Tuck wires into wire cavity.
NON-POWER LOCATIONS: Cap all wires and tuck into wire cavity. - Install Joiner Aligners
Slide joiner aligner brackets into corresponding slots in fixture cross plate. - Suspend and Join Additional Fixtures to Create Row
With two people, raise second fixture to ceiling. At end of fixture (opposite joint), insert aircraft cable through adjuster. At joint, rest fixture on in-run joiner bracket.
IMPORTANT: Do not attempt to join fixtures on floor. Instead, hang one fixture at a time and join modules at ceiling level. - Complete Electrical Connections at Joints
Complete in-run electrical connections. NON-POWER LOCATIONS (shown above): Use supplied quick-wire connectors. Tuck wires into wire cavity. POWER LOCATIONS: Feed power cord through bushing in bracket. Use wire nuts (supplied by others) tocomplete connections. Tuck wires into wire cavity. - Secure Joints and Level all Fixtures
Slide modules together; secure joint from below using supplied nut and screw hardware (requires Phillips driver).
IMPORTANT: Ledalite recommends tightening fasteners by hand. When joining modules, ensure screw is tightened snug plus an additional 1/4 turn.
LEVEL FIXTURE: See A below. Repeat STEPS 4-7 for each additional fixture in row. - Install endcaps
Snap on the gasket to the end of the fixture and attachend caps using supplied #8 screws. - Finishing
Install lenses as shown.
This equipment has been tested and found to comply with the limits for a Class A digital device, pursuant to part 15 of the FCC Rules. These limits are designed to provide reasonable protection against harmful interreference when the equipment is operated in a commercial environment. This equipment generates, uses, and can radiate radio frequency energy and, if not installed and used in accordance with the instruction manual, may cause harmful interference to radio communications. Operation of this equipment in a residential area is likely to cause harmful interference in which case the user will be required to correct the interference at his own expense.
Aircraft cable adjustment
IMPORTANT: Do not force cable into adjuster. To insert cable into adjuster, follow the steps below.
- CUT
If required, cut cable ends cleanly prior to inserting into adjuster. Recommended cutters: K.K. Porter cable cutter cat. No. 0690TN or Klein all purpose shears cat. No. 1104. - INSERT
Carefully insert cable into tapered end. If cable does not insert easily or becomes jammed during insertion, use the release tool to remove cable. Trim end again and repeat process. DO NOT BEND CABLE BELOW BOTTOM OF ADJUSTER. - TEST
Once cable is inserted, apply a 25lb pointload to each mount bracket to ensure all connections are secure.
A. Level vertically

LEVEL VERTICALLY (shown above): Support fixture from below and use supplied aircraft cable release tool to make fine height adjustments (see instruction A for details).
NOTE: Ensure fixture is level end-to-end. Support fixture from below and use supplied aircraft cable release tool to make fine height adjustments.
Sensor in Rows
Single Sensor Controlling Whole Row
- Purple & brown (or purple & grey/pink) control wires MUST be connected between fixtures.
Note:
– A maximum of 8 drivers can be wired to 8 sensors; confirm fixture driver count with factory.
Multiple Sensors Controlling Separates Zones in a Row - Purple & brown (or purple & grey/pink) control wires MUST NOT be connected between zones.
Notes:
– A maximum of 8 drivers can be wired to one sensor; confirm fixture driver count with factory.
– Only one sensor is allowed on a wired zone. (Sensors can be paired together wirelessly via a mobile app).
Sensor Spacing
- For correct operation, sensor should be placed a minimum distance of 8ft apart.
- Wireless sensor should be placed no further than 40ft apart for good wireless signal connection.

Important Consideration When Using Sensor in a Row
- For fixtures with wireless sensors (CS, SB or RA options): DO NOT connect fixture purple and brown (or purple & grey/pink) control wires to an external dimming switch. Fixture mains wiring should not be connected to a circuit with an external on/off switch.
- For best aesthetic condition, place sensors at ends of row only so as not to break the continuous lens.
- For better occupancy coverage in longer rows, sensors may be placed mid run, but keep in mind this will break the continuous lens into discrete sections. Alternatively, remote sensors may be used, note the same wiring rules will apply .
Occupancy Sensor Coverage
Note: Longer dimension of detection area (Y1, Y2) is parallel to longer dimension of the luminaire.

Daylight Sensor
The light sensor measures the total amount of light in a circular field of approximately 80% of the PIR detection area. The following aspects should be observed during installation :
- Minimum distance from the window = 2ft (0.6m ).
- Prevent light reflections from outside entering the sensor (for example sunlight reflection on a car hood) as this will lead to incorrect light regulation.
As a guideline the formula 0.72 X H can be used to calculate the minimum distance between the window and sensor whereby H is the height from the bottom of the window to the sensor .
| Height | Major movement | Major movement | ||
| h | X1 | Y1 | X2 | Y2 |
| 2.4 m (7.9 ft) | 1.9 m (6.2 ft) | 2.9 m (9.5 ft) | 2.9 m (9.5 ft) | 4.3 m (14.1 ft) |
| 3 m (9.8 ft) | 2.4 m (7.9 ft) | 3.6 m (11.8 ft) | 3.6 m (11.8 ft) | 5.4 rn (17 1 ft) |
The detection area for the movement sensor can be roughly divided into two parts;
- Minor movements (person moving = 3ft/s or 0.9m/s ).
- Major movements (person moving = 3ft/s or 0.9m/s ).
Photosensor spatial response

ATTENTION: Install in accordance with national and local building and electrical codes.
© 2019 Signify Holding. All rights are reserved.
Reproduction in whole or part is prohibited without the written consent of the copyright owner.
Phone: 604.888.6811
Web: ledalite.com/products
Revision C
June 21, 2022
Signify North America Corporation.
400 Crossing Blvd, Suite 600 Bridgewater, NJ 08807.
Telephone: 855-486-2216
Signify Canada Ltd. 281 Hillmount Road,
Markham, ON, Canada L6C 2S3.
Telephone: 800-668-9008

Slide A/C mounting bracket into mounting channel to the mounting position, and tighten locking bracket until screw is tight. Mounting position can be up to 18″from end.
With two people, raise first fixture to ceiling. At each end of fixture, insert aircraft cable through aircraft cable adjuster (located on A/C mounting bracket). The adjuster will automatically grip and hold the cable.
P O W E R LOCATIONS: Attach cable clips at 4 increments between power drop and bushing in power cover. Feed power cord through bushing (shown above). Complete electrical connections using wire nuts (supplied by others). Tuck wires into wire cavity.
Slide joiner aligner brackets into corresponding slots in fixture cross plate.
With two people, raise second fixture to ceiling. At end of fixture (opposite joint), insert aircraft cable through adjuster. At joint, rest fixture on in-run joiner bracket.
Complete in-run electrical connections. NON-POWER LOCATIONS (shown above): Use supplied quick-wire connectors. Tuck wires into wire cavity. POWER LOCATIONS: Feed power cord through bushing in bracket. Use wire nuts (supplied by others) tocomplete connections. Tuck wires into wire cavity.
Slide modules together; secure joint from below using supplied nut and screw hardware (requires Phillips driver).
Snap on the gasket to the end of the fixture and attachend caps using supplied #8 screws.
Install lenses as shown.
Multiple Sensors Controlling Separates Zones in a Row




















