LEDALITE Jump Cantilever 
System Overview
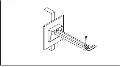
These instructions review how to install Jump wall fixtures. Jump 4ft and 8ft modules can be installed as individual standalone units, or they can be joined together to create continuous runs. The graphicbelow shows the components required to install a typical run of Jump wallfixtures.
Module Lengths
Jump cantilever systems come in 4ft and 8ft modules. Overall module lengths are shown below. Module lengths do not include endcaps.
Endcaps
Add two endcaps to the length of each run.
ATTENTION: Install in accordance with national and local building and electrical codes.
Mount Spacing
Run Configurations
The tables below indicate how 4ft and 8ft modules can be combined to create continuous runs of various lengths.
| Nomina l Row Length | Number of Modules Required | Installed Row Length (not including end caps) | |
| 4′ | 8′ | ||
| 4′ | 1x | 4′ – 3/16 | |
| 8′ | 1x | 8′ – 3/8″ | |
| 12′ | 1x | 1x | 12′ – 9/16″ |
| 16′ | 2x | 16′ – 3/4 | |
| 20′ | 1x | 2x | 20 – 15/16 |
| 24′ | 3x | 24 1 – 1/16 | |
| 28′ | 1x | 3x | 28 1 – 1/4 |
| 32′ | 4x | 32 1 – 7/16 | |
| 36′ | 1x | 4x | 36 1 – 5/8 |
| 40′ | 5x | 40 1 – 13/16 | |
| 44′ | 1x | 5x | 44 1 |
| Nomina l Row Length | Number of Modules Required | Installed Row Length (not including end caps) | |
| 4′ | 8′ | ||
| 52′ | 1x | 6x | 52 2 – 3/8 |
| 56′ | 7x | 56 2 – 9/16 | |
| 60′ | 1x | 7x | 60 2 – 11/16 |
| 64′ | 8x | 64 2 – 7/8 | |
| 68′ | 1x | 8x | 68 3 – 1/16 |
| 72′ | 9x | 72 3 – 1/4 | |
| 76′ | 1x | 9x | 76 3 – 7/16 |
| 80′ | 10x | 80 3 – 5/8 | |
| 84′ | 1x | 10x | 84 3 – 13/16 |
| 88′ | 11x | 88 3 | |
| 92′ | 1x | 11x | 92 4 – 3/16 |
| 96′ | 12x | 96 4 – 3/8 | |
| 100’ | 1x | 12x | 100 4 – 1/2 |
Installation Instructions
- Prepare Fixtures
Arrange boxed fixtures on floor in specified mounting locations; remove fixtures from boxes. - Attach Brackets to Wall
Attach brackets to wall using appropriate hardware (1/4 fastener recommended). Insure structure can support the weight of the fixture at 3.5lbs/ft. Install using two center holes for non-power locations and use 4 outer holes for power locations. Power locations require a vertically oriented 2 x4 recessed utility box (supplied by others). Use a spirit level and adjust mounting screws to level brackets.
Level the bracket by loosening or tightening the top screw or screws that hold the bracket to the structure.
- Complete Electrical Connection in Wall
(Power locations only) Feed power cable through ½“ hole in mounting bracket. Complete electrical connection to junction box through square cut out in mounting bracket. Use supplied cable clips tosecure the power cable to the interior of the mounting channel at 4 increments.
- Slide-on Wall Covers
Slide on Wall covers and use supplied #8 lock-nut to secure to cantilever arm bracket, (non-power mount shown).
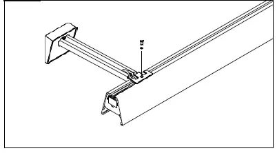
- Attach Fixture Hanging Brackets
Attach fixture mount brackets to cantilever arm brackets using supplied ¼”-20 bolts. Do not fully tighten.
- On the floor, slide power plates into fixture ends. Attach supplied bushings in power locations and plugs in non-power locations.

- Install Mounting Bracket

- Attach the Fixture to the Bracket
Raise the fixture to brackets and use the supplied countersunk screw with countersunk washer to attach the fixture to the bracket. Adjust fixture hanging brackets so fixture is flush with can tilever arm and tighten.
- Run and Secure Power Cables
Run power cable in the fixture channel and through power plate at the end of the fixture. Secure power cable into fixture channel using supplied cable clips at 4 increments.
Complete power connections using cut out in end of fixture.
- Attach Joiner Aligner Brackets
On the floor, slide variable mount bracket intonext fixture in run. Attach joiner-aligner brackets into opposite side.
- Suspend and Join Additional Fixtures in Row
Raise next fixture to cantilever bracket and insert the joiner aligners into the corresponding slots on the already installed fixture.
Attach variable mount bracket to next cantilever arm as per steps 6-9.
- Complete power connections between fixtures.

- Finishing

Join fixtures using supplied #8 screws and lock-nuts. Repeat steps 8-12 for each fixture inrun. - Attach End Cap

Snap gasket to the end of the fixture and attach end caps using supplied #8screws. - Install lenses as shown.

This equipment has been tested and found to comply with the limits for a Class A digital device, pursuant to part 15 of the FCC Rules. These limits are designed to provide reasonable protection against harmful interreference when the equipment is operated in a commercial environment. This equipment generates, uses, and can radiate radio frequency energy and, if not installed and used in accordance with the instruction manual, may cause harmful interference to radio communications. Operation of this equipment in a residential area is likely to cause harmful interference in which case the user will be required to correct the interference at his own expense.
Sensor in Rows
Single Sensor Controlling Whole Row
- Purple & brown (or purple & grey/apink) control wires MUST be connected between fixtures.
Note :- A maximum of 8 drivers can be wired to 8 sensors; confirm fixture driver count with factory.

- A maximum of 8 drivers can be wired to 8 sensors; confirm fixture driver count with factory.
Multiple Sensors Controlling Separates Zones in a Row
Purple & brown (or purple & grey/pink) control wires MUST NOT be connected between zones.
Notes :
- A maximum of 8 drivers can be wired to one sensor; confirm fixture driver count with factory.
- Only one sensor is allowed on a wired zone. (Sensors can be paired together wirelessly via a mobile app).

Sensor Spacing
- For correct operation, sensor should be placed a minimum distance of 8ft apart.
- Wireless sensor should be placed no further than 40ft apart for good wireless signal connection.

Important Consideration When Using Sensor in a Row
- For fixtures with wireless sensors (CS, SB or RA options):
DO NOT connect fixture purple and brown (or purple & grey/pink) control wires to an external dimming switch. Fixture mains wiring should not be connected to a circuit with an external on/off switch. - For the best aesthetic condition, place sensors at ends of row only so as not to break the continuous lens.
- For better occupancy coverage in longer rows, sensors may be placed mid run, but keep in mind this will break the continuous lens into discrete sections. Alternatively, remote sensors may be used, note the same wiring rules will apply.
Occupancy Sensor Coverage:
Note: Longer dimension of detection area (Y1, Y2) is parallel to longer dimension of the luminaire.
Daylight Sensor
The light sensor measures the total amount of light in a circular field of approximately 80% of the PIR detection area. The following aspects should be observed during installation:
- Minimum distance from the window = 2ft (0.6m).
- Prevent light reflections from outside entering the sensor (for example sunlight reflection on a car hood) as this will lead to incorrect light regulation.
As a guideline the formula 0.72 X H can be used to calculate the minimum distance between the window and sensor whereby H is the height from the bottom of the window to the sensor.

The detection area for the movement sensor can be roughly divided into two parts;
- Minor movements (person moving = 3ft/s or 0.9m/s).
- Major movements (person moving = 3ft/s or 0.9m/s).
Photosensor spatial response 
ATTENTION: Install in accordance with national and local building and electrical codes.
© 2019 Signify Holding. All rights are reserved. Reproduction in whole or part is prohibited without the written consent of the copyright owner.
Phone: 604.888.6811
Web: ledalite.com/products





































