LEDALITE ID-7505 Chopstick LED Suspended Instruction Manual
System Overview
Chopstick joint kit(s)*
- A/C mounting bracket
- Break apart joiner aligner
- #8-B x ¼” screw
- #10-24 x 9/16” bolt (x2)
- #10-24 nut (x2)
- Gasket
*Note: 1 kit required for each inrow joint.
Chopstick end kit(s)*
- Endcap
- A/C mounting bracket
- #8-B x ¼” screw
- 11/32” self-threading nuts (x2)
*Note: 2 kits required for row (one for each end).
Module Lengths
Chopstick LED suspended systems come in 4ft, 6ft, & 8ft modules. Overall module lengths are shown here. Module lengthsn do not include endcap
Endcaps
Add two endcaps to the length of each row.
Mount Spacing
For on-grid T-bar ceiling installations, mounts attach directly to the Tee. For non-accessible ceilings and off-grid T-bar installations, the graphic below indicates mount spacing for typical row lengths. Mounting options are also available for a variety of other ceiling types.
Row Configurations
The table below indicates how 4ft, 6ft, & 8ft modules can be combined to create continuous rows of various lengths.
*Overall row lengths provided do not include endcaps. Add two endcaps to the overall length of each row.
| Nominal row length | 4’ | 6’ | 8’ |
| 4’ | 1x | ||
| 6’ | 1x | ||
| 8 | 1x | ||
| 10 | 1x | 1x | |
| 12 | 1x | 1x | |
| 14 | 1x | ||
| 16 | 2x | ||
| 18 | 1x | 1x | 1x |
| 20 | 1x | 2x |
ATTENTION: Install in accordance with national and local building and electrical codes. Page 1
Prepare fixtures / Install ceiling mounting components
Arrange boxed fixtures on the floor in specified mounting locations; remove fixtures & lightguide panels from boxes.
Install all ceiling mounting components and vertical aircraft cables using separate installation instructions for Aircraft Cable
Mounting (supplied).
NOTE: If conditions are dusty/dirty, recommended practice is to leave fixtures in their plastic bag. Cut small holes in bag as needed to complete the following installation sequence, and then completely remove the bag from the fixture when conditions are clean.
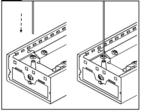
Install end-of-row aircraft cable brackets

Fold rectangular flaps in wire cover and insert the A/C mounting bracket through the top. Raise bracket until security tab is engaged.
Attach brackets to fixture using supplied fasteners.
Suspend and level first fixture

ceiling. At each end of the module, insert aircraft cable into cable adjuster. The adjuster will automatically grip and hold the cable. Do not force cable into adjuster. See instruction
Complete electrical connections at end

NON-POWER LOCATIONS: Cap all wires and tuck into wire cavity.
POWER LOCATIONS: Remove required ½” round knockout(s) in wire cover and insert supplied bushings(s). Insert power cord and apply strain relief below the wire cover to secure cord.
Remove installed quick-wire connectors (if applicable) at power feed locations and complete electrical connections using wire nuts (supplied by others). Tuck wires into wire cavity
Install in-row mount brackets and insert joiner aligners

For each additional fixture in the row, at the end furthest from the existing suspended fixture, install the A/C mounting bracket as in step 2. At the end closest to the existing suspended fixture, insert joiner aligners into the crossplate (aligners will lock into place)
Suspend and join additional fixtures to create row
With two people, raise second fixture to ceiling. At joint, insert joiner aligners through black
GASKET and into suspended fixture. At other end of joining fixture, insert aircraft cable through adjuster.
IMPORTANT: Do not attempt to join fixtures on floor. Correct method is to
Complete electrical con nections at joints
Complete in-row electrical connections.
NON-POWER LOCATIONS: Use supplied quick-wire connectors. Tuck wires into wire cavity.
POWER LOCATIONS: Remove installed quick-wire connectors and complete electrical connections using wire nuts (supplied by others). Tuck wires into wiring cavity
Secure joint(s)

SLIDE MODULES TOGETHER: Secure joint from above using supplied bolts & nuts.
Install endcaps

Attach endcap to first and last module in each row using supplied hardware. 11/32” NUT DRIVER OR WRENCH REQUIRED.
IMPORTANT: Do not over-tighten endcap hardware. Tighten by hand. When nut is flush with crossplate, turn additional 1/8 –1/4 turn.
Install lightguide

PEEL OFF PROTECTIVE FILM FROM BOTH SIDES OF LIGHTGUIDE PANEL IMPORTANT: INSTALL LIGHTGUIDE PANEL SHINY SIDE DOWN
Locate one edge of the lightguide panel against LED’s as shown. Using both hands, squeeze together housing and lightguide panel edge with thumb and fingers. Continuing to squeeze, quickly rotate lightguide into place. Ensure lightguide is installed correctly
Aircraft cable adjustment
IMPORTANT: Do not force cable into adjuster. To insert cable into adjuster, follow the steps below.
- CUT
If required, cut cable ends cleanly prior to inserting into adjuster. Recommended cutters: K.K. Porter cable cutter cat No. 0690TN or Klein all-purpose shears cat No. 1104. - INSERT
Carefully insert cable into tapered end. If cable does not insert easily or becomes jammed, use the release tool to remove cable. Trim cable end again and repeat process. DO
NOT BEND CABLE BELOW BOTTOM OF ADJUSTER. 3. TEST
Once Cable is inserted, apply a 25lb point load to each mount bracket to ensure all connections are secure.
NOTE: Ensure fixture is level end-to end. Support fixture from below and use supplied aircraft cable release tool to make fine height adjustments.
Level horizontally
LEVEL HORIZONTALLY: Loosen fastener on bottom of adjuster and level as required. Tighten fastener once fixture is in
Level vertical

LEVEL VERTICALLY: Support fixture from below and use supplied cable gripper
Sensor in Rows
Single Sensor Controlling Whole Row
- Purple & brown (or purple & grey/pink) control wires MUST be connected between fixtures.
Note :A maximum of 8 drivers can be wired to 8 sensors; confirm fixture driver count with factory
Multiple Sensors Controlling Separates Zones in a Row - Purple & brown (or purple & grey/pink) control wires MUST NOT be connected between zones.
Notes :- A maximum of 8 drivers can be wired to one sensor; confirm fixture driver count with factory.
- Only one sensor is allowed on a wired zone. (Sensors can be paired together wirelessly via a mobile app).

Sensor Spacing
- For correct operation, sensor should be placed a minimum distance of 8ft apart.
- Wireless sensor should be placed no further than 40ft apart for good wireless signal connection.

Important Consideration When Using Sensor in a Row
- For fixtures with wireless sensors (CS, SB or RA options):
DO NOT connect fixture purple and brown (or purple & grey/
pink) control wires to an external dimming switch. Fixture mains wiring should not be connected to a circuit with
an external on/off switch. - For best aesthetic condition, place sensors at ends of row only so as not to break the continuous lens.
- For better occupancy coverage in longer rows, sensors may be
placed mid run, but keep in mind this will break the continuous lens into discrete sections. Alternatively, remote sensors may be used, note the same wiring rules will apply.
Occupancy Sensor Coverage

Daylight Sensor
The light sensor measures the total amount of light in a circular field of approximately 80% of the PIR detection area. The following aspects should be observed during installation:
- Minimum distance from the window ≥ 2ft (0.6m).
- Prevent light reflections from outside entering the sensor (for example sunlight reflection on a car hood) as this will lead to incorrect light regulation.
As a guideline the formula 0.72 X H can be used to calculate the minimum distance between the window and sensor whereby H is the height from the bottom of the window to the sensor.


| Height | Minor movement | Major movement | ||
| h | Xl | Y7 | 1R | Y2 |
| 24 m (7.9 ft) | 1.9 m (6,2 ft) | 29 m (9.5 ft) | 2.9 m (9.5 ft) | 4.3 m (14.1ft) |
| 3m (9.8 ft) | 2.4 m (79 ft) | 3.6 m (11.8 ft) | 3.6 m (11.8ft) | 5.4 m (177 ft) |
The detection area for the movement sensor can be roughly divided into
two parts;
- Minor movements (person moving ≤ 3ft/s or 0.9m/s).
- Major movements (person moving ≥ 3ft/s or 0.9m/s).
Photosensor spatial response

ATTENTION: Install in accordance with national and local building and electrical codes. Page 5























