Portable Lamp with Plug
Instruction Manual
Model#: JYL6015
Product Dimensions: 22″LX4.25″W X6.5″H
JYL6015 Portable Lamp with Plug
Note: 2 Assembly Options
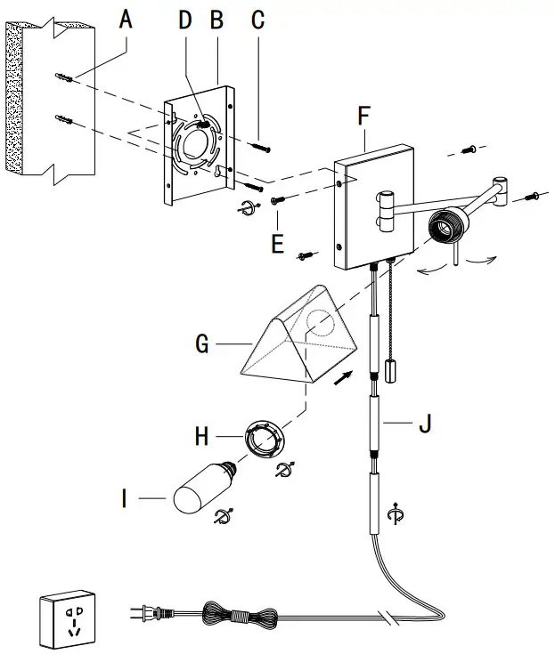
Option 1:Portable lamp with plug
Option 2:Hard wired
Option 1: Portable lamp with plug
PREPARATION
Before beginning assembly of product, make sure all parts are present. Compare parts with package contents list and hardware contents list. If any part is missing or damaged, do not attempt to assemble the product.
Estimated Assembly Time: 20 minutes.
Step 1
- Three tubes (J) were locked on the NIPPLE of IAMP BODY (F) from the bottom.
- Place the MOUNTING PLATE(B) on the wall and mark the wall according to the MOUNTING hole and place 2 PLASTIC ANCHORS(C) on the wall.
- Use 2PCS TAPPING SCREW (C) to mount the MOUNTING PLATE (B) on PLASTIC ANCHORS (A).
Attach the IAMP BODY (F) to the MOUNTING PLATE (B) and secure it with the MOUNTING SCREW (E).

Step 2
- Place the shade (G) on the lamp body (F), and then lock the shade (G) with the socket ring (H) .
- Lock the bulb (I) to the socket .
- Move handle to adjust the direction of lamp shade (G).
PLEASE USE TYPE”A” BULB MAX 25-WATT OR LED BULB MAX 5-WATT, THERE IS 1PC LED 4-WATT BULB IN THE BOX.
ENJOY YOUR LAMP
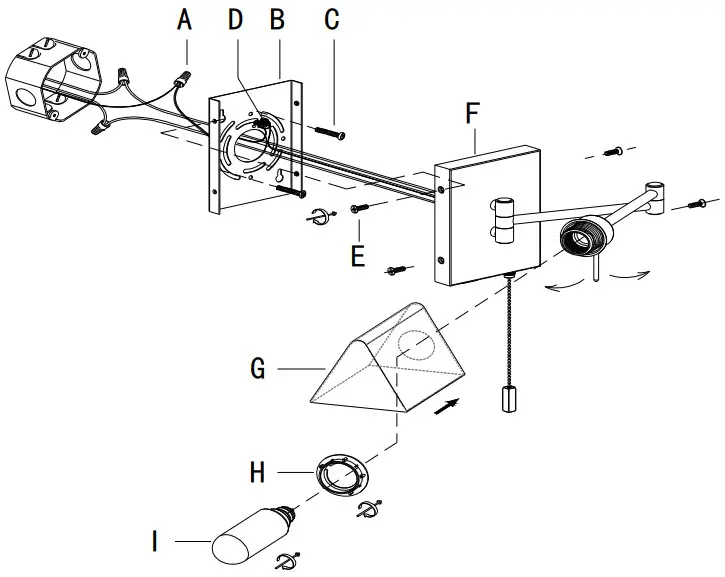
Option 2: Hard wired
PREPARATION
Before beginning assembly of product, make sure all parts are present. Compare parts with package contents list and hardware contents list. If any part is missing or damaged, do not attempt to assemble the product.
Estimated Assembly Time: 20 minutes.
Step 1
- Cut off the plug with scissors, leaving the exposed wire 8″ in length.
Note: Cuting the cord so that they are at least 6 inches (152.4mm) long within an outlet box and extend max. 2.4m long measured from the point where the cord emerges from the body of the lamp. - Use tools to loosen up the Nipple(J)and Decorative nut(K)from the iamp body.
- Insert Plastic cover(L)into iamp body hole.

Step 2
- Lock the mounting plate (B) on the outlet box with the Out let box screws (C).
- Connect the power cord of the lamp to the positive and negative poles in the household power box.
Connect, Hot, Black or Red Outlet Supply Wire to: Connect, Neutral, White Outlet Supply Wire to: Black White * Parallel Cord (round & smooth) * Parallel Cord (square & ridged) Clear, Brown, Gold or Black without Tracer (colored stripes) Clear, Brown, Gold or Black with Tracer (colored stripes) Insulated Wire (not green) with copper metal conductor Insulated Wire (not green) with Silver metal conductor.
*Note: When parallel wire ( SPT I & SPT II ) is used. The neutral wire is square shaped and ridged and the hot wire will be round in shape and smooth.(See Illustration on left.)
Grounding Instructions:
a) For installation in the United States: Wrap ground wire from outlet box around green ground screw(C) on mounting bracket, no less than 2″ from wire end. Tighten ground screw. If fixture is supplied with a ground wire, connect to outlet ground wire with a wire connector.
b) For installation in Canada: If fixture is supplied with ground wire, wrap ground wire around green grounding screw on mounting bracket. Tighten ground screw. - Connect the lamp body (F) to the mounting plate (B) and lock it with Mounting screw (E) .

Step 3
- Place the shade (G) on the lamp body (F), and then lock the shade (G) with the socket ring (H) .
- Lock the bulb (I) to the socket .
- Move handle to adjust shade (G) direction left and right.
WARNING
WE RECOMMEND INSTALLATION OF THIS LIGHTING FIXTURE BE DONE BY A LICENSED ELECTRICIAN.
WARNING *** SWITCH OFF THE MAIN ELECTRICAL SUPPLY FROM THE MAIN FUSE BOX/CIRCUIT BREAKER BEFORE INSTALLATION.
INSPECT ITEM CAREFULLY BEFORE ATTEMPTING TO INSTALL. IF THERE IS ANY DAMAGE OR OBVIOUS DEFECT, DO NOT INSTALL. ITEM MAY NOT BE RETURNED ONCE IT HAS BEEN INSTALLED.
CARE AND MAINTENANCE
To clean the outside of the fixture, use a dry or slightly dampened clean cloth (use clean water, never a solvent) to wipe the surface of the fixture.
To clean the inside of the fixture, first disconnect power to the fixture by turning off the circuit breaker or by removing the fuse at the fuse box. Next, use a dry or slighly damperned clean clorth (use clean water, never a solvent) to wipe the interior surface of the fixture.
Do not use any cleaners with chemical, solvents or harsh abrasives. Use only a dry soft cloth to dust or wipe carefully.
NOTICE& IMPORTANT SAFETY INSTRUCTIONS
- Please make sure that you have all parts indicated before you begin assembly of this item.
- This item should be assembled on a soft surface to prevent scratching the finish during assembly.
- To reduce the risk of fire, electrical shock or injury to persons or property, please follow the guideline below for safe use and installation.
- The external flexible cable or cord of this lamp cannot be replaced. If the cord is damaged, the lamp shall be destroyed.
Part List and Hardware List
| A | PLASTIC ANCHORS | X2 | ![]() | G | SHADE | X1 | ![]() |
| B | MOUNTING PLATE | X1 | ![]() | H | SOCKET RING | X1 | ![]() |
| C | TAPPING SCREW | X2 | ![]() | I | BULB | X1 | ![]() |
| D | GREEN GROUND SCREW | X1 | J | TUBE | X3 | ||
| E | MOUNTING SCREW | X4 | ![]() | ||||
| F | I AMP BODY | X1 | ![]() |

*Note: When parallel wire ( SPT I & SPT II ) is used. The neutral wire is square shaped and ridged and the hot wire will be round in shape and smooth.(See Illustration on left.)


















