
INSTALLATION & OPERATING INSTRUCTIONS
NATURAL WOVEN SHADES Corded Lift
Corded Top Down Bottom Up Cordless Lift
Continuous Cord Loop
Thank you for your purchase. This shade has been custom built for you from the highest quality materials. To avoid errors and save valuable time, please read these instructions before installing your new blind.
TOOLS YOU WILL NEED

| 1. Pencil or Marker 2. Measuring Tape 3. Phillips Screwdriver | 4. Level 5. Power Drill 6. Mounting Fasteners |
| Mounting Surface | Fastener |
| Drywall, Plaster Metal Wood | Wall Anchors, Expansion Bolts (Not provided)![]() Sheet Metal Screws (Not provided) No. 6 Hex Head Screws (Provided) |
IMPORTANT NOTE ABOUT NATURAL WOVEN MATERIALS:
Our woven wood shades are uniquely constructed from natural bamboos, reeds, jutes, grasses, rattans and woods. Many materials, such as natural grasses, are hand tied and braided with expert care. Each woven wood shade is one of a kind. Slight cracks, imperfections and variations in color are all inherent in natural products and are not considered flaws.
Due to the woven construction of our shades, yarns may have shifted during shipping. This shifting may cause a slight shortening of height or uneven edges.
Please read below for quick and easy remedies.
HEIGHT: If after installation you find your shade is slightly shorter than the ordered height, simply grasp the bottom of the shade and gently pull to stretch the product to full height.
Note: Some shade materials may stretch slightly over time and with use.
UNEVEN EDGES: Lightly top edge of shade with a flat surface (ruler, etc.) until even.
GETTING STARTED
Thank you for purchasing this Natural Woven Woods Shades. All of the required installation components are wrapped in the package along with these instructions. With proper installation, operation, and care, your new shades will provide years of beauty and performance. Please thoroughly review this instruction booklet before beginning the installation.
NOTE: Some parts may vary depending upon your selected mounting options or control system options.

MOUNTING TYPES
If the installation brackets are mounted correctly, the rest of the installation process will follow easily. To prepare for this important first step, review the mounting types and basic window terminology illustrated below.
Prior to mounting the brackets, add any clearance depth required to avoid obstructions such as window cranks or handles.

Make sure mounting surface is level. Brackets must be in line and level. Shim brackets if necessary.
The head rail must be level for the shade to operate properly.

Mounting the Brackets
Standard installation brackets may be used for INSIDE or OUTSIDE mounts. The (optional) ceiling mount brackets will normally be used for OUTSIDE ceiling mounts, but may also be used for limited surface-depth INSIDE mounts.
For 3/4” headrail shades go to INSTALLING THE SHADE
| Installation Bracket Requirement Chart | |
| Shade Width | Brackets Required |
| 10” to 36” | 2 |
| 36-1/8” to 72” | 3 |
| 72-1/8” to 96” | 4 |
| 96”+ (2 and 3 on 1 headrail) | 5 |
Mounting Diagrams [INSIDE, OUTSIDE & CEILING MOUNTS] — Corded, Corded Top Down Bottom Up, Cordless

Continuous Loop Control Shades bracket requirements and placements are the same for INSIDE and OUTSIDE mounts. Align brackets to routed holes in the shade’s headrail for mounting.
- Simply position so that the brackets are aligned with the pre-attached bracket connectors already attached to the shade headrail.
- To ensure proper shade operation, mount the brackets level. Shim the brackets if necessary to achieve a level alignment.

INSIDE MOUNT
For inside mounts the standard (or extension) brackets may be screwed in place through two diagonal back (to wall surface) or top (to ceiling surface) bracket holes. Refer to the depth chart below.
| Inside Mount Depth Requirements | |||
| Bracket | Minimum Depth | Fully Recessed* 1-1/2″ Depth Headrail | Fully Recessed* 2-112″ Depth Headrail |
| Standard | 1-1/8″ | 2-112″ | 2-1/2″ |
| Ceiling | 1-1/8″ | 2-1/2″ | 2-1/2″ |
| Extension | 1-7/8″ | 1-118″ | 3-1/2″ |
General Information:
* The “Fully Recessed” depth requirements include space for the woven wood material attached to the front (valance) and back (shade) sides of the headrail. These are AVERAGE depths as the different woven wood materials have varying degrees of thickness. Verify your individual shade’s depth (front to back) before mounting and then position brackets accordingly for an EXACT flush mount.
* Continuous Loop Control, motorized and some of the Cordless Breeze shades are only built on the 2-1/2” depth headrail and require 2-3/4” for a fully recessed mount depth.
NOTE: Prior to mounting the brackets, add any clearance depth required to avoid obstructions such as window cranks or handles.
OUTSIDE MOUNT
For outside mounts the standard (or extension) brackets may be screwed in place through two diagonal back (to wall surface) or top (to ceiling surface) bracket holes.
For ceiling mounts the optional ceiling mount brackets only have top holes.
| Outside Mount Surface Space Requirements | |
| Bracket | Minimum Depth |
| Standard | 1-1/8” |
| Ceiling | 1-1/8” |
| Extension | 1-1/4” |
Corded, Corded Top Down Bottom Up, Cordless
Mark the Bracket Positions
- Attach the brackets to the shade, placing the screw bolt through each route.
- Hold the shade up and mark the bracket or drill hole positions.
- Put the shade down and remove the brackets.
Attach the Brackets
- Align brackets to the marked positions and secure through two holes.
- Verify that the bracket tops are aligned and level to one another.
Spacer Blocks (optional):
- Spacer blocks will be attached to the end of each bracket.
- Ensure screws are long enough to secure brackets with spacer blocks.
- Do not use more than three spacer blocks per bracket.
- If installing extension brackets, do not use spacer blocks.
Continuous Loop Control:
For continuous loop control shades, the brackets may be mounted inside the frame or into the back encasement like an outside mount using the rear holes.
Make sure the release tab is mounted on the bottom.

Installing the Shade
MOUNT THE HEADRAIL
Corded, Corded Top Down Bottom Up, Cordless
- With the front side of the shade facing you lift the shade into bracket bolts until bolts are visible through headrail routes.
- Tightly secure each bolt with wing nuts.
• To REMOVE shade, maintain hold on shade and loosen wing nuts.

Mount 3/4” Headrail Shades (ONLY):
NOTE: 3/4” Headrail shades are designed for shallow installation depths and mount with screws only.
The headrail will come with pre-drilled holes at the required locations for INSIDE and OUTSIDE mounting.
- With the front side of the shade facing you position and level the shade where it will be installed and mark the locations.
- Flip up the valance to expose the headrail facing and pre-drilled holes. For Waterfall Style shades, lift up the folded shade material (may require 2 people).
• For INSIDE MOUNTS, drill vertically though the pre-drilled holes into the top of the window frame.
• For OUTSIDE MOUNTS, drill horizontally though the pre-drilled holes into the wall. The screws will need to go through the shade material attached to the back of the headrail.
• To REMOVE shade, maintain hold on shade and unscrew the screws.

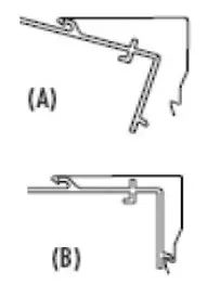
For Continuous Loop Control (ONLY):
- Figure A – Position the shade with the front hook of the pre-attached, headrail bracket connector resting on the top lip of all mounted brackets.
- Figure B – Push the bottom front of the shade headrail firmly backwards and toward the window until the lip on the rear of the pre-attached headrail bracket connector engages the mounting bracket and snaps into place, as shown.
• To REMOVE shade, from the bottom rear of the shade headrail, insert a flathead screwdriver in between the headrail bracket connector and bracket. Gently twist the screwdriver and pry open the bracket to release it from the bracket connector. Support the shade as the brackets are released.

Continuous Loop Control Shades — Attaching the Cord Tensioner
NOTE: The tension device must be installed to make the shade fully operable.
- Before doing anything, FIRST slide the tension device to the bottom of the bead chain.
- Insert a small screwdriver, punch, or awl through the screw hole at the bottom of the cord tensioner.
- While holding the tension device in one hand, pull the plunger away from the bead chain with the other hand. Lift the bead chain out of the bead locking groove and slide the tension device to the bottom of the chain loop.
- Pull the tension device down until the bead chain is fully tensioned (plunger will be at the top) and then move the tension device up approximately 1/8”.

Operating the Shade
Corded & Corded Top Down Bottom Up:
TO RAISE AND LOWER THE SHADE
- Pull the single lift cord and wood tassel toward the center of the shade to disengage the cord lock.
- Pull the cord to raise or lower shade to desired position, then…
- Move the cord toward the original position to re-engage the cord lock.
NOTE: Do not try to raise the shade any higher than it was intended to go. If the shade binds, check the cord alignment to see that the cords are not jamming. If the shade does not rise evenly, adjust individual cords and draw cords through equalizer ring to maintain tension.
Continuous Loop Control Shades:
TO RAISE AND LOWER THE SHADE
- Pull down on the chain to raise and lower.
- One side of the loop will raise the shade and one side will lower it.
- If continuously pulled after lowering, the shade will begin to rise.
NOTE: DO NOT raise shade any higher than it was intended to go. If shade binds, check rear cord alignment to ensure the cords are not jamming.
If shade does not raise evenly, in most cases lowering it completely will allow cords to re-align on the shaft.
Cordless Shades:
TO RAISE AND LOWER THE SHADE
- Grasp the bottom hem with both hands.
- Move the shade up or down to the desired position using the bottom hem.

Mounting the Cord Cleat
Cord cleats should be mounted at a height where they will be out of the reach of children.
Consider that a child may stand on furniture attempting to reach the cords.
- Attach the cord cleats so they are 6” to 12” apart.
- Wrap excess cord around the cleats after each use of the shade.
- Clip the cord onto itself using a clamping devise (e.g. a binder clip).
- Wrap or tie the cord to itself.

Attaching the Hold Down Brackets (Optional)
- Lower the shade and place the hold down pins into the hold down brackets.
- Mark the hold down bracket locations on the mounting surface.
- With the brackets level, attach them using two screws.

Limited Length Adjuster
All woven wood shade configurations that include a bottom dowel will also include a Limited Length Adjuster. Shades that have edge-binding or tapebinding on the bottom will NOT include the Adjuster.
The Limited Length Adjuster allows up to a 1” shade height reduction (depending upon the dowel size and the ordered woven wood material).
It works by simply SLIDING UP THE ADJUSTER attached to the bottom of each lift cord on the back of the shade.
- As the Adjuster is moved upward, it rolls the dowel upward and reduces the shade height.
- As the Adjuster is moved downward, it rolls the dowel downward and increases the shade height.
- Position the Adjusters on ALL lift cords to the same height to level the shade.

NOTE: New woven shades may sometimes “shrink” a little in length when shipping, due to heat and/or dryness. After installing your shade, if the length is a little less than ordered, this shipping shrinkage may be the reason. The simple solution is to carefully grasp the bottom of the shade (dowel or fabric binding area) with both hands a few feet apart and gently tug downward. This will loosen the woven shade threads a little and restore the shade to its original length.
CARE AND CLEANING
Woven Woods are made of the highest quality materials for extended wear. If it is not damaged or exposed to a great deal of direct sunlight, it is not unrealistic to expect years of enjoyment with minimal care. Raising and lowering shades periodically helps reduce most natural dust accumulation.
If additional cleaning is desired, shades can be lightly brushed or carefully cleaned with a soft vacuum brush attachment. You can also use 3M Scotch guard spray on shades for added stain protection.
IMPORTANT NOTE:
Woven Woods are hand crafted from a variety of quality natural bamboo, rattan, reeds, jutes and wood materials. As such, there is an inherently greater corresponding variation in color, grain, texture, cracking and warpage in the final manufactured shade. These variations are considered acceptable and are part of the unique beauty of woven woods.
DUSTING: Regular light dusting with a feather duster is all the cleaning that is needed in most circumstances.
VACUUMING: Use a hand-held vacuum with low suction for more thorough dust removal.
CAUTION: Do not immerse woven wood shades in water. Do not ultrasonically clean woven wood shades.
CHILD SAFETY
Young children can STRANGLE in cord loops and in the loop above the cord stop. They can also wrap cords around their necks and STRANGLE.
- Always keep cords out of children’s reach.
- Move cribs, playpens and other furniture away from cords. Children can climb furniture to get to cords.
- Do not tie cords together.
- Make sure cords do not twist together and create a loop.

Cord Loop and Beaded Chain Loop Shades
- Attach the tensioner to the wall or window casement. See installing the tensioner on page 5.
This can prevent children from pulling cord loops around their necks. - A tensioner installation kit with instructions for attaching the tensioner is provided. For the shade to operate properly, the tensioner must be correctly mounted and secured. See tensioner instructions provided for details.
- Only the supplied tensioner(s) and hardware should be used.
BREAK-AWAY STOP BALL: This component breaks apart with minimal pressure should a child or pet become entangled on the top lift cords. It also acts as a stopper to prevent inner cords from being pulled through the blind, which can also create potential entanglement.
REASSEMBLY OF BREAK-AWAY STOP BALL: Reinsert any loose cords into the top notches of the cord stop.
There is a notch on each side. Line up the right and left sides of the cord stop and snap the pieces back together.
SAFETY LABELS
In compliance with WCMA/ANSI safety standards the warning labels on the bottom rail are designed to be permanent. DO NOT remove the permanent warning label on the bottom rail. This assures that future owners of this product will be aware of potential dangers associated with this shade.
WARRANTY INFORMATION
Lifetime Limited Warranty covering our Custom Made Blinds
We extend this lifetime limited warranty to the original purchaser. This warranty applies only to manually operated Custom Products properly installed in the window, door or interior area for which they were intended. Installation of the product must be in accordance with accompanying instructions.
The product cannot be modified. It is the purchaser’s responsibility to maintain and clean the product in compliance with the instruction provided.
The product must be used only in the window for which it was purchased. Damage to the product resulting from misuse, abuse, direct exposure to salty air or discoloration due to sunlight or the passage of time is not covered by this warranty.
This warranty does not apply to conditions caused by normal wear and tear upon the product. This warranty is exclusive and in lieu of all other obligations, liabilities or warranties. In no event shall the Manufacturer be liable for incidental or consequential damages or for any other direct or indirect damage, loss, cost, expense or fee. Some states do not allow the exclusion or limitation of incidental or consequential damages, so this exclusion or limitation may not apply to you.
In the event of a defect under this warranty, we will repair or replace the product, at our option, provided it is returned to our store. Our warranty obligation excludes shipping charges and labor costs for measuring and installation. Repairs will be made with like or similar parts. This warranty gives you specific legal rights, and you may have other rights which vary from state to state.
Notes: Specialty Blinds and Shades are warranted for one year from the date of purchase. This warranty does not apply to Commercial Orders.

INSTALLATION INSTRUCTIONS
NATURAL WOVEN SHADES
Rechargeable Simplicity

Thank you for your purchase. This shade has been custom built for you from the highest quality materials. To avoid errors and save valuable time, please read these instructions before installing your new shade.
TOOLS YOU WILL NEED

| 1, Pencil or Marker 2. Measuring Tape 3. Flat-Head Screwdriver 4, Phillios Screwdriver | 5. Carpenter’s Level 6. Power Drill 7. Mounting Fasteners 8. Paper Clip |
| Mounting Surface | Fastener |
| Drywall, Plaster Metal Wood | Wall Anchors, Expansion Bolts (Not Provided)![]() Sheet Metal Screws (Not Provided) No. 6 Hex Head Screws ; (Provided) ‘ |
GETTING STARTED
All of the required installation components are wrapped in your package along with these instructions.
NOTE: Some parts may vary depending upon your chosen mounting options, whether intermediate brackets are required or your chosen control system options.
STANDARD PARTS:
- Qutside Mount Installation Brackets………………………………………………………

- Inside/Ceiling Mount Brackets (optional)………………………………………………

- Extension Brackets (Optional)………………………………………………………………

- Spacer Blocks (Optional)………………………………………………………………………

- Hold Down Brackets (optional)……………………………………………………………..

- Screws………………………………………………………………………………………………..

- Charger (purchased separately)…………………………………………………………….

- Solar Panel (optional) — to recharge the motor………………………………………

- Remote (purchased separately) — required to operate the Shade……………..

INSTALLATION
With proper installation, operation, and care, your new shades will provide years of beauty and performance.
Please thoroughly review this instruction booklet before beginning the installation.
Mounting Types
lf the installation brackets are mounted correctly, the rest of the installation process will follow easily. To prepare for this important first step, review the mounting types and basic window terminology illustrated.
Prior to mounting the brackets, add any clearance depth required to avoid obstructions such as window cranks or handles.
Make sure mounting surface Is level. Brackets must be in line and level. Shim brackets if necessary.
The head rail must be level for the shade to operate properly.


Inside Mount:
Inside Mount Shades
![]()
Flush Mounting Depth Requirement: 3 4”
Min. Mounting Depth Requirement: 1 12”

- Hola the snade inside the window trame. Center the shade so the space between the end of the headrail and edges of the window frame are equal.
- Spaced brackets evenly. Using the instllation bracket as a template, measure to the center of the brackets and mark the hole locations with a pencil for drilling.
- Install the brackets with screws provided. Make sure brackets are level with one another.
- Remove the wing nuts from the bolts and hold the shade with the bracket bolts coming through the routed slots on each end of the headrail, reinstall the wing nuts onto the the bolts and hand tighten.

Outside Mount Shades
![]()
Min. Flat Vertical Surface: 1”

- Center the shade over the window opening at the desired height.
- Spaced brackets evenly. Using the installation bracket as a template, measure to the center of the brackets and mark the hole locations with a pencil for drilling.
- Install the brackets with screws provided. Make sure brackets are level with one another.
- Remove the wing nuts from the bolts and hold the shade with the bracket bolts coming through the routed slots on each end of the headrail, reinstall the wing nuts onto the bolts and hand tighten

CHARGING THE MOTOR BATTERY
When the shade begins to operate slower than normal, or only beeps when you attempt to operate, it is time to charge the battery.
Charge with a Charger:
- Plug the 8.4v charger into the charging port on the motor.
- Plug the charger into an electrical outlet.
- A red light on the charger indicates that the battery is charging.
- To fully charge the batteries, allow the batteries to charge for at least 1 hour after the light on the charger turns green.
- Atypical charge cycle can take between 4-6 hours.

Charge with Solar Recharge Unit:
Determine solar recharge unit placement. The solar recharge unit should be placed at the location where gets the maximum amount of sunlight per day. In most cases this can be achieved by mounting the unit directly to the glass with double sided tape.
Brackets are provided if attaching to the glass is not possible. The brackets may be mounted several different ways depending on the application (window depth, window width, etc.). Check depth clearance behind the shade before mounting.
The unit requires 19” minimum window width to mount horizontally.
Mounting Options:
Tape Method — Cut the tape to fit inside the white border as shown. Clean the ends of the solar panel where the tape will go with rubbing alcohol. When dry, remove the release liner from one side of the double sided tape and adhere them to face of the panel. Make sure to put the tape on the face (black side) of the panel.

- Clean the window surface with rubbing alcohol. When dry, remove the release liners and attach the solar panel to the glass, pressing firmly to adhere.
- Connect solar recharge unit to motor charging port
Bracket Method — If using brackets, set the bottom groove of the unit onto the bottom bracket hook. The press the top of the unit until it snaps into place. If space is limited it may be easier to attach the brackets to the solar unit before screwing the brackets in place.

- Inside Mount Bracket can be mounted behind or next to shade mounting bracket.
- Inside Mount Extended. Bottom portion of the bracket may be lowered if needed for more sun exposure,
- Bracket can be mounted behind or next to shade mounting bracket.
Note: only two of the holes are threaded. - Inside Mount with Top Reversed. The top portion of the bracket may be reversed if necessary depending on space. Bracket can be mounted behind or next to shade mounting racket.
- Qut side Mount. This method will provide the least amount of sun exposure. Bracket can be mounted next to shade mounting bracket.
- Install Solar Recharge Unit — If space is limited it may be easier to attach the brackets to the solar unit before screwing the brackets in place.
- Connect solar recharge unit to motor charging port

SHADE & REMOTE SETUP
Make sure shades are mounted securely before operating.
REMOTE CONTROL
For added protection, remote controls arrive:
- With a protective film, please remove this film prior to use.
- All shades are shipped un-linked to Remote. Install all shades prior to linking to the remote.

Upper and lower limits are set at the factory.
Please follow sections below to link the shade to the remote and set the limits (if needed) along with favorite position if desired.

Step 1: Link Remote Control to the Shade (One shade at a time)
Before linking the remote, determine which shade(s) you want on which channel. Remote has 5 channels.
Select the desired channel with the CHANNEL + or – buttons. The channel indicator light will illuminate the channel that is on.
| Single Shade: | ![]() | ||
| 1 | Press SETTING button on the motor until the shade jogs. | Release the button when shade jogs. | |
| 2 | Press and hold the CONFIRM (C) button until the shade jogs. | Shade jogs, shade is linked to that remote and channel. | |
| If all 5 lights are lit, the remote will control all 5 channels at once. All shades linked to the remote will also automatically be programmed to the “ALL” channel. | |||
Press and hold the UP or DOWN buttons for 2 or more seconds to raise or lower the shade. Shade will move to full limits after button has been pressed for more than 2 seconds.
Press the STOP button to stop the shade anywhere along the window.
Tapping the UP or DOWN buttons for less than 2 seconds will move the shade in short steps. Holding the UP or DOWN buttons for more than 2 seconds before releasing will operate the shade to programmed limits.
- If limits are set correctly, skip step 2 and continue to Step 3: Setting Favorite Position if desire to set a favorite position.
- If limits need to be reset, please follow instructions under
Step 2: Set Limits.
(Lower & Upper Limit must be set at the same time, cannot be set independently)
**Lower limit must be set before Upper limit
| Lower Limit: | |||
| 1 | Press and hold LIMIT (L) button on remote | Release this button when shade jogs. | ![]() |
| 2 | Press DOWN button | Lower the shade | |
| 3 | Press STOP when the shade is near the desired lower limit. | Shade stops | |
| 4 | Press either UP or DOWN button to adjust to final limit. | Shade moves step by step to precisely adjust lower limit. | |
| 5 | Press CONFIRM (C) on remote. | Shade jogs, this sets the lower limit. | |
| Upper Limit: | |||
| 6 | Press UP button | Shade goes up | ![]() |
| Press STOP when the shade is near the desired upper limit. | Shade stops | ||
| 8 | Press either UP or DOWN button to adjust to final limit. | Shade moves step by step to precisely adjust upper limit. | |
| 9 | Press CONFIRM (C) button until shade jogs. | Setting is completed when shade jogs. | |
**Test the shade, making sure shade stops at both lower and upper limits. If shade does not stop at desired location, repeat instructions under Step 2: Set Limits.
| Step 3: Setting Favorite Position | |||
| 1 | Use the UP or DOWN buttons to position the shade. | Stop at the desired “Favorite” position. | ![]() |
| 2 | Press and hold LIMIT (L) button, then also press UP button | Release both buttons when the shade jogs. | |
| When the shade is at either the upper or lower limit, simply press the STOP button to bring the shade to the “favorite” position, make | |||
- If no other shades to link, programming is complete.
- If there are more shades to link but on “different channel” follow all of the steps above.
- If have more shades to link to the “same channel” please UNLINK (Step 4) the programmed shades also on that channel. Follow all prior instructions for the remaining shades. Al! programmed shades on the same channel need to be unlinked first before linking a new shade and setting its’ limits.
| Step 4: Unlink Remote from the Shade | |||
| 1 | Select channel motor is on. Press and release CONFIRM (C) button on remote 3 times. | Shade jogs, shade is unlinked | ![]() |
• After settings on all shades are completed for the same channel, select the desired channel and follow instructions under Step 5: Link Remote Control to the Multiple Shades. All Limits previously set for each shade will restored.
| Step 5: Link Remote Control to Multiple | |||
| Before linking the remote, determine which shade(s) you want on which channel. Select the desired channel with the CHANNEL + or – buttons. The channel indicator light will illuminate the channel that is on. | |||
| Multiple Shades: | ![]() | ||
| 1 | Press SETTING button on the motor until the shade jogs. | Release the button when shade jogs. | |
| Repeat above step for all shades that will be controlled by the same channel. | |||
| 2 | Press and hold the CONFIRM (C) button until all the shades jog. | Shades jog, program have been done. | |
| Remote has 5 channels. If all 5 lights are lit, the remote will control all 5 channels at once. All shades linked to the remote will also automatically be programmed to the “ALL” channel. | |||
| Change Motor Rotation (Direction) (Only needed when shade is operating in opposite direction) | |||
| 1 | Press UP button | If shade goes up, do nothing. If shade goes down, please continue with following steps. | |
| 2 | Press and hold LIMIT button, then press STOP button | Release both buttons when shade jogs. | ![]() |
| 3 | Press UP button | Shade goes up, rotation direction has been corrected. | |
| Cloning additional remote | |||
| Remote A (motors are programmed to this remote) Press and hold LIMIT (L) button then also press CONFIRM (C) button | Release both buttons once shade jogs | ![]() | |
| 2 | Remote B: Press CONFIRM (C) | Shade jogs again, remote B has programmed with the shade. | |
| Delete settings from all other remotes | |||
| 1 | Remote A: Press LIMIT (L) button, then press DOWN button | Release both buttons once shade jogs. All setting in other remotes are deleted except remote A. | ![]() |
Charging time:
The motor takes approximately 4 hours to be charged when power is low. We recommend leaving the charger in for an extra hour after the indicator turn green. To protect the rechargeable batteries inside the motor, charger must be unplugged when fully charged.
REPLACING THE BATTERY IN THE REMOTE
Remove the battery tray from the remote by inserting a fingernail into the indentation on the back of the remote. To avoid the battery falling out of the remote, remove the tray while the remote is face up.
Insert the new battery (CR2430 lithium) into the battery tray so that the writing is facing up when the remote is face up. Slide the tray back into the remote.

CHILD SAFETY
![]()
TROUBLESHOOTING
| PROBLEM | SOLUTION |
| The shade does not work or runs slowly. | Recharge the motor. |
| The shade only goes in one direction. | The limit setting was unsuccessful and needs to be reset. |
| The shade raises or lowers unevenly. | Check that the installation brackets are level and aligned. Shim the brackets, if necessary. |
| Shade goes up when the down button is pushed and goes down when the up button is pushed. | Press the Limit button on the underside of the remote and Stop button at the same time. Hold until the shade jogs once. The shade should now move in the correct direction. |
| The indicator light on the remote does not light up or the remote-controlling range becomes shorter. | Replace the battery in the remote (CR2430 Lithium) |
| Indicator light on the remote is flashing. | Check on confirm or limit button behind the remote, make sure it’s not stuck under the remote housing. |
CARE
Woven Woods are made of the highest quality materials for extended wear. If it is not damaged or exposed to a great deal of direct sunlight, it is not unrealistic to expect years of enjoyment with minimal care. Raising and lowering shades periodically helps reduce most natural dust accumulation. If additional cleaning is desired, shades can be lightly brushed or carefully cleaned with a soft vacuum brush attachment. You can also use 3M scotch guard spray on shades for added stain protection.
IMPORTANT NOTE:
Woven Woods are hand crafted from a variety of quality natural bamboo, rattan, reeds, jutes and wood materials. As such, there is an inherently greater corresponding variation in color, grain, texture, cracking and warpage in the final manufactured shade. These variations are considered acceptable and are part of the unique beauty of woven woods.
DUSTING: Regular light dusting with a feather duster is all the cleaning that is needed in most circumstances.
VACUUMING: Use a hand-held vacuum with low suction for more thorough dust removal.
CAUTION: Do not immerse woven wood shades in water. Do not ultrasonically clean woven wood shades.
WARRANTY INFORMATION
Lifetime Limited Warranty covering our Custom Made Blinds
We extend this lifetime limited warranty to the original purchaser. This warranty applies only to manually operated Custom Products properly installed in the window, door or interior area for which they were intended.
Installation of the product must be in accordance with accompanying instructions. The product cannot be modified. It is the purchaser’s responsibility to maintain and clean the product in compliance with the instruction provided. The product must be used only in the window for which it was purchased. Damage to the product resulting from misuse, abuse, direct exposure to salty air or discoloration due to sunlight or the passage of time is not covered by this warranty, This warranty does not apply to conditions caused by normal wear and tear upon the product. This warranty is exclusive and in lieu of all other obligations, liabilities or warranties. In no event shall the Manufacturer be liable for incidental or consequential damages or for any other direct or indirect damage, loss, cost, expense or fee.
some states do not allow the exclusion or limitation of incidental or consequential damages, so this exclusion or limitation may not apply to you.
In the event of a defect under this warranty, we will repair or replace the product, at our option, provided it is returned to our store. Our warranty obligation excludes shipping charges and labor costs for measuring and installation. Repairs will be made with like or similar parts. This warranty gives you specific legal rights, and you may have other rights which vary from state to state.
Notes: Motorization Systems are warranted for five years from the date of purchase. Specialty Blinds and Shades are warranted for one year from the date of purchase.
This warranty does not apply to Commercial Orders.
C8-20-2020 * rev 08/18



























