GreenWorks PS80L01 Brushless Cordless

DESCRIPTION
PURPOSE
This product is a cutting implement mounted on a pole to enable the operator to cut the branches of standing trees. It is not intended for use as a regular chainsaw.
OVERVIEW
- Lock-out button
- Trigger
- Scabbard
- Pole saw handle
- Collar
- Extension pole
- Pole saw head
- Chain cover
- knob
- Oil tank cap
- Bar
- Chain
GENERAL POWER TOOL SAFETY WARNINGS
WARNING
Do not operate near electrical power lines. The unit has not been designed to provide protection from electric shock in the event of contact with overhead electric lines, Consult local regulations for safe distances from overhead electric power lines and ensure that the operating position is safe and secure before operating the saw chain pole pruner.
Read all safety warnings and all instructions. Failure to follow the warnings and instructions may result in electric shock, fire and/or serious injury
- Save all warnings and instructions for future reference.
- The term “power tool” in the warnings refers to your battery-operated (cordless) power tool.
GENERAL SAFETY RULES
- Avoid Dangerous Environment – Don’t use appliances in damp or wet locations.
- Don’t Use In Rain.
- Keep Children Away – All visitors should be kept at a distance from work area.
- Dress Properly – Do not wear loose clothing or jewelry. They can be caught in moving parts.
- Use of rubber gloves and substantial footwear is recommended when working outdoors. Wear protective hair covering to contain long hair.
- Use Safety Glasses – Always use face or dust mask if operation is dusty.
- Use Right Appliance – Do not use appliance for any job except that for which it is intended.
- Avoid Unintentional Starting – Don’t carry plugged-in appliance with finger on switch. Be sure switch is off when plugging in. Carrying the appliance with your finger on the switch or energizing appliance that have the switch on invites accidents.
- Don’t grasp the exposed cutting blades or cutting edges when picking up or holding the appliance. (For grass shears and similar appliances only.)
- Don’t Force Appliance – It will do the job better and with less likelihood of a risk of injury at the rate for which it was designed.
- Don’t Overreach – Keep proper footing and balance at all times.
- Stay Alert – Watch what you are doing. Use common sense. Do not operate appliance when you are tired.
- Disconnect Appliance – Disconnect the appliance from the power supply when not in use, before servicing, when changing accessories such as blades, and the like.
- Store Idle Appliances Indoors – When not in use, appliances should be stored indoors in dry, and high or locked-up place – out of reach of children.
- Maintain Appliance With Care – Keep cutting edge sharp and clean for best performance and to reduce the risk of injury. Follow instructions for lubricating and changing accessories. Keep handles dry, clean, and free from oil and grease.
- Check Damaged Parts – Before further use of the appliance, a guard or other part that is damaged should be carefully checked to determine that it will operate properly and perform its intended function. Check for alignment of moving parts, binding of moving parts, breakage of parts, mounting, and any other condition that may affect its operation. A guard or other part that is damaged should be properly repaired or replaced by an authorized service center unless indicated elsewhere in this manual.
- Keep all parts of the body away from the saw chain. Do not remove cut material or hold material to be cut when blades are moving. Make sure the switch is off when clearing jammed material. Saw chain continues to move after the switch is turned off. A moment of inattention while operating the pole saw may result in serious personal injury.
- Carry the pole saw by the handle with the saw chain stopped. When transporting or storing the pole saw, always fit the saw chain device cover. Proper handling of the pole saw will reduce possible personal injury from the saw chain.
- Hold the pole saw by insulated gripping surfaces only, because the saw chain may contact hidden wiring or its own cord. A saw chain contacting a
“live” wire may make exposed metal parts of the pole saw “live” and could give the operator an electric shock. - Keep cable away from cutting area. During operation the cable may be hidden in shrubs and can be accidentally cut by the saw chain.
- Do not use the pole saw in bad weather conditions, especially when there is a risk of lightning. This decreases the risk of being struck by lightning.
- To reduce the risk of electrocution, never use near any electrical power lines. Contact with or use near power lines may cause serious injury or electric shock resulting in death.
- Always use two hands when operating the pole saw. Hold the pole saw with both hands to avoid loss of control.
- Always use head protection when operating the pole saw overhead. Falling debris can result in serious personal injury.
- Prevent unintentional starting. Ensure the power switch is in the off-position before connecting to battery pack, picking up or carrying the appliance. Carrying the appliance with your finger on the power switch or energizing appliance that have the power switch on invites accidents.
- Make sure the power switch is off and the battery pack is removed before clearing jammed material, making adjustments, changing accessories, storing or servicing the appliance. Unexpected actuation of the appliance while clearing jammed material or servicing may result in serious personal injury.
- Recharge only with the charger specified by the manufacturer. A charger that is suitable for one type of battery pack may create a risk of fire when used with another battery pack.
- Use appliances only with specifically designated battery packs. Use of any other battery packs may create a risk of injury and fire.
- When battery pack is not in use, keep it away from other metal objects, like paper clips, coins, keys, nails, screws or other small metal objects, that can make a connection from one terminal to another. Shorting the battery terminals together may cause burns or a fire.
- Under abusive conditions, liquid may be ejected from the battery; avoid contact. If contact accidentally occurs, flush with water. If liquid contacts eyes, additionally seek medical help. Liquid ejected from the battery may cause irritation or burns.
- Do not use a battery pack or appliance that is damaged or modified. Damaged or modified batteries may exhibit unpredictable behavior resulting in fire, explosion or risk of injury.
- Do not expose a battery pack or appliance to fire or excessive temperature. Exposure to fire or temperature above 265°F (130°C) may cause explosion.
- Follow all charging instructions and do not charge the battery pack or appliance outside of the temperature range specified in the instructions. Charging improperly or at temperatures outside of the specified range may damage the battery and increase the risk of fire.
- Have servicing performed by a qualified repair person using only identical replacement parts. This will ensure that the safety of the product is maintained.
- Do not modify or attempt to repair the appliance or the battery pack (as applicable) except as indicated in the instructions for use and care.
- This appliance is not intended for use by
persons with reduced physical, sensory or mental capabilities or lack of experience or knowledge, unless they have been given supervision or instruction concerning use of the appliance by a person responsible for their safety. - Never allow children to operate this product.
- Never allow adults to operate this equipment without proper instruction.
- Children should be supervised to ensure that they do not play with the appliance.
CHILD SAFETY
- Tragic accidents can occur if the operator is not aware of the presence of children.
- Keep children out of the working area and under the watchful care of a responsible adult.
- Do not allow children under the age of 14 to operate this machine. Children who are 14 years of age and older must read and understand the operating instructions and safety rules in this manual and must be trained and supervised by a parent.
- Stay alert, and turn the machine off if a child or any other person enters the working area.
- Use extreme care when approaching blind corners, doorways, shrubs, trees, or other objects that may obscure your view of a child who may run into the path of the machine.
SYMBOLS ON THE PRODUCT
Some of the following symbols may be used on this product. Please study them and learn their meaning. Proper interpretation of these symbols will allow you to operate the product better and safer.
RISK LEVELS
The following signal words and meanings are intended to explain the levels of risk associated with this product.
| SYM- BOL | SIGNAL | MEANING |
![]() | DANGER | Indicates an imminently hazardous situation, which, if not avoided, will result in death or serious injury. |
![]() | WARNING | Indicates a potentially hazardous situation, which, if not avoided, could result in death or serious injury. |
| SYM- BOL | SIGNAL | MEANING |
![]() | CAUTION | Indicates a potentially hazardous situation, which, if not avoided, may result in minor or moderate injury. |
![]() | CAUTION | (Without Safety Alert Symbol) Indicates a situation that may result in property damage. |
ENVIRONMENTALLY SAFE BATTERY DISPOSAL
The toxic and corrosive materials below are in the batteries used in this machine: Lithium-ion, a toxic material.
WARNING
- Discard all toxic materials in a specified manner to prevent contamination of the environment. Before discarding damaged or worn-out Lithium-ion battery, contact your local waste disposal agency, or the local Environmental Protection Agency for information and specific instructions. Take the batteries to a local recycling and/or disposal center, certified for Lithium-ion disposal.
- If the battery pack cracks or breaks, with or without leaks, do not recharge it and do not use.
- Discard it and replace with a new battery pack. DO NOT TRY TO REPAIR.
- To prevent injury and risk of fire, explosion, or electric shock, and to avoid damage to the environment:
- Cover the terminals of the battery with heavy-duty adhesive tape.
- DO NOT try to remove or destroy any of the battery pack components.
- DO NOT try to open the battery pack.
- If a leak develops, the released electrolytes are corrosive and toxic. DO NOT get the solution in the eyes or on skin, and do not swallow it.
- DO NOT put these batteries in your regular household trash.
- DO NOT incinerate.
- DO NOT put them where they will become part of any waste landfill or municipal solid waste stream.
- Take them to a certified recycling or disposal center.
PROPOSITION 65
WARNING
- This product contains a chemical known to the state of California to cause cancer, birth defects or other reproductive harm. Some dust created by power sanding, sawing, grinding, drilling, and other construction activities contains chemicals known to cause cancer, birth defects or other reproductive harm. Some examples of these chemicals are:
- Lead from lead-based paints;
- Crystalline silica from bricks and cement and other masonry products;
- Arsenic and chromium from chemically treated lumber.
- Your risk of exposure to these chemicals varies depending on how often you do this type of work. To reduce your exposure to these chemicals, work in a well-ventilated area, and work with approved safety equipment, such as dust masks that are specially designed to filter out microscopic particles.
Save these instructions.
INSTALLATION
UNPACK THE MACHINE
WARNING
Make sure that you correctly assemble the machine before use.
WARNING
- If parts of the machine are damaged, do not use the machine.
- If you do not have all the parts, do not operate the machine.
- If parts are damaged or missing, contact the service center.
- Open the package.
- Read the documentation provided in the box.
- Remove all the unassembled parts from the box.
- Remove the machine from the box.
- Discard the box and packing material in compliance with local regulations.
ADD BAR AND CHAIN OIL
- Examine the amount of oil in the machine. If the oil level is low, add the bar and chain oil as follows.
IMPORTANT
- Use only bar and chain oil.
NOTE
- The machine comes from the factory without bar and chain oil.

- Switch off the machine.
- Remove the battery and position the machine on a level surface with the oil cap facing upwards.
- Loosen and remove the cap (9) from the oil tank.
- Put the oil (13) into the oil tank.
- Monitor the oil window (12) to make sure that no dirt gets into the oil tank while you add the oil.
- Put the oil cap on.
- Tighten the oil cap.
- The whole oil tank will last for approximately 20- 40 minutes.
IMPORTANT
Do not use dirty, used or contaminated oil. Damage can occur to the bar or chain.
ASSEMBLE THE GUIDE BAR AND THE CHAIN
- Switch off the machine and remove the battery.
- Loosen the chain cover by turning the chain cover knob (8) counterclockwise.
- Remove the chain cover (14).

- Put the chain drive links (17) into the bar groove (15).
- Put the chain cutters (16) in the direction of the chain operation.

- Ensure the chain is put on in the correct direction (do not assemble with the cutters backward).

- Put the chain in position and make sure that the loop is behind the guide bar.
- Hold the chain and bar.
- Put the chain loop around the sprocket (18).
- Make sure the chain tension pinhole (19) on the guide bar fits correctly with the bolt.

- Install the chain cover.
- Tighten the chain. Refer to Adjust the chain tension.

- Tighten the bar nut when the chain is correctly tensioned.

NOTE
If you start the chain saw with a new chain, have a test for 2-3 minutes. A new chain gets longer after the first use, examine the tension and tighten the chain if necessary.
FIT THE POLE SAW
- Mount the pole saw head on pole saw handle to achieve the standard length.
- Slide the collar upwards.
- Turn the collar clockwise to tight it.
EXTENSION OF THE POLE SAW
- Fit the extension pole between the polesaw handle and the polesaw head to achieve the maximum length.
- Slide the collars upwards.
- Turn the collars clockwise to tighten them.
WARNING
Periodically check the tightness of the connection of the collars.
USE THE SHOULDER STRAP
- Attach the carabiner to the carrying ring on the pole.
- Put on the shoulder strap.
- Adjust the length of the strap so that the carabiner is about the width of a hand below your right hip.
CUTTING PREPARATION
Before you start to cut, make sure that
- Wear heavy gloves for maximum grip and protection.
- Maintain a proper grip on the machine during operation.
- Use your right hand grip on the rear handle while your left hand grip on the pole shaft.
- Keep your body to the left of the chain line.
- Never use a left-handed (cross-handed) grip, or any stance that places your body or arm across the chain line.
- Never stand directly under the limb you are cutting.
- Periodically examine the tightness of the collars during operation.
INSTALL THE BATTERY PACK
WARNING
- If the battery pack or charger is damaged, replace the battery pack or the charger.
- Stop the machine and wait until the motor stops before you install or remove the battery pack.
- Read and understand the instructions in the battery and charger manual.
- Align the ribs on the battery pack with the grooves in the battery compartment.
- Push the battery pack into the battery compartment until the battery pack locks into place.
- When you hear a click, the battery pack is installed.
REMOVE THE BATTERY PACK
- Push and hold the battery release button.
- Remove the battery pack from the machine.
OPERATION
NOTE
Remove the battery pack and keep your hands clear of the lockout button when you move the machine.
IMPORTANT
Examine the chain tension before each use.
EXAMINE THE CHAIN OIL
NOTE
Do not use the machine without sufficient chain oil.
1. Examine the oil level of the machine from the oil indicator.
2. Add oil if necessary.
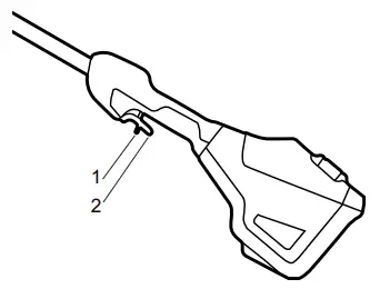
START THE MACHINE
- Install the battery pack into the machine.
- Pull the lock-out button (1) upward.
- Press the trigger (2).
STOP THE MACHINE
- Release the trigger to stop the machine.
DELIMBING A TREE
WARNING
- Make sure that there is nothing or nobody in the area where the branches fall.
- Stand opposite the branch you will cut.
- Start to cut the higher branches.
- Then cut the lower branches.
- Cut downwards to prevent the bar from jamming.
LIMB TREE BRANCHES
- Limbing is to remove the branches from a fallen tree.

- Keep the larger lower branches to hold the log off the ground.
- Remove the small limbs in one cut.
- Limb the branches with tension from the bottom to up.
- Keep the larger lower branches as a support until the log is limbed.
MAINTENANCE
CAUTION
- Do not let brake fluids, gasoline, or petroleum-based materials touch the plastic parts. Chemicals can cause damage to the plastic, and make the plastic unserviceable.
- Do not use strong solvents or detergents on the plastic housing or components.
- Remove the battery pack from the machine before maintenance.
ADJUST THE CHAIN TENSION
CAUTION
Wear protective gloves if you touch the chain, bar or areas around the chain.
- Loosen the chain cover (14) by turning the chain cover knob (8) counterclockwise

NOTE
It is not necessary to remove the chain cover to adjust the chain tension.
- Turn the chain tension screw behind the bar and chain clockwise to increase the chain tension.
- Turn the chain tension screw counterclockwise to decrease the chain tension.

- When the chain is at the wanted tension, tighten the chain cover.
SHARPEN THE CUTTERS
Sharpen the cutters if chain does not go into wood easily.
NOTE
We recommend that a service center, which has an electric sharpener, perform important sharpening work.
- Tensioning chain.
- Sharpen the corner of the cutter with a 5/32 in. (4 mm) diameter round file

- Sharpen the top plate, side plate, and depth gauge with a flat file.

- File all the cutters to the specified angles and the same length.
NOTE
During the process:
- Keep the file flat with the surface to be sharpened.
- Use the midpoint of the file bar.
- Use light but firm pressure when sharpening the surface.
- Lift the file away on each return stroke.
- Sharpen the cutters on one side and then move to the other side.
Replace the chain if:
- The length of the cutting edges is less than 1/5 in. (5 mm).
- There is too much space between the drive links and the rivets.
- The cut speed is slow.
- Sharpening the chain many times but it does not increase the cutting speed. The chain is worn.
GUIDE BAR MAINTENANCE
NOTE
Make sure that the bar is turned over periodically to keep symmetrical wear on the bar.
- Lubricate the bearings on the nose sprocket (if present) with the syringe (not included).
- Clean the bar groove with the scraping hook (not included).
- Clean the lubrication holes.
- Remove the burr from the edges and level the cutters with a flat file.
Replace the bar if:
- the groove does not fit with the height of the drive links (which must never touch the bottom).
- the inside of the guide bar is worn and makes the chain lean to one side.
TRANSPORTATION AND STORAGE
- Before you move the machine, always Remove the battery pack from the machine.
- Keep hands clear of the lock-out button.
- Put the scabbard on the guide bar and the chain.
- Before you put the machine into storage, always
- Remove all residual oil from the machine.
- Remove the battery pack from the machine.
- Clean all unwanted material from the machine.
- Make sure that the storage area is
- Not available to children.
- Away from agents which can cause corrosion, such as garden chemicals and de-icing salts.
TROUBLESHOOTING
| Problem | Possible cause | Solution |
| The machine does not start. | The poles are not assembled correctly. | Assemble the poles according to the instruc- tions. |
| 1. Push and hold the lock-out button | ||
| The lock-out button and trig- ger are not de- pressed at the same time. | 2. While you hold the lock-out button, pull the trigger. 3. Release the lock- out button to start the machine. | |
| The bar and chain gets hot and smokes. | Oil tank is emp- ty. | Fill the oil tank. |
| 1. Remove the battery pack. | ||
| The discharge port is blocked. | 2. Remove dirt from the dis- charge port. | |
|
Inlet opening of inner oil tank is blocked. | 1. Clean the oil tank. 2. Fill with clean bar and chain lubricant. | |
| The sprocket is stuck and clog- ged with debris. | 1. Clean the sprocket. 2. Fill with clean bar and chain lubricant. |
| Problem | Possible cause | Solution |
| The bar and | The chain ten- sion is too tight or too loose. | Refer to Adjust |
| chain gets too | the Chain Ten- | |
| hot and can not | sion in the man- | |
| cut. | ual. | |
| The chain is dull | Sharpen or re- place the chain. | |
| Take out the | ||
| The chain is put | chain and turn it | |
| on backwards. | in the right di- | |
| rection. | ||
| The motor runs, but the chain does not cut correctly, or the motor stops af- ter around 3 seconds. | When you use the machine un- der load, it stops. | 1. Release the trigger. 2. Start the machine again. |
| The chain is not lubricated. | Lubricate the chain to de- crease the fric- tion. |
TECHNICAL DATA
| Motor | Brushless |
| Voltage | 80V DC |
| Guide Bar Length | 10” (254 mm) |
| Chain Pitch | 1/4″ LP (6.3 mm) |
| Chain Gauge | 0.050”(1.27mm) |
| Chain Oil Capacity | 80 ml |
| Length (No Extension Pole) | 7.2 FT |
| Length (Extension Pole) | 9 FT |
| Weight (Without Battery Pack) | 9.9 lbs (4.5 kg) |
| Chain | 25AP058X/Q5058 |
| Guide Bar | 100SDAA041/ MQ501058-1041TL |
| Battery Model | 2901302/BAB726 and other BAB series |
| Charger Model | 2901402 and other CAB series |
The recommended ambient temperature range:
| Item | Temperature |
| Appliance storage tem- perature range | 32°F (0°C) – 113°F (45°C) |
| Appliance operation tem- perature range | 32°F (0°C) – 113°F (45°C) |
| Battery charging temper- ature range | 39°F (4°C) – 104°F (40°C) |
| Charger operation tem- perature range | 39°F (4°C) – 104°F (40°C) |
| Battery storage tempera- ture range | 32°F (0°C) – 113°F (45°C) |
| Battery discharging tem- perature range | 32°F (0°C) – 113°F (45°C) |
LIMITED WARRANTY
Greenworks hereby warranties this product, to the original purchaser with proof of purchase, for a period of four (4) years against defects in materials, parts or workmanship. Greenworks, at its own discretion will repair or replace any and all parts found to be defective, through normal use, free of charge to the customer. This warranty is valid only for units which have been used for personal use that have not been hired or rented for industrial/commercial use, and that have been maintained in accordance with the instructions in the owners’ manual supplied with the product from new.
ITEMS NOT COVERED BY WARRANTY:
- Any part that has become inoperative due to misuse, commercial use, abuse, neglect, accident, improper maintenance, or alteration; or
- The unit, if it has not been operated and/or maintained in accordance with the owner’s manual; or
- Normal wear;
- Routine maintenance items such as lubricants, blade sharpening;
- Normal deterioration of the exterior finish due to use or exposure.
HELPLINE:
- Warranty service is available by calling our toll-free helpline, at 1-855-345-3934.
TRANSPORTATION CHARGES:
- Transportation charges for the movement of any power equipment unit or attachment are the responsibility of the purchaser. It is the purchaser’s responsibility to pay transportation charges for any part submitted for replacement under this warranty unless such return is requested in writing by Greenworks.
USA address:
- Greenworks Tools
- P.O. Box 1238, Mooresville, NC 28115
Canadian address:
- Greenworks Tools Canada, Inc.
- P.O. Box 93095, Newmarket, Ontario, L3Y 8K3
Mexico address:
- TECNOLOGIA CAMPO Y JARDIN S.A. DE C.V. ADMINISTRADORES No. 5336 A, COL. ARCOS DE GUADALUPE, ZAPOPAN , JALISCO , C.P. 45037
EXPLODED VIEW
| No. | Part No. | Qty | Description | No. | Part No. | Qty | Description |
| 1 | R0203445-00 | 1 | Bar / Chain | 6 | RB333101726 | 1 | Wrench |
| 2 | R0203446-00 | 1 | Sprocket Cover Assem- bly | 7 | RB37902144C | 1 | Harness Assembly |
| 3 | R0203447-00 | 1 | Sprocket Kit | 8 | R0203451-00 | 1 | Intermediate Pole |
| 4 | R0203549-00 | 1 | Oil Cap Assembly | 9 | R0203450-00 | 1 | Polesaw Head Assem- bly |
| 5 | R0203449-00 | 1 | Rear Pole Assembly | 10 | RB34114155V1 | 1 | Scabbard |
- www.greenworkstools.com

- P0804141-01 Rev B


































