AJ-Enjoy AJ1193 Propane Fire Pit Column

SKU No.: AJ1193

WARNING: If the information in this manual is not followed exactly, a fire or explosion may result causing property damage,personal injury,or loss of life.
DANGER
FIRE OR EXPLOSION HAZARD
If you smell gas:
- Shut off gas to the appliance.
- Extinguish any open flame.
- If odor continues, leave the area immediately.
- After leaving the area, call your gas supplier or fire department.
- Failure to follow these instructions could result in fire or explosion, which could cause property damage, personal injury, or death.
WARNING
Do not store or use gasoline or other flammable vapors and liquids in the vicinity of this or any other appliance. An LP-cylinder not connected for use shall not be stored in the vicinity of this or any other appliance.
WARNING
For outdoor use only.
Installation and service must be performed by a qualified installer, service agency, or the gas supplier.
WARNING
Improper installation, adjustment, alteration, service or maintenance can cause injury or property damage. Refer to the owner’s information manual provided with this appliance.
For assistance or additional information consult a qualified installer, services agency or the gas supplier.
INSTALLER:
Leave this manual with the appliance.
CONSUMER:
Retain this manual for future reference.
In case of any issues do not return. E-mail us at: [email protected] with questions or warranty issues we will be back to you as quickly as possible.
SAFETY INFORMATION
Before you assemble or operate this unit, please carefully read this entire manual. Failure to do so may result in a fire, explosion, injury or death.
WARNING
- The installation of this unit must adhere to local codes or Propane Storage and Handling Code, CSA B149.2.
- THIS UNIT IS INTENDED FOR OUTDOOR USE ONLY! This product shall be used outdoors, in a ventilated space and shall not be used in any enclosed area.
- This unit is to be used with propane gas only! (sold separately)
- Do not attach a remote gas supply to this unit.
- Only use propane gas for this unit.
- Solid fuels shall not be burned in this appliance.
- LP GAS WARNING: Do not use any more than 1/4 in-depth lava rocks/pumice stones/Lava Glass above the burner holes. Doing so will suffocate the flame.
- If the propane gas tank is leaking gas, you may hear, see, or smell a hiss. Do the following:
- Disconnect the propane gas tank.
- Do not attempt to fix the problem yourself.
- Contact your gas supplier or fire department for help.
- Applying too much propane may result in gas pooling and will not burn. Allow fresh air into the unit so that the remaining gas may escape.
- Do not use a flame to check for gas leaks.
- Manifold pressure: 11 inch w.c. (2.74 kPa).
- Use LP propane tanks with the following dimensions: diameter 12 in, height 18 in – capacity 20 Ibs.
- You must use a propane tank that has a collar to protect the gas valve.
- DO NOT fill tank over 80 percent full.
- The tank system must be set up for vapor withdrawal.
- Discontinue use if any part of the propane tank is damaged. Rust and dents may be hazar dous and should be inspected by a gas supplier.
- Do not burn anything other than the approved fuel for this fire table.
- Keep away from the unit for the first 20 minutes after igniting your unit for the first time, as lava rocks/pumice stones/LavaGlass could pop out and cause injury. Should any rocks pop out, discard them.
- Always ensure that lava rocks/pumice stones/LavaGlass are completely dry before use. Failure to do so will cause them to crack or pop.
- Do not operate unit until all parts are fully assembled.
- Do not paint or color any part of this heating unit.
- Unit may be hot while in use, do not attempt to move it while in use.
- Never leave this heating unit unattended while in use.
- This unit is not intended for cooking.
- Keep any flammable items away and do not use any other fireplace cover for this unit.
- Keep a safe distance to avoid burning skin or clothing.
- Do not sit or rest hands or feet on this heating unit.
- Never place hands or fingers on upper portion of this unit while in use.
- Keep all electrical cords and fuel supply hose away from heated surfaces.
- Combustible material should not be within 60 inches of the top of the unit, or within 48 inches around the entire unit.
- Keep the appliance area clear and free from combustible material, gasoline and other flammable vapors and liquids.
- If the flame goes out while burning, turn the gas valve off. Wait 5 minutes before repeating the initial lighting procedure. Once you have a flame started, hold down the control knob for 1 minute.
- Do not add water into the unit.
- Do not operate unit if any part has been under water. Immediately call a qualified service technician to inspect the appliance and replace any part of the control system and any gas control that has been under water.
- Do not disconnect any part while unit is in use.
- Do not store a spare propane tank on or near this unit.
- If the heating unit is indoors, detach the propane tank and leave outdoors.
- Do not operate on a boat or vehicle. This unit must be used on a flat surface and outdoors ONLY.
- Always remove protective cover before operating (if applicable).
- Do not set the protective cover over the unit until it is turned off and completely cooled down.
- Check for leaks after not using the unit for long periods of time.
- Children should never operate this unit. Children must be supervised while near this unit.
- Keep gas tank at least 5 feet away from unit when lit. (if exter nal tank)
- Maximum gas supply: 250 psi; Min. gas supply: 10 psi.
- All installation and repair should be done by a qualified professional. This unit should be inspected annually and cleaned regularly.
- Inspect all elements of this heating unit before each use. If there is damage, the burner must be replaced.
- Keep the hose out from any pathways to eliminate any accidental damage. (if external tank)
- Be aware of the hazards of high temperatures and stay away from the unit to avoid any burns or injury.
- The gas supply tank should be constructed and marked with the specifications for the LP gas tanks of the U.S. Department of Transportation or the National Standard of
- Canada CAN/CSA-B339, LP gas tanks, spheres and tubes for Transportation of Dangerous Goods; and Commission.
- The LP gas tank must have a listed overfilling prevention device and a QCCI or Type l, (CGA791) LP gas tank connection.
- This heating appliance should not be used on plastic or artificial wood decks.
- Children and adults should be alerted to the hazards of high surface temperatures and should stay away to avoid burns or clothing ignition.
- Young children should be carefully supervised when they are in the area of the appliance.
- Clothing or other flammable materials should not be hung from the appliance or placed on or near the appliance.
- Any guard or other protective device removed for servicing the appliance shall be replaced prior to operating the appliance.
- Installation and repair should be done by a qualified service person. The appliance should be inspected before use and at least annually by a qualified service person. (More frequent clean’ng may be required as necessary.) It is imperative that the control compatment, burners and circulating airways of the appliance are kept clean.
IF APPLICABLE:
- Allow heating item to cool completely befor e placing on lid.
- DO NOT use heating item while lid is installed. Always remove the lid while heating item is in use.
Only use the regulator and hose assembly provided with this unit. Replacement parts must be supplied directly by TJX.
Inspect the burner before use of this unit. If the burner shows any kind of damage, do not operate the appliance.
NOTE: You must follow all steps to properly assemble this heating item. Make sure the gas valve is turned “OFF” before assembling. Do NOT attempt to assemble without proper tools.

Combustible materials should not be within 60 inches of the top of the unit, or within 48 inches around the entire unit.
When you turn the cylinder, the gas hose needs to be straightened during use. Otherwise the hose may melt and cause a fire.

PARTS LIST

| Item | Description | Qty |
| A | Cover lid | 1 |
| B | Tabletop with assembled fire system | 1 |
| C | Panel C | 1 |
| D | Panel D | 1 |
| E | Panel E | |
| F | Panel F | 1 |
| G | Metal cross tube | 1 |
| H | Metal stand | 1 |
| I | Glass rocks | 1box |
| J | Rain cover | 1 |
| K | Glass wind shield |
Hardware

| Item | Description | Qty |
| AA | Screw(M6*35MM) | 8 |
| BB | Screw(M630MM) | 10 |
| CC | Screw(M6*12MM) | 4 |
| DD | Washer | 14 |
| EE | Adjustable pad | 4 |
| FF | Hexagon wrench | 1 |
| GG | Nut | 4 |

| ITEM | SPECIFICATION | QTY | ITEM | SPECIFICATION | QTY |
| 1 | Fire table | 1 PC | 9 | Reducing Nipple | 1 PC |
| 2 | Guard | 1 PC | 10 | Control Knob | 1 PC |
| 3 | Thermocouple | 1 PC | 11 | lgnitor | 1 PC |
| 4 | Ignition Pin | 1 PC | 12 | Groundwire | 1 PC |
| 5 | Corrugated Pipe | 1 PC | 13 | Battery( AA) | 1 PC |
| 6 | Gas valve | 1 PC | 14 | Fire bowl | 1 PC |
| 7 | Burner | 1 PC | |||
| 8 | Regulator with hose | 1 PC |
ASSEMBLY INSTRUCTION
Do not lock the screws until the assembly is complete.
- Check the control knob for the main burner is turned to the OFF position before starting your assembly.

- Attach panel(E), panel(D) and panel(C) together by using 4pcs M6 x 35 screws(AA) and 4pcs washers(DD) to form the base assembly.

- Attach 2pcs adjustable pads(EE) to the metal stand(H) by using 4pcs M6 x 30 screws(BB) and 4pcs nuts(GG).

- Attach the metal cross tube to the tabletop by using 2pcs M6 x 30 screws(BB) and 2pcs washers(DD).

- Attach the assembled base to the tabletop(B) by using 4pcs M6 x 35 screws(AA) and 4pcs washers(DD).

- Attach the assembled metal stand to the assembled base by using 4pcs M6 x 12 screws(CC) and 4pcs washers(DD), Attach 2pcs adjustable pads(EE) to the base by using 4pcs M6 x 30 screws(BB).
WARNING
Mind your head when you are fastening the screws inside at the end.
- Turn the cylinder valve on the tank clockwise to close the propane tank. Put the gas tank into the fire table in place, Attach the preassembled regulator to the cylinder valve by turning the regulator coupling nut clockwise, then attach the door panel(F) in place.
!!! Make sure it is fastened securely and tighten connections by hand only.
- Pour the box of clear glass rocks into the fire bowl, then spread the blue glass beads evenly.

WARNING
Do Not Cover the Ignition Screen when placing the rocks into the fire bowl. Always keep the ignition screen visible.
WARNING
This heating item should not be used on plastic composite or artificial wood. - Put the cover lid(A) in place.

Assembling the glass
Unscrew all preassembled screws on the glass clamps, Then, assemble one glass panel to the other panel. Then, assemble the two glass panel pleces together with the final glass clamps as show below.

Inserting the glass wind guard
Insert the glass assembly made in step 1 into the ridge on the top of the fire table mantel.

DANGER

- HOT GLASS WILL CAUSE BURNS.
- DO NOT TOUCH THE GLASS UNTIL COOLED.
- NEVER ALLOW CHILDREN TO TOUCH GLASS.
LIGHTING
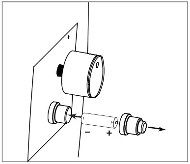
Assembling the battery
Remove the rubber cap on the electronic igniter by unscrewing and sliding the battery into the battery slot. Make sure the positive side of the battery faces outwards. Screw the
electronic igniter cap over the battery tightly.

To Light
- Make sure the control knob is in the “OFF” position.
- Slowly open the valve on the propane gas tank by turning the knob counterclockwise.
- Push and hold in the electronic ignitor to create sparks within the electrode, and continue to hold.
- Push in the control knob and turn to the “HIGH” position. Keep holding down the control knob to allow gas to flow for 15 seconds.
- If ignition doesn’t occur within a few seconds release the control knob and rotate to the “OFF” position. Wait for 5 minutes for the gas to clear and then repeat the above lighting instructions.
- Once the fire is lit, the flame intensity may be controlled by turning the control knob between the “LOW” and “HIGH” positions.

OPERATION
To Extinguish
- Turn the control knob clockwise to the “HIGH” position; let the knob pop up and continue turning the control knob to the “OFF” position.
- Close the cylinder valve on the propane gas tank if you don’t intend to use it for a long time.
MAINTENANCE
Before performing any maintenance always disconnect the propane gas tank.
- Store your product indoors during winter months. Avoiding extreme cold temperatures will prevent exposure damage.
- Keep the heating item free and clear from combustible materials.
- Visually inspect the burner for obstructions and keep tank enclosure free and clear from debris.
- Use a soft brush to get rid of the mild stains, loose dirt and soil after the burner and pumice stones/lava rocks/Lava Glass are completely cooled down. Wipe down with a soft cloth.
- Harsh weather conditions may cause stubborn stains, discoloration and possibly rust pitting.
- Permanent damage may occur if powder or solvent comes in contact with painted or plastic components on this heating unit.
- Keep the heating unit stored away from direct sunlight.
- If storing this unit inside, disconnect the propane gas tank from the gas valve.
- Not using manufacturer-approved or supplied parts/accessories may result in a defective condition and void the warranty of this heating unit.
- If desired, cover fire pit to protect exterior surfaces and to help prevent build-up in air passages.
Note: Wait until fire pit is cool before covering it.
TROUBLESHOOTING
Problem: Burner will not light using an igniter.
Possible Cause 1: Electrode and burners are wet.
Wipe dry with a cloth.
Possible Cause 2: igniter battery is dead or backward.
Check that the AA battery is inserted correctly in the igniter or replace the battery.
Make sure the plastic wrap on the battery has been removed.
Possible Cause 3: Igniter Pin cracked or broken sparks a crack.
Please contact us to request the parts.
Possible Cause 3: igniter Pin cracked or broken – sparks a crack.
Please contact us to request the parts.
Possible Cause 4: Residue on igniter Pin.
Check for residue on the igniter pin or Thermocouple. If dirty, thoroughly clean the area.
Problem: Burner will not light with match
Possible Cause 1: No Gas Flow
Check if the LP gas tank is empty. If empty, replace and refill. If the propane tank is not empty, refer to Problem: Sudden drop in gas flow on the following page.
Possible Cause 2: Coupling nut and regulator not fully connected.
Turn the coupling nut about one half to three fourths a turn, until you feel a solid stop. Do not use tools, tighten by hand only.
Possible Cause 3: Obstruction of gas flow.
Check for bent or kinked hose.
Possible Cause 4: Spider webs or insect nest in the venturi.
Clean the venturi.
Possible Cause 5: Burner ports clogged or blocked.
Reference Problem: Irregular flame pattern on the following page. Clean the burner ports as described there.
Problem: The fire table emits a lot of black smoke when in use
Possible Cause 1: The hose from gas fire table is pinched.
Make sure the hose is not pinched between the fire table and the source of the gas.
Possible Cause 2: Flame is being obstructed at burner ports
Make sure that the gas ports on the burner are free of any lava rocks/fire glass So that the flame can flow naturally.
Clear out the mixing chamber located before the Venturi.
Possible Cause 3: The mixing chamber of the burn tube is blocked or obstructed.
Problem: Sudden drop in gas flow, or a reduced flame height
Possible Cause 1: Out of Gas.
Check for gas in the LP gas tank.
Possible Cause 2: Excess flow safety device may have been activated.
Turn the control knob to OFF, wait 30 seconds and light the outdoor fire table. if flames are still too low, reset the excessive flow safety device by turning off the control knob and LP gas tank valve. Disconnect regulator. Turn burner control knob to HIGH. Wait at least 5 minutes. Turn the burner control knob off. Reconnect the regulator and perform a leak check at the tank connection. Turn LP gas tank valve on slowly, wait 30 seconds and then light the outdoor fire table.
Problem: Irregular flame pattern, flame does not run the full length of the burner
Possible Cause: Burner ports are clogged or blocked.
Clean burner ports. Do this by inserting a paperclip into each of the burner ports to ensure they are not clogged.
WARNING: Make sure burner is not on, and has had sufficient time to cool before touching it.
Problem: Flame blow out
Possible Cause 1: High or gusting winds.
Increase the flame to HlGH setting.
Possible Cause 2: Low on LP gas
Replace or refill LP gas tank.
Possible Cause 3: Excess flow valve tripped.
Refer to Problem: Sudden drop in gas flow
Problem: Flame seems to lose heat when burning in cold weather – temperature below 50°F
Possible Cause 1: Ice has built up on the outside of the LP gas tank because the vaporization process is too low.
Turn the control knob and the LP gas tank to OFF. Replace with a spare LP gas tank and resume burning. Store the spare LP gas tank in a well ventilated area, away from children.
If these troubleshooting steps are unable to resolve the problem. PLS contact customer service for technical support.
















