Enjoy AJ1189 Fire Pit Table

Product Information Fire Pit Table
The Fire Pit Table is a propane gas-powered outdoor appliance that provides warmth and ambiance to your outdoor living space. It should only be used outdoors and not in enclosed or unventilated areas to avoid the risk of carbon monoxide poisoning. It comes with a regulator and hose assembly for easy connection to a propane gas tank (sold separately).
Warnings:
- DANGER – Carbon Monoxide Hazard: The appliance can produce carbon monoxide which has no odor. Using it in an enclosed space can be fatal.
- IF YOU SMELL GAS: Shut off gas to the appliance and call your gas supplier or fire department for help.
- Do not store or use gasoline or other flammable vapors and liquids in the vicinity of this or any other appliance.
- If the propane gas tank is leaking gas, do not attempt to fix the problem by yourself. Contact your gas supplier or fire department for help.
- Improper installation, adjustment, alteration, service, or maintenance can cause injury or property damage. Read the owner’s manual thoroughly before installing or servicing this equipment
- The installation of this unit must adhere to local codes or either the National Fuel Gas Code, ANSI Z223.1/NFPA54, OR CAN/CGA-B149.1, National Gas and Propane Installation Code.
- Do not use any solid fuel or charcoal for this unit.
- Do not add water into the unit or operate it on a boat or vehicle.
- Inspect all elements of the Fire Table/Column before each use. The LP Gas tank must have a listed overfilling prevention device and a QCCI or Type I, LP Gas tank connection.
- The heating appliance should not be used on plastic, artificial wood desks, or any desk.
CARBON MONOXIDE HAZARD - This appliance can produce carbon monoxide which has no odor. Using it in an enclosed space can kill you.
- For outdoor use only.
- Never use in the unventilated or enclosed areas.
IF YOU SMELL GAS: - Shut off gas to the appliance.
- Extinguish any open flame.
- If odor continues, keep away from the appliance and immediately call your gas supplier or fire department for help.
- WARNING indicates an imminently hazardous situation which, if not avoided, will result in death or serious injury.
- Do not store or use gasoline or other flammable vapors and liquids in the vicinity of this or any other appliance. An LPcylinder not connected for use shall not be stored in the vicinity of this or any other appliance.
- the propane gas tank is leaking gas, you may hear, see, or smell a hiss. Do the following:
- Disconnect the propane gas tank.
- Do not attempt to fix the problem by yourself.
- Contact your gas supplier or fire department for help.
- Do not use a flame to check for gas leaks.
- Keep gas tank at least 5 ft away from unit when lit. (if external tank)
- The maximum gas supply pressure is 250psi.
- Improper installation, adjustment, alteration, service or maintenance can cause injury or property damage.
- Read the owners manual thoroughly before installing or servicing this equipment. If the information in this manual is not followed exactly, a fire or explosion may result causing property damage, personal injury, or loss of life.
- The installation of this unit must adhere to local codes or either the National Fuel Gas Code, ANSI Z223. 1/NFPA54, OR CAN/CGA- B149.1, National Gas and Propane Installation Code.
- This unit is to be used with propane gas only! (sold separately), is not intended for natural gas.
- Do not use any solid fuel or charcoal for this unit.
- Do not use any more than 1/4in depth lava rocks/ pumice stones/ Lava Glass above the burner holes. Doing so will suffocate the flame.
- Applying too much propane may result in gas pooling and will not burn. Allow fresh air into the unit so that the remaining gas may escape.
- Use LP propane tanks with the following dimensions: diameter 12inch, height 18inch, capacity 20lbs.
- You must use a propane tank that has a collar to protect the gas valve.
- DO NOT fill tank over 80 Percent full.
- The LP gas tank must have a listed overfilling prevention device and a QCCI or Type I, (CGA810) LP gas tank connection.
- The gas supply tank should be constructed and marked with the specifications for the LP gas tanks of the U.S. Department of Transportation or the National Standard of Canada CAN/CSA-B339, LP gas tanks, spheres and tubes for Transportation of Dangerous Goods and Commission.
- Discontinue use if any part of the propane tank is damaged. Rust and dents may be hazardous and should be inspected by a gas supplier.
- DO NOT add water into the unit.
- DO NOT disconnect any part while the unit is in use.
- DO NOT operate on a boat or vehicle.
- DO NOT set the Protective Cover over the unit until the Fire Table
- Check for leaks after not using the unit for long periods of time.
- All installation and repair should be done by a Qualified Service
Technician. This unit should be inspected annually and cleaned regularly. - Inspect all elements of this Fire Table / Column before each use. If there is damage, the Burner must be replaced.
- The LP Gas tank must have a listed overfilling prevention device and a QCCI or Type I, LP Gas tank connection.
- Use only the Regulator (19) and Hose (12) assembly provided with this unit.
- If the Burner (06) shows any kind of damage, DO NOT operate the appliance.
- This heating appliance should NOT be used on plastic, artificial wood desks or any desk.
- Do not operate unit until all parts are fully assembled.
- Do not attempt to move it while in use.
- This unit is not intended for cooking.
- Young children should be carefully supervised when they are in the area of the appliance.
- Keep away from the unit for the first 20 minutes after igniting for the first time, as lava rock /pumice stones could pop out and cause injury.
- Do not set the protective cover over the unit until it is turned off and completely cooled down.
- Combustible material should not be within 72 inches of the top of the unit, or within 48 inches around the entire unit.
- If the flame goes out while burning, turn the gas valve off. Wait 5 minutes before repeating the initial lighting procedure. Once you have a flame started, hold down the control knob for 1 minute.
- Inspect all elements of this heating unit before each use. If there is damage, the burner must be replaced.
- Keep the hose out from any pathways to eliminate any accidental damage. (if external tank)
- Installation and repair should be done by a qualified service person. The appliance should be inspected before use and at least annually by a qualified service person. More frequent cleaning may be required as necessary.
- You must follow all steps to properly assemble this heating item. Make sure the gas valve is turned “OFF” before assembling. Do NOT attempt to assemble without proper tools.
Product Usage Instructions
- Choose a safe location for the Fire Pit Table outdoors, away from any flammable materials or structures.
- Connect the regulator and hose assembly provided with the unit to a propane gas tank (sold separately) following the instructions in the owner’s manual.
- Open the valve on the propane gas tank slowly.
- Press and turn the ignition knob until the burner ignites. Adjust the flame to the desired height using the control knob.
- Enjoy the warmth and ambiance of the Fire Pit Table while observing all safety precautions and warnings.
- Turn off the appliance and allow it to cool down completely before covering it with the protective cover (where applicable).
- Inspect all elements of the Fire Table/Column before each use. If there is any damage, replace the burner.
- After long periods of non-use, check for gas leaks before using the unit again.
- Annually inspect and clean the Fire Pit Table, and have all repairs done by a qualified service technician.
Parts Diagram

Tabulated here below are the description to all parts as shown in above Picture .




Hardware

Assembly Instructions
- Attach panel (F) and (D) to the table top (G) by using 4pcs of Bolts (S003) and 4pcs M6 washer (WO02) with Hex Bolt Driver (TO01). Please do not fully tighten.

- Attach panel (C) 2pcs with Panel (D) and Panel (F) together by using 8pcs Bolts (S003) and 8pcs M6 washer(W002) with Hex Bolt Driver T(001). Please do not fully tighten.

- Attach adjust foot (H) to the bottom of fire pit using 8pcs of Bolts (S001) with Hex Bolt Driver (T001). And tighten the Bolts.

- Put the metal lid on the table top of fire pit. Then tighten all the bolts.

- Check that the Contro Knob for the gas supply system is turned to the “OFF” position before starting any assembly.
- Place a 20 lb Propane Gas Tank (not included) into a secure position.

- Turn the Cylinder Valve on the tank in a clockwise direction to TURN OFF SUPPLEY of the LP Gas supply-Attach the preassembled Regulator (19) from the Fire Table to the Cylinder Valve (21) by turning the Black Regulator Coupling Nut clockwise. Make sure it is fastened securely and tighten connections-by HAND only.

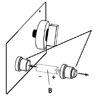
- Remove the Electronic Igniter Cap on the Eectronic Igniter by unsecrewing and slide the Battery (B) into the battery slot. Make sure the positive side of the Battery faces outwards. Screw the Electronic Igniter Cap over the battery, tightly.

- Put Glass Rocks over the Burner Ring.
Warning: DO NOT PLACE GLASS ROCKS ON THE GUARD. KEEP GUARD CLEAN. To ensure proper function, the Guard (01) on the Burner (06) should never have glass rocks (05) covered over it.
SAFETY INFORMATION
Only use the regulator and hose assembly provided with this unit. Replacement parts must be supplied directly by us. Inspect the burner before use of this unit. If the burner shows any kind of damage, do not operate the appliance.
NOTE: You must follow all steps to properly assemble this heating item. Make sure the gas valve is turned “OFF” before assembling. Do NOT attempt to assemble without proper tools.

The gas tank should be placed outside the fire pit table
Operation
FOR YOUR SAFETY, READ BEFORE LIGHTING
- Before performing a leak test, make sure that no sparks can occur and you are in a spacious outdoor area.
- Connect the propane gas tank to the regulator and turn the valve on the unit to the “off” position.
- Brush a soap and water mixture on all connections.
- Make sure the igniter battery has been installed properly. The igniter will not operate otherwise.
- Before operating, smell around the appliance and next to the ground for gas odors. If you smell gas or a leak is discovered turn the gas valve off, disconnect propane gas tank and do not use the appliance until the leak is repaired.
- The Fire Table has a Door. Open the door and inspect the Gas Hose before use the Fire Table.
- If there are signs of wear or abrasion on the hose, you must replace the Gas Hose. And the Gas Hose must be supplied directly by manufacturer.
- Stand away from the Fire Table / Column for the initial 20 minutes after igniting.
- Lava rocks / pumice stones could pop up and strike somebody’s face during the process of lighting this unit.
- Pumice stones/lava rocks/Lava Glass could pop up and strike somebody’s face during the process of lighting this unit; Wait 10 minutes after extinguishing flame prior to replacing a lid (if applicable) or protective cover onto the Fire Table.
To Light
- Make sure the control knob is in the “OFF” position.
- Slowly open the valve on the propane gas tank by turning the knob counterclockwise.
- Push and hold in the electronic ignitor to create sparks within the electrode, continue to hold.
- Push in the control knob and turn to the “HIGH” position. Keep holding down the control knob to allow gas to fow for 10-15 seconds.
- If ignition doesn’t occur within a few seconds release the control knob and rotate to the “OFF” position. Wait for 5 minutes for gas to clear and then repeat the above lighting instructions.
- Once the fire is lit, the flame intensity may be controlled by turning the control knob between the “LOW” and “HIGH” positions.

To Extinguish
- Close the cylinder valve on the propane gas tank if you don’t intend to use it for a long time.
- Turn control knob clockwise to the “HIGH” position; let the knob pop up and continue turning the control knob to the “OFF” position.
Maintenance & Storage
To enjoy years of outstanding performance from your heater, make sure you perform the following maintenance activities on a regular basis:
- Before performing any maintenance always disconnect propane gas tank.
- Use warm soapy water for cleaning. Never use flammable or corrosive cleaning agents.
- Keep the heating item free and clear from combustible materials.
- Visually inspect burner for obstructions and keep tank enclosure free and clear from debris.
- Use a soft brush to get rid of the mild stains, loose dirt and soil after the burner and pumice stones/lava rocks/Lava Glass completely cooled down. Wipe down with a soft cloth.
- Harsh weather conditions may cause stubborn stains, discoloration and possibly rust pitting.
- Permanent damage may occur if powder or solvent comes in contact with painted or plastic components on this heating unit.
- Keep the heating unit stored away from direct sunlight.
- If storing this unit inside, disconnect the propane gas tank from the gas valve.
- Not using manufacturer approved or supplied parts/accessories may result in a defective condition and void the warranty of this heating unit.
- Always place lid ( if applicable) or protective cover on heating item when not in use. Turn control knob OFF.
NOTE: In a salt-air environment (such as near to ocean), corrosion occurs more quickly than normal. Frequently check for corroded areas and repair them promptly.
Trouble Shooting
| PROBLEM | CAUSE | SOLUTION |
|
Burner will not light using igniter | Electrode and burners are wet | Wipe dry with cloth. |
| Igniter battery is dead or backwards | Check that the battery is inserted correctly in the igniter or replace the battery. Make sure the plastic wrap on the battery has been removed. | |
| Igniter Pin cracked or broken – sparks a crack | Please contact Living source to request the parts. | |
|
Residue on Igniter Pin | Check for residue on the igniter pin or Thermocouple. If dirty,thoroughly clean the area. Check that the electronic Ignitor Cap is tightly fitted to the spring.If loose,please adjust the spring accordingly. | |
|
Burner will not light with match | No Gas Flow | Check if the LP gas tank is empty. If empty, replace and refill. If the propane tank is not empty, refer to Problem: Sudden drop in gas flow on the following page. |
| Coupling nut and regulator not fully connected | Turn the coupling nut about one half to three fourths a turn, until you feel a solid stop. Do not use tools, tighten by hand only. | |
| Obstruction of gas flow | Check for bent or kinked hose. | |
| Spider webs or insect nest in the venturi | Clean the venturi. | |
| Burner ports clogged or blocked | Reference Problem: Irregular flame pattern on the following page. Clean the burner ports as described there. | |
|
The fire table emits a lot of black smoke when in use | Hose from gas fire table is pinched | Make sure the hose is not pinched between the fire table and the source of the gas. |
| Flame is being obstructed at burner ports or mixing chamber of the burn tube is blocked or obstructed | Make sure that the gas ports on the burner are free of any lava rocks/fire glass so that the flame can flow naturally.Clear out the mixing chamber located before the Venturi. | |
|
Sudden drop in gas flow, or a reduced flame height | Out of Gas | Check for gas in the LP gas tank. |
|
Excess flow safety device may have been activated | Turn control knob to OFF, wait 30 seconds and light outdoor fire table.if flames are still too low, reset the excessive flow safety device by turning off the control knob and LP gas tank valve. Disconnect regulator. Turn burner control knob to HIGH. Wait at least 5 minutes. Turn burner control knob off. Reconnect regulator and perform a leak check at tank connection. Turn LP gas tank valve on slowly, wait 30 seconds and then light outdoor fire table. | |
|
Irregular flame pattern, flame does not run the full length of the burner |
Burner ports are clogged or blocked | Clean burner ports.Do this by inserting a paperclip into each of the burner ports to ensure they are not clogged. WARNING: Make sure burner is not on, and has had sufficient time to cool before touching it. |
| Flame blow out | High or gusting winds | Increase flame to HIGH setting. |
| Low on LP gas | Replace or refill LP gas tank. | |
| Excess flow valve tripped | Refer to Problem: Sudden drop in gas flow. | |
| Flame seems to lose heat when burning in cold weather – temperature below 50°F | Ice has built up on the outside of the LP gas tank because the vaporization process is too low | Turn the control knob and the LP gas tank to OFF. Replace with a spare LP gas tank and resume burning. Store the spare LP gas tank in a well ventilated area, away from children. |
Problem: Burner JUST LIGHT UP FOR SECOND AND WILL AUTOMATICALLY TURN OFF

- The thermocouple will be under the Pilot Guard on the top of the unit. Please remove the Pilot guard by unscrewing it from the metal bowl with a screw driver.
- Once the Pilot Guard has been removed, you will have two components exposed; the copper one is your thermocouple. Please unscrew the nut holding the thermocouple in place.
- Inside the unit, you will notice that the end of the thermocouple line is directly screwed to the gas valve. Please unscrew the thermocouple from the back end of the gas valve. Do not take off the valve’s silver backing, only unscrew the small nut as shown above.
- Screw the end of the thermocouple to the back end of the gas valve with the silver backing.
Once this has been done, please test the unit. You may have to reset the gas valve once again as the safety mechanism may have been set off by the new components introduced:
Resetting Your Gas Valve
Completely detach the propane tank from the table. Do not forget to turn the propane tank valve down. Turn the heat knob to high and leave it on that setting for about two to three minutes. Once you have done this, please turn the knob back to off. Hook up the propane tank and turn the propane tank’s valve a quarter of a turn at a time.
NOTE: When reattaching the propane tank, please turn the valve to release the gas back in to the unit VERY SLOWLY. We want the unit to register gas coming through but not too much at once, this will flood the unit and you will have to start all over! This is so that the gas valve can register the gas coming through a little at a time. Once you have turned the gas on all the way please go ahead and try to light the table again. This should reset your fire table’s safety mechanism
Enjoy AJ1189 Fire Pit Table
























