JBC WSST Series WSST-A Stand for WS140 Instruction Manual
This manual corresponds to the following reference:
Packing List
The following items are included:
- Stand for WS140: 1 unit

- Stand Cable (1 meter length): 1 unit

- Manual : 1 unit

Features and Connections

Features and Assembly
Cable Collector

Changing Cartridges
- Removing
Loosen the screws and remove the cartridges.
- Inserting
Insert the cartridge until the reference ring touch against the wire stripper. Take the ring as reference and check that both tips match.
Important: It is esential to insert the cartridge till the end for a good connection.
- Positioning
Align the tip edges and fi x the cartridges in its working position.
- Fixing
Tightening the screw.
Important: It is essential to tighten the screws for the tool to function.
Operation
Depending on where the tool is located, the soldering station switches between three different statuses: Work, Sleep and Hibernation.
- Work
When the wire stripper is lifted from the stand, the cartridges will heat up according to the selected configuration.

- Sleep
When the wire stripper is in the stand, the power falls after a specified time.

- Hibernation
After longer periods of inactivity, the power is cut off and the cartridges cool down to room temperature.

Troubleshooting
Station troubleshooting available on the product page at www.jbctools.com
Cartridge Range
WS140-A is compatible with W140 Blade Cartridge Range. Find the model that best suits your soldering needs on www.jbctools.com.
| Cartridge Ref. | Tip Hole ø mm / in | AWG Solid | AWG Stranded | ![]() |
| W14040G | 40 | x | ||
| W14038G | 38 | x | ||
| W14037G | 37 | x | ||
| W14036G | 36 | x | ||
| W14034G | 34 | 36 (7×44) | ||
| W14032G | 32 | 34 (7×42) | ||
| W14030G | 30 | 32 (19×44) | ||
| W14028G | 0,32 / 0,0126 | 28 | 30 (7×38) | |
| 30 (19×42) | ||||
| W14026G | 0,40 / 0,0157 | 26 | 28 (19×40) | |
| 27 (7×35) | ||||
| W14024G | 0,51 / 0,0201 | 24 | 26 (19×38) | |
| 26 (10×36) |
| Cartridge Ref. | Tip Hole ø mm / in | AWG Solid | AWG Stranded | ![]() |
| W14022G | 0,64 / 0,0252 | 22 | 24 (19×36) | |
| 24 (7×32) | ||||
| W14020G | 0,81 / 0,0319 | 20 | 22 (19×34) | |
| W14018G | 1,02 / 0,0402 | 18 | 20 (42×36) | |
| 20 (19×32) | ||||
| 20 (7×28) |
| Cartridge Ref. | Tip mm / in | ![]() |
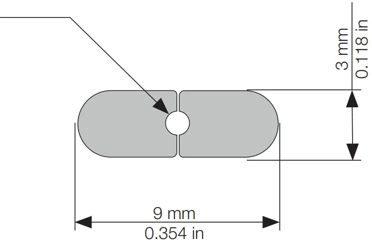
| W14003F | Flat Tip 3 / 0.118 |
| Cartridge Ref. | Tip Hole ø mm / in | AWG Solid | AWG Stranded | ![]() |
| W14016G | 1,29 / 0,0508 | 16 | 18 (19×30) | |
| W14014G | 1,63 / 0,0642 | 14 | 16 (7×24) |
| Cartridge Ref. | Tip mm / in |
|
| W14005F | Flat Tip 5 / 0.197 |
If an application requires a special tip design, contact JBC by mail [email protected] for special blade cartridges.
Accessories

Maintenance
Before carrying out maintenance or storage, always unplug the stand from the station and the tool.

- Use a damp cloth to clean the stand.
Alcohol can be used only when cleaning the metal parts. - Check periodically that the metal parts of the tool/stand are clean so that the station can check the tool’s status.
- Periodically check all cables and tube connections.
- Replace any defective or damaged parts.
Use original JBC spare parts only. - Repairs should only be performed by a JBC authorized technical service.
Safety
It is imperative to follow safety guidelines to prevent electric shock, injury, fire or explosion.
Warning
- Do not touch the blade or the metal parts around.
- Do not allow the blade be close to flammable materials.
- Keep your workplace clean and tidy. Wear appropriate protection glasses and gloves when working to avoid personal harm.
- This appliance can be used by children over the age of eight and also persons with reduced physical, sensory or mental capabilities or lack of experience provided that they have been given adequate supervision or instruction concerning use of the appliance and understand the hazards involved.
- Maintenance must not be carried out by children unless supervised.
- Place the tool on the stand when is not in use.
- Turn off the power when not in use, changing parts or storing.
Caution
- Do not use the Wire Stripper for other applications than wire stripping.
- Do not modify or customize the Wire Stripper.
- Do not hit the blade against workbench to eliminate stripped insulation debris. This behavior would damage the blade.
- Remove power from the tool by holding the plug, not the wires.
- Be careful with the fumes produced when stripping. We recomend to use our fume extractor.
Specifications
WSST
Stand for WS140
Ref.: WSST-A
- Total Net Weight : 1.30 kg / 2.97 lb
- Package Dimensions/Weight : 342 x 155 x 120 mm / 1.64 kg
(L x W x H) 13.46 x 6.10 x 4.72 in / 3.61 lb
Complies with CE standards
ESD Safe
Warranty
JBC’s 2 year warranty covers this equipment against all manufacturing defects, including the replacement of defective parts and labour.
Warranty does not cover product wear or misuse.
In order for the warranty to be valid, equipment must be returned, postage paid, to the dealer where it was purchased.
This product should not be thrown in the garbage.
In accordance with the European directive 2012/19/EU, electronic equipment at the end of its life must be collected and returned to an authorized recycling facility




































