FULGOR MILANO FBGHD 850 TC X Built-In Hood

Product Information
The FBGHD 850 TC X is a built-in hood designed for use in a kitchen to help remove smoke, steam, and odors while cooking. The hood has a touch control panel with various functions, including ON/OFF lights, motor speed reduction or OFF, motor speed indicator, ON motor, and speed increase. The hood also has a timer function that runs for 10 minutes. The installation requires an opening in the bottom of the cabinet of 265mmX835mm dimensions. The hood has a flange for connecting an appropriate tube for air extraction or filtration. The maximum length of the air extraction tube should be no more than 5 meters with a constant diameter of 150mm throughout its length.
Product Usage Instructions
- Before starting the installation process, ensure that all components are undamaged.
- Make an opening of the specified dimensions in the bottom of the cabinet, and ensure that the valve of the motor’s air outlet tube is free to rotate.
- Connect the hood’s flange to an appropriate tube and connect it to the air extraction or filtration system.
- Ensure that the electrical connection is adequately grounded and the voltage values match those listed on the appliance’s label.
- Test the product for any anomalies before using it. If any issues arise, disconnect it from the electrical network.
- Regularly clean the grease filters and remove any grease deposits on the appliance to prevent potential fire hazards.
- Use suitable materials and approved ductwork when installing the product.
- Ensure that the maximum length of the air extraction duct does not exceed 5 meters and has a constant diameter of 150mm throughout its length to maintain its efficiency.
- Use the touch control panel to select the desired function, such as turning the lights on or off, reducing or increasing the motor’s speed, and setting a timer for 10 minutes.
- Perform regular maintenance on the product to ensure its proper functioning and long-term performance. Pay special attention to the grease panel.
WARNINGS
- This appliance cannot be used by people (included children) with impaired physical, sensory or mental abilities or with lack of experience and know- ledge, unless they are super- vised or unless they are given instructions about the use of the appliance by a person responsible of their safety.
- The room must be adequately ventilated if the hood and other appliances powered by energy other than electricity are used at the same time.
- This prevents the hood from sucking in any combustion fumes.
- It is forbidden to cook food over open flames, as sucked flames are a risk of damage for the appliance.
- WARNING: This appliance and
its accessible parts are likely
to become very hot if used in
combination with cooking de- vices. - In case of installation with gas hobs the cooker surface and the inferior part of the cooker hood must be at a minimun distance of 65 cm.
- To evacuate the air outlet, please comply with the pertaining rules given by competent authorities.
- When performing the electrical connections on the appliance, please make sure that the current-tap is provided with ground connection and that voltage values correspond to those indicated on the label placed inside the appliance itself.
- Before carrying out any cleaning or maintaining operations, the appliance needs to be removed from the electric grid. If the appliance is not provided with a non-separable flexible cable and plug, or with another device ensuring omnipolar disconnections from the grid, with an opening distance between the contacts of at least 3 mm, then such disconnecting devices must be sup- plied within the fixed installation.
- If the fixed appliance is endowed with a supply cord and a plug, the appliance has to be put in a place where the plug can be reached easily.
- In order to avoid possible fire risk, all instructions for grease filter cleaning and for removing eventual grease deposits should be strictly followed.
- Before carrying out the installation of the appliance, please check that all components are not damaged. In such a case, make contact with your retailer and do not proceed with the installation.
- If the product show any anomaly, disconnect the appliance from the power supply.
USES
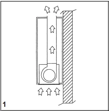
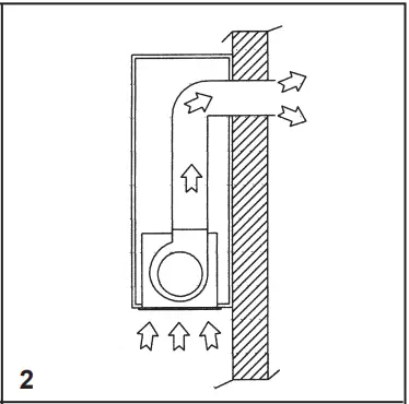
- The appliance is already arranged both for filtering and for suction performances.
- In its filtering version (Fig. 1), the air and fumes conveyed by the appliance are depured both by a grease filter and by an active coal filter, and put again into circulation through the hole made on the top of the cabinet.
- The charcoal filter is not supplied with the appliance.
- In its sucking version (Fig. 2), fumes are directly conveyed outside, through an evacuation duct connected with the superior part of the wall or the ceiling. Both coal filter and air deflector are not necessary in this case.


INSTALLATION
- Before installing the appliance, make sure that none of the parts is damaged in any way.
- In case of damaged parts, contact your retailer and do not proceed with installation.
- Read all of the following instructions with care before installing the appliance.
- Use an air outlet pipe of the shortest possible length.
- Limit the number of pipe bends.
- Use a material approved by standards and regulations.
- Avoid any sudden changes in pipe section (re commended constant diameter: 150 mm or equal surface area).
- The manufacturer shall not respond for air capacity or noise problems due to non- compliance with above mentioned instructions, and no warranty shall be given.
- Remove the grease filters before installing the product, in order to avoid to damage the appliance.
- Open the glass rotating it as shown in fig. 3; then remove the grease filters acting on their specific handle and rotate them to remove them from their seating (fig. 4).


- Make an opening on the kitchen cabinet bottom of the following sizes:
- FBGHD 850 TC X: 265mmX835mm
- Make sure the cabinet structure and the material used allow you to make this opening without causing any damages, even during the appliance installation.
- Prepare the power supply inside the cabinet.
- Prepare the air discharge hole for the product being installed either in the sucking or filtering mode.
- Use an air discharge pipe whose maximum length does not exceed 5 meters.
- Limit the number of elbows in the piping, as each elbow reduces the air capacity of the hood of about 1 linear meter. (Eg.: if you use no. 2 x 90° elbows, the length of the piping should not exceed 3 meters).
- Avoid abrupt direction changes. Use a 150mm constant diameter pipe for the whole length. Use piping approved standards in force.
- Remove the fixing screws of the rear steel bar, as shown in fig. 5.

- Rotate the steel bar, including the led bar, to remove it from its seating (fig. 6- 7). You can electrically disconnect the bar by acting on the specific connector.


- Place the appliance inside the cabinet and fix it by inserting the screws supplied into the holes, as shown in fig. 8.

- Both in the front and rear side of the appliance.
- Refit the stainless steel bar previously removed, connect the led bar electrically by means of the specific connector, and then refit the grease filter.
Rear air outlet
- Models equipped with only one motor can be installed having the motor air out let oriented towards the appliance rear side.
- If you choose this option, you will need to remove the motor support by removing the 18 screws (fig. 9), taking out and rotating the support, placing it in its housing , always keeping the air outlet oriented towards the appliance rear side. (fig. 10).
- Secure it by using the screws previously removed.
- If you intend to rotate the fan, in order to orient the air outlet to the rear side of the product, you must foresee the air outlet channeling at 238mm distance from the lower surface of the wall unit (fig. 11).



Blocking of the stop valve
Warning!
Before connecting the flexible exhausting pipe to the motor, make sure the stop valve, which is on the air outlet of the motor, can swing.
Exausting version
Connect the flange to the exhausting hole with an appropriate pipe. Connect the appliance with the electrical mains through the supply cord.
Filtering version
Connect the flange with a pipe suitable to convey the air to the top of the cabinet. Connect the appliance with the electrical mains through the supply cord.
Chimney installation
- Lift the internal steel chimney up to the top of the wall unit (fig. 12), draw with a pencil the rear end of the internal chimney on both sides (fig. 13), lower the entire chimney and position the fixing bracket in correspondence with the marking made (fig. 14), secure the bracket with screws (fig. 15).
- Lift the internal chimney up to cover the bra cket and secure it with screws positioned on both sides (fig. 16).





WORKING
Mod. SL TC – Glass (dis. 17)

- A: Light switch On/Off
- B: Reduce speed / OFF motor
- C: Luminous telltale
- D: ON motor/incrase speed
- E: 10 – minute timer
- The touch control key allows the function desired by touching the relative key.
- If the electrical power supply to the product SLTC is cut, 15 seconds are needed for selfdiagnostics after the functions are restored.
- In the meanwhile, its operation may be incorrect.
- The products are endowed with an electronic device which allows the automatic switching off after 4 hours working from the last operation.
TIMING
- As a result of the new EU65 “Energy label” and EU66 “ Ecodesign” regulations issued by the European Commission, which came into force as from January 1st, 2015 , our products have been adapted to comply with these new requirements. All of the models complying with the energy label requirements, are equipped with new electronics including a timer device for suction speeds control, when the air capacity exceeds 650m³/h. Internal motor models, with maximum air capacity higher than 650m³/h, are equipped with a timer de vice that automatically switches the suction speed from 4th to 3rd speed, after 6 minutes operation.
- The energy consumption of the appliance in stand – by mode is lower than 0.5W.
MAINTENANCE
- An accurate maintenance guarantees good functioning and long-lasting performance.
- Particular care is due to the grease filter panel.
- It can be removed by pushing its special handle toward the back-side of the cooker hood and turning the filter downwards so to unfasten it from its slot (Fig. 4).
- To insert the filter just perform the opposite operation.
- After 30 hours working (model), the push button control panel will signal the saturation of the grease filter by lighting all the buttons. Press the timer button to reset .
- The grease filter needs cleaning by regular handwashing or in dishwashers every two months at least or depending on its use.
- In case the appliance is used in its filtering version, the active coal filter (Fig. 18) needs to be periodically replaced. The coal filter can be removed by removing the grease filter first (Fig. 4), and by pulling its special plastic tongue until it is unfastened from its slot. Re-insert the coal filter by operating in the opposite way. The coal filter needs replacing depending on the use, but however every six months at least.

- To clean the appliance itself tepid water and neutral detergent are recommended, while abrasive products should be avoided. For steel appliances specialized detergents are recommended (please follow the instructions indicated o the product itself to obtain the desired results).
LED BAR REPLACEMENT
- To remove the led bar , it is recommended to remove the steel bar as shown in Fig. 6 and 7, then disengage the led bar by acting on the specific fastening springs.
- Replace the led bar with one of the same characteristics.
- Refit the steel bar.
If the supply cord is damaged, it must be replaced by the manufacturer or its sevice agent or a similarly qualified person in order to avoid a hazard.



































