
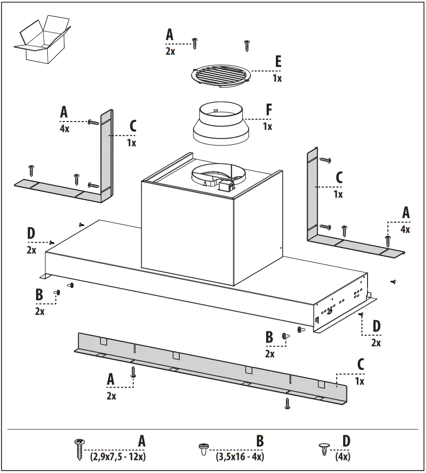
INSTALLATION MANUAL
FSTP NG 605 X
FSTP NG 905 X
FSTP NG 1205 X
FST PLUS 608 X
FST PLUS 908 X
FST PLUS 1208 X
Warning! Before proceeding with installation, read the safety information in the User Manual.















Franke S.p.a.
Via Pignolini,2
37019 Peschiera del Garda (VR)
www.franke.it
991.0480.733_05 – 181221
D00003161_04

















