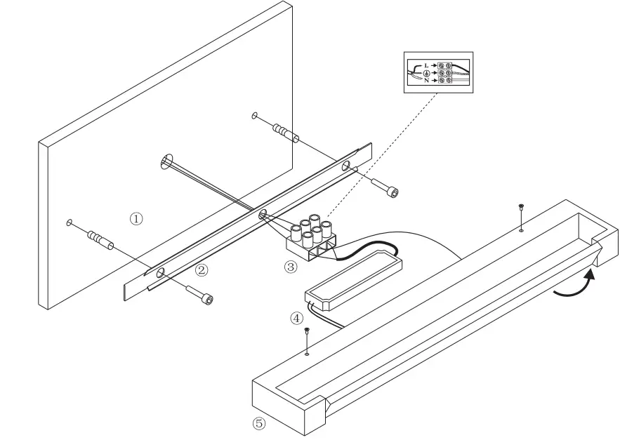
Home » Blog » Halcyon S501 600mm Blade Bathroom Light Instruction Manual Halcyon S501 600mm Blade Bathroom Light Instruction Manual Contents hide1 HALCYON S501 600mm Blade Bathroom Light2 INSTALLATION3 Documents / Resources4 Related PostsHALCYON S501 600mm Blade Bathroom LightINSTALLATION Documents / Resouces Download manual Here you can download full pdf version of manual, it may contain additional safety instructions, warranty information, FCC rules, etc. To access the pdf donwload links, solve the captcha. Related Manuals Halcyon S502 900mm Blade Bathroom Light Instruction Manual Halcyon S506 600mm Led Vanity Light Instruction Manual Halcyon P471 Led High Bay Light Instruction Manual Halcyon P525 Led High Bay Light Instruction Manual Halcyon P500 Led Linear High Bay Light Instruction Manual Anslut 423390 Bathroom Light Instruction Manual Halcyon P455 Led High Bay Light Instruction Manual Relaxn 709900 Led Blade Reading Light Instruction Manual Halcyon Led501 W46 Led Batten Light Instruction Manual Halcyon Led502 Led Ip65 Batten Light Instruction Manual Relaxn 709901 Led Blade Reading Light Instruction Manual Halcyon R767 Ecolight 195mm White Downlight Instruction Manual Halcyon R251 Led Panel Light Instruction Manual Halco 95001 Emergency Light Instruction Manual Halcyon Led501 W46xp Led Batten Light Instruction Manual Halcyon U972 B3 Led Wall Light Instruction Manual Halco Par36 Series Led Lamps Instruction Manual Halcyon Led500 W46xp Led Batten Light Instruction Manual Halcyon Led502w46xp Led Ip65 Batten Light Instruction Manual Halcyon Ex360 1bbl Led Spot Light User Manual