
Portable Concrete Propane Gas Fire Pit
Instruction Manual

ITEM/Article #:A302003700
WE HAVE YOU IN MIND, LET US SERVE YOU!
SAFETY INFORMATION
Before you assemble or operate this unit, please ca refully read this entire manual. Failure to do so may result in a fire, explosion, injury or death.
WARNING
- The installation of this unit must adhere to local codes or either the National Fuel Gas Code, ANSI Z223. 1/NFPA54, OR CAN/CGA-B149.1, National Gas and Propane Installation Code.
- THIS UNIT IS INTENDED FOR OUTDOOR USE ONLY! Thisrp oduct shall be used outdoors, in a ventilated space and shall not be used in any enclosed area.
- This unit is to be used with p ropane gas only! (sold separately)
- Do not attach a remote gas supply to this unit.
- Only use propane gas for this unit.
- Do not use any solid fuel or charcoal for this unit.
- When igniting this unit, stay away from the burner as the flame will light up and may cause injury.
- LP GAS WARNING: Do not use any more than 1/4in depth lava rocks/pumice stones/LavaGlass TM’ above the burner holes. Doing so will suffocate the flame.
- If the propane gas tank is leaking gas, you may hear, see, or smell a hiss. Do the following:
1. Disconnect the propane gas tank.
2. Do not attempt to fix the problem yourself.
3. Contact your gas supplier or fire department for help. - Applying too much p ropane may result in gas pooling and will not bu rn. Allow fresh air into the unit so that the remaining gas may escape.
- Do not use a flame to check for gas leaks.
- The max. inlet supply pressure: max. Gas supply 11 in w.c. (2.74kPa)
- Use LP propane tanks with the following dimensions: diameter 12 in, height 18 in – capacity 20 lbs.
- You must use a propane tank that has a collar to protect the gas valve.
- DO NOT fill tank over 80 percent full.
- The tank system must be set up for vapor withdrawal.
- Discontinue use if any part of the p ropane tank is damaged. Rust and dents may be hazardous and should be inspected by a gas supplie r.
- Do not burn anything other than the provided materials for this fire bowl.
- Keep away from the unit for the first 20 minutes after igniting your unit for the first time, as lava rocks/pumice stones/LavaGlass Tv could pop out and cause injury. Should any rocks pop out, disca rd them.
- Always ensure that lava rocks/pumice stones/LavaGlass Tv are completely dry befo re use. Failure to do so will cause them to crack or pop.
- Do not operate unit until all parts a re fully assembled.
- Do not paint or color any part of this heating unit.
- Unit may be hot while in use, do not attempt to move it while in use.
- Never leave this heating unit unattended while in use.
- This unit is not intended for cooking.
- Keep any flammable items away and do not use any other fireplace cover for this unit.
- Keep a safe distance to avoid bu rning skin or clothing.
- Do not sit or rest hands or feet on this heating unit.
- Never place hands or fingers on upper portion of this unit while in use.
- Keep all electrical cords and fuel supply hose away from heated surfaces.
WARNING: FUELS USED IN LIQUEFIED PROPANE GAS APPLIANCES, AND THE PRODUCTS OF COMBUSTION OF SUCH FUELS, CAN EXPOSE YOU TO CHEMICALS INCLUDING BENZENE, WHICH IS KNOWN TO THE STATE OF CALIFORNIA TO CAUSE CANCER AND CAUSE BIRTH DEFECTS OR OTHER REPRODUCTIVE HARM.
For more information go to: www.P65Warnings.ca.gov
WARNING: FOR YOUR SAFETY: Surfaces of fire pit can remain extremely hot for period after use. Allow 45 minutes to cool down before touching or moving the fire pit.
- Combustible material should not be within 72 inches of the top of the unit, or within 48 inches around the entire unit.
- Keep the appliance area clear and free from combustible material, gasoline and other flammable vapors and liquids.
- If the flame goes out while burning, turn the gas valve off. Wait 5 minutes before repeating the initial lighting procedure. Once you have a flame started, hold down the control knob for 1 minute.
- Do not add water into the unit.
- Do not operate unit if any part has been under water. Immediately call a qualified service technician to inspect the appliance and replace any part of the control system and any gas control that has been under water.
- Do not disconnect any part while unit is in use
- Do not store a spare propane tank on or near this unit.
- If the heating unit is indoors, detach the propane tank and leave outdoors.
- Do not operate on a boat or vehicle. This unit must be used on a flat surface and outdoors ONLY.
- Always remove protective cover before operating (if applicable).
- Do not set the protective cover over the unit until it is turned off and completely cooled down.
- Check for leaks after not using the unit for long periods of time.
- Children should never operate this unit. Children must be supervised while near this unit.
- Keep gas tank at least 5 feet away from unit when lit. (if external tank)
- The maximum gas supply pressure is 250psi.
- All installation and repair should be done by a qualified professional. This unit should be inspected annually and cleaned regularly.
- Inspect all elements of this heating unit before each use. If there is damage, the burner must be replaced.
- Keep the hose out from any pathways to eliminate any accidental damage. (if external tank)
- Be aware of the hazards of high temperatures and stay away from the unit to avoid any burns or injury.
- The gas supply tank should be constructed and marked with the specifications for the LP gas tanks of the U.S. Department of Transportation or the National Standard of Canada CAN/CSA-B339, LP gas tanks, spheres and tubes for Transportation of Dangerous Goods; and Commission.
- The LP gas tank must have a listed overfilling prevention device and a OCCI or Type I, (CGA810) LP gas tank connection.
- This heating appliance should not be used on plastic or artificial wood decks.
- Children and adults should be alerted to the hazards of high surface temperatures and should stay away to avoid burns or clothing ignition.
- Young children should be carefully supervised when they are in the area of the appliance.
- Clothing or other flammable materials should not be hung from the appliance or placed on or near the appliance.
- Any guard or other protective device removed for servicing the appliance shall be replaced prior to operating the appliance.
- Installation and repair should be done by a qualified service person. The appliance should be inspected before use and at least annually by a qualified service person. More frequent cleaning may be required as necessary. It is imperative that the control compartment, burners and circulating airways of the appliance are kept clean. IF APPLICABLE:
- Allow heating item to cool completely before placing on lid.
- DO NOT use heating item while lid is installed. Always remove the lid while heating item is in use.
SAFETY INFORMATION
Only use the regulator and hose assembly provided with this unit.
Inspect the bur ner before use of this unit. If the bur ner shows any kind of damage, do not operate the appliance.
NOTE: You must follow all steps to properly assemble this heating item. Make sure the gas valve is turned “OFF” before assembling. Do NOT attempt to assemble without proper tools.

Combustible materials should not be within 72 inches of the top of the unit, or within 48 inches around the entire unit.
CONTENTS

| Item | Part Number | Description | Qty |
| A | P003100101 | Lid | 1 |
| B | P006600001 | Lava Rocks | 1 box |
| C | P007900128 | Body | 1 |
| D | P006700061 | Tank Holder | 1 |
| F | P007600105 | Control Knob (preassembled) | 1 |
| G | P007600106 | Electronic Igniter (preassembled) | 1 |
| H | P005300019 | Adjust Foot | 4 |
ASSEMBLY INSTRUCTIONS
- Turn over the body(C) and assemble 4pcs adjust feet(H) into bottom.

- Check that the control knob (F) for the gas supply system is tu rned to the “OFF” position before starting any assembly.

- Put the 20 lb. propane gas tank (not included) into the tank holder (D). Turn the wing screw on the outside of the tank holder (D) clockwise to tighten the tank into the tank holde r.

DANGER
Propane tank must be a minimum of 60 inches away at all times. - Turn the cylinder valve on the tank clockwise to close the p ropane tank. Attach the p reassembled regulator from the body (C) to the cylinder valve by turning the regulator coupling nut clockwise. Make su re it is fastened securely and tighten connections by hand only.

- Remove the rubber cap on the electronic igniter (G) by unscrewing and slide battery (E) into the battery slot. Make sure the positive side of the battery faces outwards. Screw the electronic igniter cap (G) over the battery tightly.

- Remove the lid(A), and pour the box of lava rock(B) into the fire table body(C)

WARNING
To ensure proper function, the guard on this burner should be free of lava rocks at all times.
OPERATION
Before performing a leak test, be sure that no sparks can occur and you are in a spacious outdoor area. Connect the propane gas tank to the regulator and turn the valve on the unit to the “off ” position. Brush a soap and water mixture on all connections. Turn the gas supply on; if bubbles occur on any connection there may be a leak. If you smell gas or a leak is discovered turn the gas valve off, disconnect propane gas tank and do not use the appliance until the leak is repaired.
Do not use the heating unit without inspecting the gas hose. If there are signs of wear or abrasion you must replace the hose (if applicable). Pumice stones/lava rocks/LavaGlasslm could pop up and strike somebody’s face during the process of lighting this unit; stand away from the unit for the first 20 minutes after igniting. Flame height should be a yellow/blue color between 2 – 10 inches in height.
Wait 5 minutes after extinguishing flame prior to placing a lid (if applicable) or protective cover on heating item.
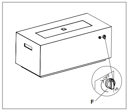
To Light
- Make sure the control knob (F) is in the “off’ position. Slowly open the valve on the propane gas tank by turning the knob counter clockwise.
- Push and hold in the electronic igniter (G) to create sparks within the elect rode, continue to hold.
- Push in the control knob (F) and turn to the “low” position. Keep holding down the control knob (F) to allow gas to flow for 45 seconds.
- If ignition doesn’t occur within a few seconds , release the control knob (F) and rotate to the “OFF” position. Wait for 5 minutes for gas to clear and then repeat the above lighting instructions.
- Once the fire product is lit, the flame intensity may be controlled by turning the control knob (F) between the “low” and “high” positions.
To Extinguish
- Turn control knob (F) clockwise to the “low” position; let the knob pop up and continue turning the control knob (F) to the “off’ position.
- Close the cylinder valve on the propane gas tank if you don’t intend to use it for a long time.
WARNING
Fire product and p ropane gas cylinder minimum distance must be over 60 inches (as per right side photo)

MAINTENANCE
- Before performing any maintenance always disconnect propane gas tank.
- Keep the heating item free and clear from combustible materials.
- Visually inspect burner for obstructions and keep tank enclosure free and clear from debris.
- Use a soft brush to get rid of the mild stains, loose dirt and soil after the burner and pumice stones/lava rocks/LavaGlass™ are completely cooled down. Wipe down with a soft cloth.
- Harsh weather conditions may cause stubborn stains, discoloration and possibly rust pitting.
- Permanent damage may occur if powder or solvent comes in contact with painted or plastic components on this heating unit.
- Keep the heating unit stored away from direct sunlight.
- If storing this unit inside, disconnect the propane gas tank from the gas valve.
- Not using manufacturer approved or supplied parts/accessories may result in a defective condition and void the warranty of this heating unit.
- Always place lid (if applicable) or protective cover on heating item when not in use.
TROUBLESHOOTING
| Problem | Cause | Solution |
| Heating unit won’t light | Igniter pin and burner are wet | Dry off with a soft cloth |
| Igniter battery is incorrectly Inserted | Check which direction the battery is inserted | |
| Igniter pin is broken | Contact Bond Manufacturing for a replacement part | |
| Electrode wire is loose or disconnected | Reconnect wire to the igniter box located Inside the fire table behind the igniter box | |
| Electrode wire is shorting between valve and igniter pin | Contact Bond Manufacturing for a re-placement part | |
| Bumer won’t light while using a match | No gas flow | Check that the gas tank isn’t empty |
| Regulator isn’t connected securely to the tank | Tighten regulator connection to the gas tank | |
| Gas flow is obstructed | Check all hoses for kinks and bends | |
| Burner ports are clogged | Turn all gas flow connections off. Insert an opened paperclip (or similar item) into each of the burner ports to clear them out. | |
| Heating unit emits a lot of black smoke | Flame is obstructed at burner ports | Check that all burner ports are free of any small lava rocks/pumice stones/LavaGlassTM pieces |
| Regulator hose is kinked | Straighten hose of all bends or kinks | |
| Sudden drop in gas flow | No gas flow | Check that the gas tank isn’t empty |
| Excess flow safety valve has been activated | Turn the control knob to the ‘off’ position. Close the tank valve and disconnect propane gas tank. Turn the control knob to ‘high.; wait 1 minute. Turn the control knob back to the ‘off’ position. Reconnect propane gas tank. Light the fire unit as indicated in the ‘To Light’ section of this manual. | |
| Flame blows out easily | High or gusting winds | Increase flame to ‘high’ |
| No gas flow | Check that the gas tank isn’t empty | |
| Excess flow safety valve has been activated | See ‘sudden drop in gas flow’ above |
CARE AND MAINTAINCE
Service:
Repair gas passages and associated components should be done only by a qualified service person.
Caution: Always allow heater to cool before attempting service.
Questions? Issues?
CONTACT US
24 hours / 7 days a week
Warranty Parts
www.sunjoyonline.com
[email protected]

https://www.sunjoyonline.com/A30200370022
Country of Origin: China
Production Number: xxxxxxxxxx
Retain this manual for future use.






















