NUUGARDEN 4AF115C 3 Inch Gas Fire Pit Instruction Manual
INTRODUCTION
Thanks for purchasing and trusting NUUGARDEN with your home decorating plans. This product is a furniture designed and made by NUUGARDEN Corp.
We are committed to R&D innovation and creating the most refined, diverse choice of outdoor collection.
After unpacking and before every use, check whether the item shows any damages. In addition, check that you have all parts and hardware before assembly. If there is any damage, please do not use and just call customer service at (800) 257-7108 or send an email to [email protected]. If you do not have all the parts lists, have your dealer contact us and they will be sent to you immediately.
This furniture is intended for indoor and outdoor use. Please take time to read and follow the instruction below. Use the item as described in this operating manual. We accept no liability for damages caused by improper use.
WARNING
WARNING
Do not store or use gasoline or other flammable vapors and liquids in the vicinity of this or any other appliance. An LP-cylinder not connected for use shall not be stored in the vicinity of this or any other appliance.
WARNING:
If the information in this manual is not followed exactly, a fire or explosion may result causing property damage,personal injury,or loss of life.
WARNING:
Do NOT leave this appliance unattended while it is in operation.
DANGER
CARBON MONOXIDE HAZARD ‘This appliance can produce carbon monoxide which has no odor.
Using tin an enclosed space can kil you. Never use this appliance in an enclosed space Such a5 2 campor tant <ar o home.
DANGER
FIRE OR EXPLOSION HAZARD If you smell gas:
- Shut off gas supply to the fire table.
- Extinguish any open flame.
- Do not try lighting any appliance.
- Do not touch any electrical switch; do not use any phone in your building.
- If odor continues, leave the area immediately.
- After leaving the area, call your gas supplier.
- Follow the gas supplier’s instructions.
- If you cannot reach your gas supplier, call the fire department.
Failure to follow these instructions could result in fire or explosion, which could cause property damage, personal injury, or death.
WARNING:
For Outdoor Use Only (outside, non-enclosed area) Do Not Use For Cooking. Installation and service must be performed by a qualified installer, service agency, or the gas supplier.
WARNING:
California Proposition 65 Combustion by-products produced when using this product contain chemicals known to the State of California to cause cancer, birth defects, and other reproductive harm.
INSTALLER:
Leave this manual with the appliance.
CONSUMER:
Retain this manual for future reference.
WARNING
Improper installation, adjustment, alteration, service or maintenance can cause injury or property damage. Refer to the owner’s information manual provided with this appliance.
For assistance or additional information consult a qualified installer, services agency or the gas supplier.
IMPORTANT SAFETY INFORMATION
WARNING FIRE TABLE IS FOR OUTDOOR USE ONLY
Installation and repair should be done by a qualified service person. The appliance should be inspected before use and at least annually by a qualified service person. More frequent cleaning may be required as necessary. It is imperative that the control compartment, burners and circulating air passageways of the appliance are kept clean.
WARNING Failure o follow the dangers, warming and cautions in this manual may resut in serious bodly injury or death, orin afire or an explosion Gausing damage to property.
IMPORTANT NOTICERead and understand all warnings and precauions prior to assembly and use of your gas fre table. Improper installation, adjustment, alferation, Service or maintenance can cause injury o property damage. Note The use and installaton of ihis product must conform to local codes. I the absence of local codes, use the National Fuel Gas Code, ANSI 2223.1/NFPAS4. Reference {o Natural Gas and Propane Installation code CSA B149.1 or Propane Storage and Handiing code B149.2.
Minimum Clearance from Unit to Combustible Materials
65in (165.Tcm) from the top: 48 in (121.9cm) from al sides and back. Do not locate this i table under any overhead enclosre.
IF YOU SMELL GAS
- Shut off gas supply to the fire table.
- Extinguish any open flame.
- Do not try lighting any appliance.
- Do not touch any electrical switch; do not use any phone in your building.
- Immediately call your gas supplier from a neighbor’s phone.
- Follow the gas supplier’s instructions.
- If you cannot reach your gas supplier, call the fire department
Children and adults should be alerted to the hazards of high surface temperatures and be kept at a safe distance while fire table is in use. This outdoor fire table is not to be operated by children. Young children should be closely supervised when in the vicinity of this outdoor fire table. Do not hang or place clothing or other flammable materials on or near the gas fire table. Any guard or protective device removed for servicing the appliance shall be replaced prior to operating the appliance. - Keep these insiructions for fulure reference. I you are assembling this unit for someone else, give this manual fo him or her o read and keep for uture reference.
- This gas fire table must be used ONLY outdoors in a well-ventiated space and shall NOT be used nside a building, garage, or any other enclosed area.
- DO NOT use this outdoor gas fire table for indoor heating. TOXIC carbon monoxide fumes can accumulate and cause asphysation.
- NEVER LEAVE this gas fire table unattended when in use.
- This unitis to be used with propane gas & natural gas only (sold separately).
- Do not use a flame to check for gas leaks.
- Do not store or use gasoline or other flammable vapors and liquids within 25 feet (7.62m) of this or any ofher appliance.
- Do not store any combustible materials in the base enclosure
- The use of alcohol, prescription or non-prescription drugs may impair an individual’s ability to properly assemble or safely operate this outdoor fire table.
- DO NOT use in an explosive atmosphere. Keep gas fire table area a clear and free from combustble materials, gasoline and other flammable vapors and liquids.
- This outdoor fire table is not to be installed or used in or on recreational vehicles and/or boats.
- Always use in accordance with all applicable local, state and national codes. Contact your local fre department for details on outdoor burning
- Use the same precautions you would with any open fire when using this outdoor fire table.
- DO NOT burn solid fuels such as: wood, charcoal briquettes, lump charcoal, manufactured logs, driftwood, trash, leaves, paper, cardboard, plywood., painted or stained or pressure treated wood in this outdoor fire table.
- DO NOT paint or color any part of this heating unit.
- DO NOT use this outdoor fie table unti it is COMPLETELY assembled and all parts are securely fastened and tightened.
- DO NOT store anather LP gas tank within 10 feet (3.05 m) of this outdoor fire table while itis in operation DO NOT use this outdoor fire table near automobiles, trucks, vans or recreational vehicles.
- DO NOT use this outdoor fire table under any overhead structure or near any unprotected combustible constructions. Avoid using near or under overhanging trees and shirubs.
- Always use this outdoor fire table on a hard, level non-combustible surface such as concrete, rock or stone. An asphalt or blacktop surface may not be acceptable for this purpose.
- DO NOT use this outdoor fire table if any part has been under water. Immedately call a_qualified service technician to inspect the fire table and to replace any part or control system and any gas control which has been under water
- Always remove protective cover before operating ( if applicable)
- DO NOT set the protective cover over the unit until it s turned off and completely cooled down
- DO NOT use in windy conditions.
- Keep all electrical cords away from a hot outdoor fir table.
- Certain areas of this outdoor fire table when in use will become too hot to touch. Do not touch hot surfaces untilthe unit has ‘cooled unless you are wearing protective gear such as insulated pot holders or heat resistant gloves o mittens to avoid burs.
- DO NOT attempt to move or store this outdoor fire table untilall parts are cool
- DO NOT lean over this outdoor fire table when lighting or whenin use.
- Use only the regulator and hose assembly provided. The replacement regulator and hose assembly shall be that specified by the manufacturer
- DO NOTattempt to disconnect the gas regulator from the tank or any gas fitting while the outdoor fire table is in use.
- Always shut off the supply at the tark valve and disconnect regulator from the tank when the fire table s not in use.
- DONOT sit on the fire table when the unit is in operation
- DO NOT throw anything onto the fire when the unitis in operation
- Lava Rocks are very hot; please keep children o pets at a safe distance.
- Itisessertial to keep the outd oor fire table valve compartment, buners, and circulating air passages clean. Inspect outdoor fire table before each use.
- Check for leaks after not using the unit for long periods of time.
- Prior to each fire table operation, visually check the hose for evidence of excessive abrasion or wear. Ifthe hose is damaged, cracked or cut, it must be replaced before using the gas fire table. The hose assembly can only be replaced with a hose assembly specified by the manufacturer. Please contact us at (800)257-7108 or [email protected].
- Before each use, remove the lava rocks. Examine the burner and its components. If dity, clean with a soft brush and soapy water solution. Also examine the area around the bumer. Any dirt or foreign material, such as spider webs or nests in this area should be removed. If the bumer shows any kind of damage, do not operate the appliance. For assistance with repair o replacement of the burner or any other parts, Please contactus at (800)257-7108 or [email protected].
ATTENTION: Any alteration of the outdoor fire table that is not specifically directed in the operations manual will void manufacturer warranty.
ATTENTION: You must follow all steps to properly assemble this heating item. Make sure the gas valve is turned “OFF” before assembling. Do NOT attempt to assemble without proper tools.
PROPANE (LP) DANGERS AND WARNINGS
LP GAS
LP gas is flammable and hazardous if handled improperly. Become aware of the characteristics before using any LP gas product.
Propane Characteristics:
- Flammable, explosive under pressure, heavier than air and settles in pools in low areas
- Inits natural state, propane has no odor. For your safety, an odorant has been added
- Contact with propane could burn your skin.
- Propane s extremely flammable and hazardous if handied improperly.
LP GAS WARNINGS:
- Cylinders must be stored outdoors in a well-ventiated area out of reach of children Bisconnected cylinders must have threaded valve plugs tightly installed and must not be stored in a building, garage or any other enclosed area. –
- Never use a propane cylinder with a damaged body, valve, collar or footing
- Dented or rusted propane cylinders may be hazardous and should be checked by your propane gas supplier.
- Be sure to use only one 20 b (9.1 kg) LP gas cylinder with a Type 1 valve with this appliance as required by the American National Standards Institute (ANSI) and the Canadian Standards Steering Committee.
- Only tanks marked “propane” may be used.
- The LP gas supply tank must be constructed and marked in accordance with the Specifications for LP gas tanks of the U.S. Department of Transportation (DOT) or the National standard of Canada, CANICSA B339, LP gas tanks, Spheres and Tubes for the Transportation of Dangerous Goods.
- LP gas tank must be arranged for vapor withdrawal.
- The LP gas tank must have a listed overfling prevention evice (OPD) and a QCI or Type | (CGAT91) LP gas tank connection.
- The LP gas tank must have a tank collar 10 protect the tank valve. LP gas cylinder must contain a shut-off valve as specified in the standard for compressed gas cylinder valve outlet and inlet and inlet connection, ANSI/CGA-V-1-1977, CSA B9
- Never use an LP gas tank with a damaged body, valve, collar, or footing. Dented or rusted LP gas tanks may be hazardous and should be checked by your LP gas supplier prior to use.
- The LP gas tank should not be dropped or handed roughly.
- Tanks must be stored outdoors out of the reach of children. Do NOT store in a building, garage, or any other enclosed area. – Never store your LP gas tank where temperatures can reach over 125°F.
- Do not store the LP gas cylinder in direct sunlight or near a source of heat or combustion
- Never keep a flled LP gas tank in a hot car or car trunk. Heat will cause the gas pressure to increase, which may open the relief valve and allow gas to escape. Place dust cap on valve outlet whenever the LP gas tank is not in use. Only install the type of dust cap on the LP gas tank. valve outlet that is provided with the LP gas tank valve. Other types of caps or plugs may result in leakage of propane. 2. Do not store a spare LP gas cyinder under or near this appliance. b. Never fil the LP gas cyiinder beyond 80% full,
- If the information in (a) and (b) is not followed exactly, a fire causing death or serious injury may occur.
- LP gas cylinders should be filled only by a certified LP gas dealer
- The pressure regulator is set for 11 inches of water column (pressure)
- The maximum inlet propane gas pressure for this outdoor fire table is 250 psi.
- The minimum inlet propane gas pressure for this outdoor fire table is 25 psi
- The maximum inlet natural gas pressure for this outdoor fre table is 10.5 inch w..
- The minimum inlet natural gas for this outdoor fire table is 3.5 inch w.c.
- Never attempt o attach this appliance to the selfcontained LP gas system of a camper trailer, motor home or house.
- Only use the regulator and hose assembly provided with this unit. Replacement parts must be supplied directly by us.
- Hand turm the manual gas control valve. Never use tools. If the valve will not turn by hand, donottry to repair . Call a Cerified Gas Technician. The use of force or any self attempted repair may result in a fire or explosion
Connecting your gas cylinder:
Before connection, be sure that there is no debris caughtin the head of the gas cylinder, head of the regulator valve or in the head of the burner and bumer ports. Connect regulator valve and hand-tighten firmly. Disconnect the propane cylinder from the regulator valve when the fire table is notin use. DO NOT obstruct the flow of combustion air and ventiiation air o the bumer.
CAUTION
CAUTION: After lighting – using a fireplace tool and heat-resistant gloves, carefully move fire glasses back to their proper position, being careful to avoid the flame.
CAUTION: If ignition does not occur in 5 seconds, turn control knob to “ OFF”, wait 5 minutes, fan with a newspaper or magazine and repeat lighting procedure.
CAUTION:
- All cleaning and maintenance should be done when outdoor fireplace is cool and with the fuel supply disconnected.
- Do not clean any outdoor fireplace part in a self-cleaning oven, the extreme heat will damage the finish.
- Do not enlarge valve orifices or burner ports when cleaning the valves or burners.
CAUTION: NEVER place cover on hot outdoor fire table.
PREPARATION
Before beginning assembly of product, make sure all parts are present. Compare parts with package contents list and hardware contents list. If any part is missing or damaged, do not attempt to assemble the product.
HOSE & REGULATOR ASSEMBLY AND REPLACEMENT
- This fire table comes equipped with a standard LP gas hose and regulator including the appiiance side connection for a CGA No 791 Cylinder Connection Device. The LP gas hose and regulator supplied with this fre table must be used. Only a hose ‘and regulator specified by manufacturer can be used for replacement.
a. The CGA No 791 connection incorporates a magnetic flow limiting device that acts to limit the flow of gas if a leak is detected between the regulator and the burner valve.
b. If the bumer valve is open prior to the LP gas cylinder service valve being opened, the connection will interpret this free fiow of gasto be a leak.
c. The connection safety feature will reduce gas flow from the regulator tothe ~ appliance to a minimal level
d. Be sure that the burner control valve is closed prior to opening the LP gas cylinder service valve to ensure that the ‘connection flow limiting device is not triggered mistakenly.
e. If the connection flow limiting device is triggered mistakenly, close the LP gas ~cylinder service valve and the burner valve, wait 10 seconds o allow the device to reset, open the cylinder service valve, then open the burner valve and ight the fireplace as per lighting instructions. - Be sure to protect the hose from any hot surfaces. Serious danger may resultif the hose ontacts any hot surface.
- Regular maintenance of the hose and regulator anspect the hose before each se of the fire table. If the hose shows signs of cracks, abrasions, cuts or damage of any Kind, do not operate the appliance. Fix or replace the hose as required before using the appliance. For assistance with repair or replacement of the hose, service@nuugarden com Use only replacement parts from the manufacturer.
b.inspect the seal inside the CGA No 791 service valve on the LP gas cylinder when ~ replacing the cylinder or atleast once per year. If there is any indication of damage, have the seal replaced by a certified gas dealer before operating the. appliance. - Do not use tools to tighten the CGA No 791 connection nut onto the LP gas cyinder service valve. Hand tighten only.
- Be careful to not cross the threads onthe connection when tightening the CGA No 791 connection o to the LP gas cylinder service valve.
- “Leak Test” should always be performed after attaching the connection to the LP gas cylinder service valve. (See “Checking for Leaks” section of this manual on page 11).
- For the connection of the hose and regulator to the LP tank, refer to the “Connectior’” section of the LP gas cylinder section above.
CONTENTS

HARDWARE
| Item | Description | Qty |
| Table Top | 1 | |
| Side Panel | 1 | |
| Side Panel | 1 | |
| Side Panel | 1 | |
| Side Panel | 1 | |
| Tank Base | 1 | |
| Table Lid | 1 | |
| Fire Glass | 1 | |
| I | Cover | 1 |
| Hex Screw Driver | ||
| Bolt (M6*18) | 4 | |
| Bolt (M6*30) | 4 | |
| Bolt (M6*35) | 8 | |
| L08 | Washer (M6*20) | 4 |
| L15 Washer (M6*16) | 12 | |
ASSEMBLY INSTRUCTIONS
Note: Carefully unpack all parts from the box, compare parts with package content listed above, make sure all parts are present before beginning assembly of product. If any part is missing or damaged, do not attempt to assemble the product. Contact customer service for replacement parts.
Step 1: Attach side panels (B&C) to table top (A) with 4bolts (J18) and 4 washers (L08) by using hex screw driver (HO).
NOTE: DO NOT tighten the screws completely.
Hardware Used:
J18 Bolts (M6*18) x 4
L08 Washer (M6*20) x 4
HO Hex screw driver x 1
Step 2: Attach side panels (D&E) to side panels (B&C) with 4 bolts (J35) and 4 washer (L15) using hex screw driver (HO).
NOTE:DO NOT tighten the screws completely.
Hardware Used:
J35 Bolts (M6*35) x 4
L15 Washer (M6*16) x 4
HO Hex screw driver x 1
Step 3: Attach tank base (F) to side panels (D&E) with 4 bolts (J30) and 4 washer (L15) using hex screw driver (HO).
NOTE: Tighten all screws completely.
Hardware Used:
J30 Bolts (M6*30) x 4
L15 Washer (M6*16) x 4
HO Hex screw driver x 1
Step 4: Rotate the LP gas tank retainer bolt to loosen or tighten the tank base.
Step 5: Pour fire glasses (H) into the burner bowl. Place the gas hose through a hook and put the lid (G) on the burner bowl.
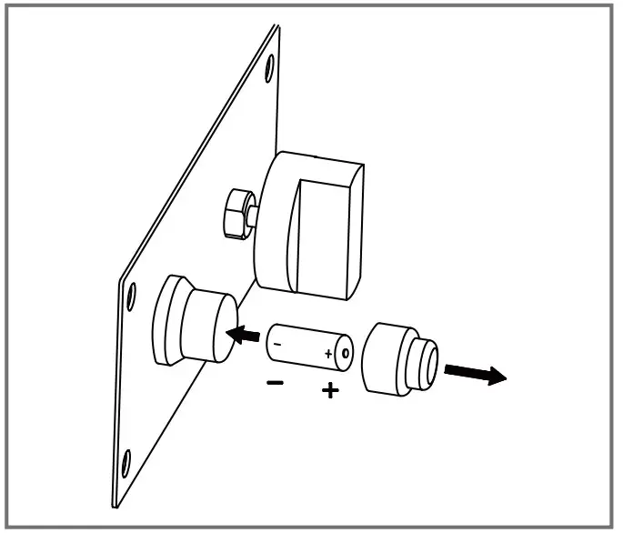
Step 6: Insert a battery(AAA battery, sold separately) and knob into the electric igniter and twist the button cover on to igniter housing. Do not overtighten.
WARNING: Batteries may contain mercury. Do not put batteries into the fire or trash. Please treat batteries as hazardous waste and recycle properly
Installing LP Gas Tank
To operate, you will need one precision-filled standard grill LP gas tank with external valve threads.
CAUTION: LP gas tank must be properly disconnected and removed prior to moving this outdoor fireplace.
Inserting LP Gas Tank
WARNING: Make sure LP gas tank valve is closed.
- Loosen LP gas tank retainer bolt by turning counter-clockwise.
- Place precision-filled LP gas tank upright into hole in outdoor fireplace base so the tank valve is facing the gas line connection. .
- Secure tank by turning LP gas tank retainer bolt clockwise until tight

Connecting LP Gas Tank
- Before connecting be sure there is no debris caught head of the LP gas tank head of the regulator valve or in the head of the burner or burner ports.
- Connect regulator/hose assembly to tank by turning knob clockwise until it stops.

Disconnecting LP Gas Tank
- Before disconnecting make sure the LP gas tank valve is “CLOSED”.
- Disconnect regulator/hose assembly from LP gas turning knob counterclockwise until it
CAUTION: LP gas tank must be disconnected and removed - prior to moving this fire table. 3. Place the protective cap cover on the LP tank and store the tank outdoors in a well ventilated area out of direct sunlight.

Operating Instructions
Checking for Leaks
WARNING: Before using this outdoor fireplace, make sure you have read, understand and are following all information provided in the “Important Safety Information” section on page 2. Failure to follow those injury or property damage
Burner Connections
- Make sure the regulator hose and valve connections are securely fastened to the burner and the tank.
- Visually check the connection between the burner/venturi tube and orifice.
- Make sure the burner/venturi tube fits over the orifice.
WARNING: Failure to inspect this an explosion which can cause death, serious bodily injury or damage to property. - Please refer to diagram for proper installation (Figures 1 and 2).
- If the burner/venturi tube does not rest flush to the orifice, as shown, please contact (800)257-7108


Tank/Gas Line Connection
- Make 2-3 oz. of leak detection solution by mixing one part liquid dishwashing soap with three parts water.
- Make sure control knobs are in the “ OFF” position (Figure 3).

- Connect LP gas tank per “Installing LP Gas Tank’’
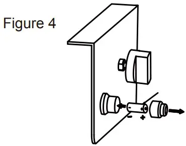
- Turn off the igniter cover and put the battery (AAA battery, sold separately) inside according to the electrode (Figure 4).

- Close the firepit door panel (Figure 5).

- Turn LP gas tank valve to “OPEN ”.
- Spoon several drops of solution or use a squirt bottle, at all “X” locations (Figures 1 and 2).
a. If any bubbles appear, turn LP gas tank valve to “CLOSED”, reconnect and re-test.
b. If you continue to see bubbles after several attempts turn LP gas tank valve to “CLOSED” and disconnect LP gas tank, per “Disconnecting LP Gas Tank”. Contact (800)257-7108 or [email protected].
c. If no bubbles appear after one minute, turn LP gas tank valve to “CLOSED”, wipe away solution proceed.
Lighting
WARNING: NEVER light the burner with the cover on the outdoor fireplace.
CAUTION: Keep outdoor gas appliance area clear and free from combustible materials, gasoline and other flammable vapors and liquids.
CAUTION: Do NOT obstruct the combustion and ventilation air.
CAUTION: Check and clean burner/venturi tubes for insects and insect nests. A clogged tube can lead to a fire.
- Make sure all labels, packaging and protective films have been removed from flow of the outdoor fireplace.
- Check for obstructions of airflow to the burner. Spiders, insects and webs can clog the burner/venturi tube. A clogged burner tube can lead to a fire.
- Control knob must be in the “ OFF” position (Figure 3).
- Clear small area of glass rocks away from the igniter cover (Figure 6).

- Connect LP gas tank per “Installing LP Gas Tank” section.
- Turn LP gas tank valve to “OPEN”.
- Push and hold the electronic igniter to create sparks within the electrode, continue to hold.
- Push in the control knob and turn to the “ON” position, Keep holding down the control knob to allow gas to flow for 20 seconds.
- After 20 seconds, release and turn control knob counterclockwise to adjust flame to desired height.
- If ignition does not occur in 20 seconds turn burner control knob to “ OFF” wait 5 minutes, fan with a newspaper or magazine, and repeat lighting procedure.
- Remove cover and lid from outdoor fireplace before lighting.
- Afigniter does not light burner:
A. Wearing heat-resistant gloves, position a long lit match or long it butane lighter near the pilot housing
b. Push and-tur control knob to “ON *
C_Remove matchllighter once burner is fit - After lighting, observe the bumer flame make sure all burner ports are litand flame height matches illustration (Figure 7) Turning Off
- Tum LP gas tank valve to * CLOSED”
- Tum control knob to the */1 OFF” position. Note: A “poof” sound is normal as the last of the LP gas is burned
- Disconnect LP gas tank per “Disconnecting LP Gas Tank” section
MAINTENANCE
- Before performing any maintenance always disconnect propane gas tank
- Store your productindoors during winter months. Avoiding extreme cold temperatures will prevent from exposure damage.
- Keep the heating item free and clear from combustible materials. “Visually inspect bumer for obstructions and keep tank enclosure free and clear from debris.
- Use a soft brush to get rid of the mild stains, loose dirt and soil after the bumer and lava rocks/LavaGlass
- Harsh weather conditions may cause stubbon stains, discoloration and possibly rust pitting
- ermanent damage may occur if powder or solvent comes in contact with painted or plastic ‘components on this heating unit
- Keep the heating unit stored away from direct sunlight
- If storing this unit inside, disconnect the propane gas tank from the gas valve.
- Not using manufacturer approved or supplied parts/accessories may resultin a defective condition and void the warranty of this heating unit –
- ALWAYS be covered ifitis stored outside
TROUBLESHOOTING
| Problem | Cause | Solution |
| Heating unit won’t light | Igniter pin and burner are wet | Dry off with a soft cloth |
| Igniter battery is incorrectly inserted | Check which direction the battery is inserted | |
| Igniter pin is broken | Contact us. for a replacement part | |
| Electrode wire is loose or disconnected | Reconnect wire to the igniter box located inside the fire pit behind the igniter box | |
| Electrode wire is shorting between valve and igniter pin | Contact Contact us. for a replacement part. for a replacement part | |
| Burner won’t light while using a match | No gas flow | Check that the gas tank isn’t empty |
| Regulator isn’t connected securely to the tank | Tighten regulator connection to the gas tank | |
| Gas flow is obstructed | Check all hoses for kinks and bends | |
| Burner ports are clogged | Turn all gas flow connections off. Insert an opened paperclip (or similar item) into each of the burner ports to clear them out. | |
| Heating unit emits a lot of black smoke | Flame is obstructed at burner ports | Check that all burner ports are free of any small lava rocks/pumice stones/ LavaGlass pieces |
| Regulator hose is kinked | Straighten hose of all bends or kinks | |
| Sudden drop in gas flow | No gas flow | Check that the gas tank isn’t empty |
| Excess flow safety valve has been activated | Turn the control knob to the ‘off’ posi- tion. Close the tank valve and disconnect propane gas tank. Turn the control knob to ‘high’; wait 1 minute. Turn the control knob back to the ‘off’ position. Recon- nect propane gas tank. Light the fire unit as indicated in the ‘To Light’ section of this manual. | |
| Flame blows out easily | High or gusting winds | Increase flame to ‘high’ |
| No gas flow | Check that the gas tank isn’t empty | |
| Excess flow safety valve has been activated | See ‘sudden drop in gas flow’ above |
CARE AND MAINTENANCE
Follow the instruction for the material of your special product to make sure that it stays in the best shape for as long as possible. The information below is only intended as a general guideline. For more information, please contact us.
- Only need to rinse it thoroughly with clean water to wash away dirt and grime. Never use abrasive cleansers on the furniture, since it can attack the surfaces and leave behind scratch marks.
- For the stubborn grime and stains, just use a soft sponge and mild soapy water and then dry it with a cloth or paper towel
- Check the stability of the screws, nuts and nut caps prior to each use. Tighten up them after one to two month’s use whenever required
- Avoid improper use, and be careful not to scratch or damage the surface with sharp objects.
- When you move your fumiture, make sure you lift it rather than pulling or pushing it to avoid damaging the floor, legs and mounting,
CUSTOMER SERVICE
Thanks for purchasing this NUUGARDEN furniture. We are here to help you maximize your enjoyment and appreciation of it.
Please do not hesitate to contact our customer service when you have any questions regarding assembly or accessories.
Add: 6366 Corley Road, Norcross, GA 30071.
Tel: (800) 257-7108
Web: http://www.nuugarden.com
E-mail: [email protected]
Service time: Mon-Fri, 8:30 AM-5:30 PM, EST
























