SMART LOCK
Manual
F20

Installation Video
Please watch our easy step by step installation videos before attempting to install your Touchscreen Smart Lock
https://www.youtube.com/channel/UCNG9zkOeH2lRpLM2e1H0K0g
You can search for Smart Lock to view the video on youtube if you have questions regarding the installation process
Important Notes
- Do not use a power drill for installation
- Install and test the lock with the door open to avoid being locked out
- Please read all the instructions before returning the product to the store
- DO NOT install the batteries before installing the lock!
Follow the instructions in sequential order! - If you have previously installed this lock on another door, you must perform
a Factory Default Reset FIRST! See the User Guide for more information. - This lock is designed for the following operating temperatures Outside Lock Body(exterior-mounted): -31 °F( -35 °C) to 158°F(70°C) Inside Lock Body(interior mounted): 14°F(-10°C) to 131°F(55°C)
SPECIFICATIONS:
- Front Lock Size: 70mm*80mm. Rear Lock Size: 70mm*80mm (refer to the illustration)
- Suitable for installation of door thickness range: 35mm-50mm
- Specification of mounting hole: Diameter 45-60mm
- Power supply: 4 x AA batteries. Emergency power supply: Type-C charging port.
- Standby current: – 100uA. Unlocking current: 280mA
- Low power prompt voltage 4.4V (Voice prompt)
- Unlocking Mode: SmartPhone TUYAAPP, Touch Panel Password Code, Fingerprint, Mechanical Keys.
- The normally-on operation mode can be set on the APP.
- Product illustration:
9.1: Front Panel.

9.2 Rear Panel

9.3 Finished product illustration.
10. Installation procedure:
10.1: Use borehole drawing to open the door, Then install a latch

1 0 .2: Install the front panel, Please install according to the warning mark.
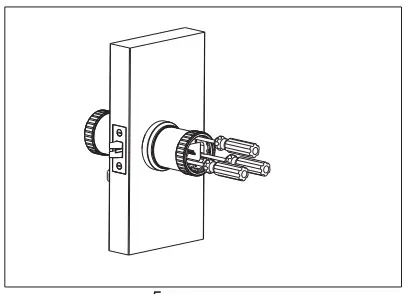
10.3: Install the closure plate to secure it to the front panel. screw in the set screw and pull out the spring.
10.4: Install the rear panel.
10.5: Connect the power cord between the rear panel and the front panel.
10.6: Need to keep parallel to screw on three screws, can not be crooked. Otherwise, the lock will be stuck. 
10.7: Take out the battery box. install 4 x AA batteries. replace the battery box and screw in the screws.
KINDLY REMINDER:
Do not close the door after installation. Please test the function of the lock and save the mechanical key

















