rocket fish RF-TVMLPT03V3 TV WALL MOUNT User Manual

Safety information and specifications
CAUTION:
Do not use this product for any purpose not explicitly specified by Rocketfish. Improper installation may cause property damage or personal injury. If you doM not understand these 1-800-620-2790 (U.S. and Canada) directions or have doubts about the safety of the installation, contact Customer Service or call a qualified contractor. Rocketfish is not responsible for damage or injury caused by incorrect installation or use. The weight of your TV must not exceed 130 lbs. (58.9 kg). The wall must be capable of supporting five times the weight of your TV and wall mount combined. This product contains small items that could be a choking hazard if swallowed. Keep these items away from young children!
Tools needed
You will need the following tools to assemble your new TV wall mount:
Package contents
Make sure that you have all the hardware necessary to assemble your new TV wall mount:
TV Hardware Bag
Concrete Installation Kit CMK1 (not included)
Contact customer service at 1-800-359-5520 to have these additional parts shipped directly to you.
Installation instructions
STEP 1 – Determine whether your TV has a flat back or an irregular or obstructed back
- Carefully place your TV screen face-down on a cushioned, clean surface to protect the screen from damage and scratches.
- If your TV has a tabletop stand attached, remove the stand. See the documentation that came with your TV for instructions.
- Temporarily lay the TV brackets (B and C) on the back of your TV in a vertical orientation.
- Align the screw holes in the TV brackets with the mounting screw holes on your TV.
- Identify which type of back your TV may have:
- Flat back: The brackets lay flush against the back of your TV and does not block any jacks. You do not need spacers when assembling the wall mount.

- Obstructed back: The brackets block any of the jacks on the back of your TV. You will need spacers (I or J) when assembling the wall mount.

- Irregularly shaped back: There is a gap between the brackets and some part of the back of your TV. You will need spacers (I or J) when assembling the wall mount.

- Flat back: The brackets lay flush against the back of your TV and does not block any jacks. You do not need spacers when assembling the wall mount.
- Remove the TV brackets (B and C).
STEP 2 – Select screws, washers, and spacers
- Select the hardware for your TV (screws, washers, and spacers). A limited number of TVs come with mounting hardware included. (If there are screws that came with the TV, they are almost always in the holes on the back of the TV.) If you don’t know the correct length of the mounting screws your TV requires, test various sizes by hand threading the screws. Select one of the following types of screws:

- Select M4 washers (G) or M6/M8 washers (H).irregular or obstructed TV back, use the 22 mm spacers (I) or 2.5 mm spacers (J).
CAUTION:
To avoid potential personal injuries and property damage, make sure that there are adequate threads to secure the brackets to your TV. If you encounter resistance, stop immediately and contact customer service. Use the shortest screw and spacer combination to accommodate your TV. Using hardware that is too long may damage your TV. However, using a screw that is too short may cause your TV to fall from the mount.
- Remove the screws.
- For a flat back TV, go to “STEP 3 – Option 1: Attaching the mounting hardware to TVs with a flat back” on page 7.-OR- For an obstructed back, go to “STEP 3 – Option 2: Attaching the mounting hardware to TVs with irregular or obstructed backs” on page 8.
STEP 3 – Option 1: Attaching the mounting hardware to TVs with a flat back
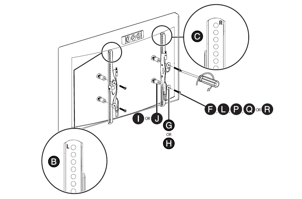
- Align the holes you noted on the TV brackets (B and C) with the screw holes on the back of your TV. The brackets are marked “R” for the right bracket and “L” for the left bracket. Make sure that the brackets are level.
- Place the washers (G or H) over the holes in the TV brackets that align with the screw holes on the back of your TV, then insert the screws (E, K, M, N, or O) through the washers.
- Tighten the screws until they are snug against the TV bracket. Do not over tighten.


STEP 3 – Option 2: Attaching the mounting hardware to TVs with irregular or obstructed backs
- Align the TV brackets (B and C) with the screw holes on the back of the TV.
- Place spacers (I or J) behind the TV brackets and the washers (G or H) over the holes in the TV bracket, then insert the screws (F, L, P, Q or R) through the washers, TV bracket, and spacers. Make sure the brackets are level.
- Tighten the screws until they are snug against the TV bracket. Do not over-tighten.


STEP 4 – Determine the wall-mount location
- For more detailed information on determining where to drill your holes, visit our online height-finder at: http://mf1.bestbuy.selectionassistant.com/index.php/heightfinder
- Your TV should be high enough so your eyes are level with the middle of the screen. Normally, 40 to 60 inches from the ground.
The center of your TV will match the center of the wall plate (A). Before you drill holes in the wall:
- Measure the distance from the bottom of your TV to the middle (half of the height of the TV). This is measurement a.
- Measure the distance from the floor to where you want the bottom of the TV to
- Add a + b. The total measurement is the height where you want the center of the TV bracket to be on the wall.
- Use a pencil to mark this spot on the wall.


STEP 5 – Option 1: Installing on a wood stud wall
Note: Drywall covering the wall must not exceed 5/8″ (16 mm).
- Locate the stud. Verify the center of the stud with an edge-to-edge stud finder.
- Align the wall plate template (D) at the height you determined in the previous step and make sure that it is level. Tape the wall plate template to the wall, then use a pencil to mark the lag bolt hole locations (4) on the stud centers. Remove the wall plate template.
- Drill pilot holes to a depth of 3 in. (75 mm) using a 7/32 in. (5.5 mm) diameter drill bit.
- Align the wall plate (A) with the pilot holes, insert the lag bolts (T) through the
- CAUTION:
Avoid potential injuries or property damage!DO NOT over-tighten the lag bolts (T).
TV WALL MOUNT RF-TVMLPT03V3

STEP 5 – Option 2: Installing on a solid concrete or concrete block wall
CAUTION
To prevent property damage or personal injury, never drill into the mortar between blocks. Mount the wall plate directly onto the concrete surface.
- Align the wall plate template (D) at the height you determined in the previous step and make sure that it is level. Tape the wall plate template to the wall, then use a pencil to mark the lag bolt hole locations (4). Remove the wall plate template.
- Drill pilot holes to a depth of 3 in. (75 mm) using a 3/8 in. (10 mm) diameter masonry drill bit.
- Insert the concrete wall anchors* into the pilot holes and use a hammer to make sure the anchors are flush with the concrete surface.
- Align the wall plate (A) with the anchors, insert the lag bolts (T) through the lag washers (S) and the holes in the wall plate, then tighten the lag bolts only until they are firm against the wall plate.
- CAUTION: Avoid potential injuries or property damage! DO NOT over-tighten the lag bolts (T).*Not included. Call Customer Service to have the Fischer UX10 x 60R concrete anchor kit shipped directly to you.


- CAUTION: Avoid potential injuries or property damage! DO NOT over-tighten the lag bolts (T).*Not included. Call Customer Service to have the Fischer UX10 x 60R concrete anchor kit shipped directly to you.
STEP 6 – Attach your TV to the wall mount
- Holding the TV with the top of the screen tilted toward the wall, slide the upper notches of the right and left TV brackets (B and C) over the upper lip of the wall plate (A). Then, gently lower the TV until the lock engages the lower lip of the wall plate (A). You will hear a click when the TV locks into place.

STEP 7 – Adjusting the tilt angle
- Adjust the swivel tension by hand or by using a 3/16″ hex key (not included),then adjust the tilt angle by gripping the top and bottom of the TV and manually moving the TV to the angle you want. When you are done adjusting the tilt tension, retighten the knob, but do not over-tighten. Tighten the swivel tension after the adjustments have been made.
- vel by loosening and tightening the screws on the tops of the vertical brackets.

Removing the TV from the wall mount
- Pull the latches down to unlock the TV from the wall mount, then pull the bottom of the TV out from the wall and lift it up and off the wall plate.

LIFETIME LIMITED WARRANTY
Definitions
The Distributor* of Rocketfish branded products warrants to you, the original purchaser of this new Rocketfish-branded product (“Product”), that the Product shall be free of defects in the original manufacturer of the material or workmanship for a period of one (1) year from the date of your purchase of the Product (“Warranty Period”).this warranty to apply, your Product must be purchased in the United States or Canada from a Best Buy branded retail store or online at www.bestbuy.com or www.bestbuy.ca and is packaged with this warranty statement.
How long does the coverage last?
The Warranty Period lasts for the useful life of the Product beginning on the date you purchased the Product. Your purchase date is printed on the receipt you received with the Product. In the event the Distributor ceases to sell the covered Rocketfish-branded product, this Limited Lifetime Warranty shall terminate for that product and there shall be no repair or replacement of the Product.
What does this warranty cover?
During the Warranty Period, if the original manufacture of the material or workmanship of the Product is determined to be defective by an authorized Rocketfish repair center or store personnel, Rocketfish will (at its sole option): (1) repair the Product with new or rebuilt parts; or (2) replace the Product at no charge with new or rebuilt comparable products or parts. Products and parts replaced under this warranty become the property of Rocketfish and are not returned to you. If service of Products or parts are required after the Warranty Period expires, you must pay all labor and parts charges. This warranty lasts as long as you own your Rocketfish Product during the Warranty Period. Warranty coverage terminates if you sell or otherwise transfer the Product.
How to obtain warranty service?
If you purchased the Product at a Best Buy retail store location or from a Best Buy online website (www.bestbuy.com or www.bestbuy.ca), please take your original receipt and the Product to any Best Buy store. Make sure that you place the Product in its original packaging or packaging that provides the same amount of protection as the original packaging. To obtain warranty service, in the United States call 1-888-BESTBUY, or in Canada call 1-866-BESTBUY. Call agents may diagnose and correct the issue over the phone.
Where is the warranty valid?
This warranty is valid only in the United States and Canada at Best Buy branded retail stores or websites to the original purchaser of the product in the county where the original purchase was made.
What does the warranty not cover?
- Installation
- Set up adjustments
- Cosmetic damage
- Damage due to weather, lightning, and other acts of God, such as power surges
- Accidental damage
- Misuse
- Abuse
- Negligence
- Commercial purposes/use, including but not limited to use in a place of business or in communal areas of a multiple dwelling condominium or apartment complex, or otherwise used in a place of other than a private home.
- Unauthorized modification of any part of the Product, including the antenna
- Display panel damaged by static (non-moving) images applied for lengthy periods (burn-in).
- Damage due to incorrect operation or maintenance
- Connection to an incorrect voltage or power supply
- Attempted repair by any person not authorized by Rocketfish to service the Product
- Products sold “as is” or “with all faults”
- Consumables, including but not limited to batteries (i.e. AA, AAA, C, etc.)
- Products, where the factory-applied serial number, has been altered or removed
- Loss or Theft of this product or any part of the product
- Display panels containing up to three (3) pixel failures (dots that are dark or incorrectly illuminated) grouped in an area smaller than one-tenth 1/10) of the display size or up to five (5) pixel failures throughout the display. (Pixel-based displays may contain a limited number of pixels that may not function normally.)
- Failures or Damage caused by any contact including but not limited to liquids, gels, or pastes.
REPAIR REPLACEMENT AS PROVIDED UNDER THIS WARRANTY IS YOUR EXCLUSIVE REMEDY FOR BREACH OF WARRANTY. ROCKETFISH SHALL NOT BE LIABLE FOR ANY INCIDENTAL OR CONSEQUENTIAL DAMAGES FOR THE BREACH OF ANY EXPRESS OR IMPLIED WARRANTY ON THIS PRODUCT, INCLUDING, BUT NOT LIMITED TO, LOST DATA, LOSS OF USE OF YOUR PRODUCT, LOST BUSINESS, OR LOST PROFITS. ROCKETFISH PRODUCTS MAKES NO OTHER EXPRESS WARRANTIES WITH RESPECT TO THE PRODUCT, ALL EXPRESS AND IMPLIED WARRANTIES FOR THE PRODUCT, INCLUDING BUT NOT LIMITED TO ANY IMPLIED WARRANTIES OF AND CONDITIONS OF MERCHANTABILITY AND FITNESS FOR A PARTICULAR PURPOSE, ARE LIMITED IN DURATION TO THE WARRANTY PERIOD SET FORTH ABOVE AND NO WARRANTIES, WHETHER EXPRESS OR IMPLIED, WILL APPLY AFTER THE WARRANTY PERIOD. SOME STATES, PROVINCES, AND JURISDICTIONS DO NOT ALLOW LIMITATIONS ON HOW LONG AN IMPLIED WARRANTY LASTS, SO THE ABOVE LIMITATION MAY NOT APPLY TO YOU. THIS WARRANTY GIVES YOU SPECIFIC LEGAL RIGHTS, AND YOU MAY ALSO HAVE OTHER RIGHTS, WHICH VARY FROM STATE TO STATE OR PROVINCE TO PROVINCE.
Contact Rocketfish:
- 1-800 620-2790 www.rocketfishproducts.com
- Rocketfish is a trademark of Best Buy and its affiliated companies.
- Distributed by Best Buy Purchasing, LLC7601 Penn Ave South, Richfield, MN 55423 U.S.A. 2018 Best Buy. All rights reserved. Made in China
rocket fish RF-TVMLPT03V3 TV WALL MOUNT User Manual





































