Westinghouse WPAC12000 Portable Room Air Conditioner

DISCLAIMERS
All information, illustrations, and specifications in this manual were in effect at the time of publishing. The illustrations used in this manual are intended as representative reference views only. We reserve the right to make any specification or design change without notice. The manufacturer will bear no responsibility when personal injury or property loss is caused by the following:
- Damage due to improper use or misuse of the product.
- Product is altered, maintained, or used in a manner contrary to instructions in this manual
- After verification, the defect is directly caused by corrosive gas.
- After verification, the defects are due to improper operation during the transportation of the product;
- Operate, repair, or maintain the unit contrary to the instruction manual or related regulations.
- After verification, the problem or dispute is caused by the quality specification or performance of parts and components that are produced by other manufacturers;
- Damage is caused by natural calamities, bad use environment or force majeure.
ALL RIGHTS RESERVED
All rights reserved. No reproduction is allowed in any form without written permission from Westinghouse Outdoor Power Equipment.
DANGER
Read this manual before using or performing maintenance on this product. Failure to follow the instructions and safety precautions in this manual can result in serious injury or death.
UPDATES
The latest User Manual for your Westinghouse products can be found under our support tab. https://westinghouseoutdoorpower.com/pages/manuals
Or scan the following QR code with your smartphone camera to be directed to the link.

PRODUCT REGISTRATION
For trouble-free warranty coverage, it is important to register your Westinghouse product. You can register by:
- Completing and mailing the product registration card included in the carton.
- Registering your product on-line at: https://westinghouseoutdoorpower.com/pages/warranty-registration
- Scanning the following QR code with your smartphone camera to be directed to the mobile registration link.
- Sending the following product information to:

Westinghouse Outdoor Power
- Warranty Registration
- 777 Manor Park Drive
- Columbus, OH 43228
For Your Records
- Date of Purchase:————————
- Model Number:————————
- Serial Number:————————–
- Place of Purchase:————————
IMPORTANT: Keep your purchase receipt for trouble-free warranty coverage.
INTRODUCTION
SPECIFICATIONS
- Power Supply……………………………………..1PH/115V~/60Hz
- Current………………………………………………………………..12 A Max Operating Pressure
- High Side…………………………………….3.8 MPa (550 psi)
- Low Side……………………………………..1.6 MPa (236 psi)
- Max Allowable Pressure:……………………..5.3 MPa (725 psi)
- Refrigerant Charge…………………………..R32/390 g (13.8 oz)
- Cooling Capacity (SAAC)…………………………….8000 BTU/h
- Cooling Capacity (Room size)…………………Up to 400 sq. ft.
- Unit Dimensions……………………………..13.5 x 27.2 x13.5 in.
- Unit Weight………………………………………..25.5 kg (56.2 lbs.)
NOTICE
Thank you for choosing Westinghouse! PLEASE READ BEFORE RETURNING THIS PRODUCT FOR ANY REASON. If you have a question or experience a problem with your Westinghouse purchase, call us at 855-944-3571 to speak with an agent. SAVE THIS MANUAL FOR FUTURE REFERENCE.
SAFETY
SAFETY DEFINITIONS
The words DANGER, WARNING, CAUTION, and NOTICE are used throughout this manual to highlight important information. Make sure that the meaning of this safety information is known to all who operate, perform maintenance on, or are near the generator.
This safety alert symbol appears with most safety statements. It means attention, become alert, your safety is involved! Please read and abide by the message that follows the safety alerts symbol.
DANGER Indicates a hazardous situation that, if not avoided, will result in death or serious injury.
WARNING Indicates a hazardous situation that, if not avoided, could result in death or serious injury.
CAUTION Indicates a hazardous situation that, if not avoided, could result in minor or moderate injury.
NOTICE Indicates a situation that can cause damage to the generator, personal property, and/or the environment, or cause the equipment to operate improperly.
NOTE: Indicates a procedure, practice or condition that should be followed for the generator to function in the manner intended.
SAFETY SYMBOLS
Follow all safety information contained in this manual and on the generator.

IMPORTANT SAFETY INSTRUCTIONS
WARNING To reduce the risk of injury, the user must read and understand the instructions before using this product.
WARNING When using this product, basic precautions should always be followed, including the following:
- Before operation, please confirm whether power specification complies with that on nameplate.
- Before cleaning or maintaining the air conditioner, please turn off air conditioner and pull out the power plug.
- Ensure that the power cord is undamaged. Do not pull or drag the power cord to pull out the power plug or move the air conditioner.
- Do not insert or pull out the power cord with wet hands.
- Please use grounded power only. Make sure the grounded power source is reliable. If the supply cord is damaged, it must be replaced by the manufacturer, an authorized service center, or a similarly qualified person in order to avoid a hazard.
- Do not use this appliance if the power cord is damaged, if water or refrigerant leaks from the unit, or if the unit produces a burnt smell or unusual sound during use. Do not attempt to repair the unit. Take the air conditioner to an authorized service center or a similarly qualified person in order to avoid a hazard.
- Avoid wet conditions. Liquid entering the motor could cause a short circuit or other damage to air conditioner.
- Do not operate heating equipment around the air conditioner.
- Do not operate the unit in the bathroom or laundry room.
- Keep far away from fire, heat sources, flammable or explosive gases, and other explosive objects.
- Keep children from playing or climbing on the air conditioner. Do not put or hang dripping objects above the air conditioner. Do not repair or disassemble the air conditioner by yourself.
- Do not insert any objects into the air conditioner.
- Do not insert anything into the openings of the air conditioner. If something is inserted, unplug the unit and remove the object immediately. If the object can not be removed, take the unit to an authorized service center.
- Do not use an extension cord with this appliance.
- Maintain and service the air conditioner as described later in this manual. All other maintenance and service should be performed by the manufacturer, an authorized service center, or a similarly qualified person in order to avoid a hazard.
- If refrigerant leaks or requires discharge during installation, maintenance, or disassembly, the unit should be serviced by an authorized service center in compliance with local laws and regulations.
- Children should be supervised to ensure that they do not play with the appliance.
- During operation, close doors and windows to improve cooling effect.
- Operate the air conditioner on a smooth flat surface to reduce noise and vibration.
- This air conditioner is equipped with casters. When rolling the unit from place to place, ensure the air conditioner is fully upright and all four casters are contacting the ground.
- Do not operate the air conditioner on an incline or in any position other than upright. Tilting or tipping the unit can cause liquid to enter into electrical components. If the unit tips over, disconnect power immediately and contact customer service.
- Do not operate in direct sunshine.
REFRIGERANT WARNING
This unit uses a non-explosive flammable refrigerant gas, R32, which can be ignited by fire. The refrigerant used in this unit is fluoride R32, which is specially cleaned. The refrigerant is considered mildly flammable and has no odor. Compared to common refrigerants, R32 is a nonpolluting refrigerant with no harm to the ozonosphere. The influence upon the greenhouse effect is also lower. R32 has very good thermodynamic features and high energy efficiency. The units, therefore, need less filling.
COMPONENTS
UNDERSTANDING YOUR APPLIANCE

- A – Control Panel
- B – Guide Louver
- C – Casters
- D – Power Cord
- E – Drain Plug
- F – Remote Control
- G – Rear Filter Door
- H – Exhaust Duct
To reduce the risk of injury and product failure, read and understand the information in this user’s manual as well as the information on the product labeling.
CASTERS
The casters make it easy to move the air conditioner from one location to another.
CONTROL PANEL
Use the control panel to turn the air conditioner on and off, switch modes, select fan speeds, and set sleep timers.
DRAIN PLUG
Remove the drain plug to allow condensate water to drain freely from the unit.
EXHAUST DUCT
The exhaust duct directs warm air away from the unit and to the outside.
FILTERS
The filters protect the motor from debris and other items that can accumulate during use. Never run the air conditioner without filters in place.
GUIDE LOUVERS
Adjust the guide louvers to change the direction of the air flow.
POWER CORD
Use the grounded power cord to connect the air conditioner to an AC power supply.
REMOTE CONTROL
Use the remote control to operate the air conditioner from a distance.
ASSEMBLY
REMOVING CARTON CONTENTS WARNING
This product requires assembly. Do not attempt to operate this product if the items shown in the INCLUDED LIST are damaged or missing or if items in the list are already assembled. Using an improperly assembled product can be hazardous and could result in serious personal injury.
- Carefully open the carton.
- Remove and inspect the cartoon contents. Verify that all the items in the INCLUDED LIST are present and undamaged.
- Recycle or dispose of the packaging materials properly.
INCLUDED LIST

- A – Remote Control
- B – Exhaust Duct
- C – Exhaust Connector
- D – Cord Hook
- E – Window Clip
- F – Screw
- G – Fixed Base
- H – Rain Guard
- I – Foam Seal (Adhesive)
- J – Foam Seal (Non-adhesive)
- K – Mounting Plate
- L – Bracket
- M– Screw
- N – Fixed Clip
- O – Adjustment Panel
- P – Window Panel
- Q – Extension Panel
- R – Exhaust Cover
- S – Screen
Air Conditioner, Remote Control, Exhaust Duct, Exhaust Connector, Cord Hook, Window Clip, Screw (M4.2 x 16 mm) [3], AA Batteries (2), Fixed Base, Rain Guard, Foam Seal (Adhesive), Foam Seal (Non-adhesive), Mounting Plate, Bracket, Fixed Clip, Adjustment Panel, Window Panel, Extension Panel, Exhaust Cover, Screen and User Manual
NOTE: Some of the items in the included list are used for assembling and operating the air conditioner. Other items are needed to assemble and install the optional window vent kit.
INSTALLING CORD HOOKS

- A – Screw
- B – Cord Hoo
- Unplug the air conditioner.
- Locate the screw mounts on the back of the unit.
- Align the holes in the cord hooks with the holes in the screw mounts.
- Install screws and tighten securely.
NOTE: The top hook should be installed facing up and the bottom hook should be facing down.
ATTACHING THE EXHAUST DUCT

- A – About 24 in. (60.96 cm)
- B – About 51 in. (129.54 cm)


- A – Exhaust Connector
- B – Exhaust Duct
- C – Window Clip

- A – Groove
- B – Exhaust Duct
- C – Exhaust Connector

When installed, the exhaust duct should be as flat as possible. Do not extend the pipe or connect it with another exhaust duct.
The length of the exhaust duct is less than 40 inches. Keep the length as short as possible.
- Unplug the air conditioner.
- Place the exhaust connector on one end of the exhaust duct and turn clockwise to secure.
- Place the window clip on the opposite end of the exhaust duct and turn clockwise to secure.
- Locate the exhaust vent on the backside of the unit.
- Slide the exhaust connector into the grooves on either side of the exhaust vent.
- Route the other end of the exhaust duct outdoors.
NOTE: To vent heat through a window, install the window vent kit as described in the next section.
To remove the exhaust duct
- Unplug the air conditioner.
- Slide the exhaust connector on the exhaust duct up and away from the air conditioner unit.
- If applicable, slide the window clip on the exhaust duct off of the screen on the window panel.
INSTALLING THE WINDOW VENT KIT

- A – Foam Seal (Adhesive)
- B – Width

- A – Foam Seal (Adhesive)
- B – Height

- A – Window Panel
- B – Screen

- A – Window Panel
- B – Exhaust Cover

- A – Fixed Base
- B – Window Panel

- A – Window Panel
- B – Rain Guard

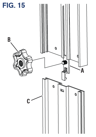
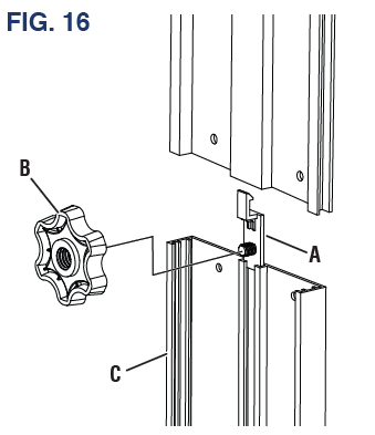
- A – Fixed Clip
- B – Mounting Plate
- C – Adjustment Panel

- A – Fixed Clip
- B – Mounting Plate
- C – Extension Pane

- A – Window Panel

- A – Window Panel

- A – Foam Seal (Non-adhesive)

- A – Bracket

- A – Exhaust Duct
- B – Window Panel

- A – Exhaust Duct
- B – Window Panel
The following tools are recommended for installation but are not included with the product: screwdriver (medium size Phillips, tape measure or ruler, knife or scissors, saw.
NOTE: If a window is too narrow for direct installation, a saw may be needed to cut the window panel to an appropriate size.
- Unplug the air conditioner.
- Open the window and measure the width or height inside the window frame.
- Cut the foam seal (adhesive type) to the proper length and attach it to your horizontal (or vertical) sliding window.
- Insert the screen into the back of the window panel. Firmly press the screen into the window panel to ensure it is installed securely
NOTE: The screen is designed to allow heat to escape while preventing large bugs, such as moths, from entering. - Slide the exhaust cover into the grooves on the window panel.
- Insert a fixed base into the end of the window panel closest to the screen. Make sure the fixed base is fully seated. If necessary, slide the exhaust cover down.
- Attach the rain guards to the screen by inserting the tabs on the rain guards into the holes on the screen.
NOTE: The window panel can be installed vertically and horizontally. Refer to figure 14 for the correct orientation of the rain guards for vertical and horizontal installation. - The window panel can be modified to fit different-sized windows that open vertically or horizontally up to 65 in.
- If the window opening is less than 30 in. for direct installation, use a saw to cut the window panel to the appropriate size.
- If the window opening is larger than the window panel (30 in.), use adjustment panels and/or extension panels. Secure additional panels to the window panel using fixed clips and mounting plates.
- Insert the remaining fixed base into the end of the window panel assembly.
- Install the window panel assembly into the window frame. Make sure that the exhaust cover is attached to the window panel.
- Stuff the foam seal (non-adhesive type) between the glass and the window to prevent air and insects from getting into the room.
- If desired, attach a bracket agains the edge of the window to prevent it from moving.
- Slide the exhaust cover up to expose the screen.
- Connect the exhaust duct to the screen.
NOTE: When the exhaust duct is disconnected, slide the exhaust cover over the screen.
OPERATION
WARNING Routing the power cord in high-traffic areas or hiding it beneath rugs and carpets can create a tripping hazard.
WARNING Do not tip or tilt the appliance during use or when changing locations. Tilting the unit could cause liquid to spill which could result in electric shock, a slippery surface, or property damage.
WARNING When operating or moving the air conditioner, ensure that the drain plug is securely in place. Liquid spilling or leaking from the unit could result in electric shock, a slippery surface, or property damage.
SELECTING A SUITABLE LOCATION

- A – 12 in. (30 cm)
Use the following guidelines to select a location for the unit:
- The air conditioner must be operated within 61°F (16°C) and 95°F (35°C).
- The appliance is for indoor use only.
- The appliance must be positioned so that a grounded outlet is accessible.
- This air conditioner is intended for home use only.
- Do not operate the air conditioner in a humid environment.
- Please keep air inlet and air outlet clean, no obstacles.
- Reserved space around the air conditioner: 30cm (12 in.)
OPERATING THE AIR CONDITIONER

- A – 120V Grounded Outlet
- B – Grounded Plug

- A – Timer Button
- B – Fan Speed Button
- C – Increase/Decrease Buttons
- D – Mode Button
- E – On/Off Button
- F – Display

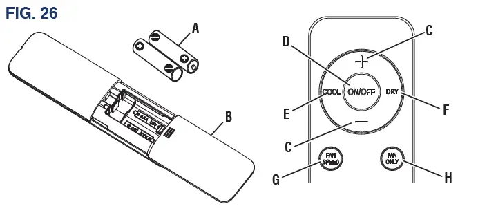
- A – Batteries
- B – Battery Cover
- C – Increase/Decrease Buttons
- D – On/Off Button
- E – Cool Mode
- F – Dry Mode
- G – Fan Speed Button
- H – Fan Only Button

- Place the air conditioner in a suitable location.
- Plug the air conditioner into a grounded outlet.
NOTE: The power supply should be 120 V, AC only (normal household current), 60 Hz. - Use the control panel or remote control to turn the air conditioner on, choose modes, or set timers. Refer to Using the Control Panel and Using the Remote Control later in this section.
NOTE: When the air conditioner is on, the digital display on the control panel will illuminate. - The distribution and direction of air flow can be adjusted by moving the louvers up and down.
- When you are finished, use the control panel or remote control to turn the air conditioner off.
USING THE CONTROL PANEL
Use the control panel to turn the air conditioner on and off, switch modes, select fan speeds, and set sleep timers.
Increase/Decrease Buttons
Press the increase/decrease buttons (“+” or “-”) to change the temperature in cool mode and adjust timer settings.
Display
Shows the set temperature in cooling mode.
Cool Mode Indicator
When the cool mode indicator above the mode button is lit, the unit is operating in cool mode. In this mode, the fan and the compressor run at the same time. The display will show the set temperature.
NOTE: In cool mode, the temperature can be set between 61°F (16°C) and 86°F (30°C).
Dry Mode Indicator
When the dry mode indicator above the mode button is lit, the unit is operating in dry mode. In this mode, the unit acts as a humidifier removing moisture from the air. The display will be blank.
Fan Mode Indicator
When the fan mode indicator above the mode button is lit, the unit is operating In this mode, the fan runs but the compressor does not. The display will be blank.
Mode Button
Press the mode button to cycle between Cool, Dry and Fan modes.
Timer Button (Timer Mode)
Use the timer button to turn the air conditioner on at a certain time. For instance, the air conditioner can be set to begin cooling in five hours. To schedule cooling, put the air conditioner in cool mode and select a temperature. Press the timer button, then use the increase/decrease buttons (“+” or “-”) to adjust the timer setting by 30 minutes (up to 10 hours). Once your desired time is selected, wait five seconds for the input to be accepted. The timer LED above the timer button will light up indicating that the unit is in timer mode. At the selected time, the unit will begin scheduled cooling.
Timer Button (Sleep Mode)
To conserve energy, the air conditioner can be programmed to gradually decrease cooling during sleeping hours. Press and hold the timer button for three seconds to enter into sleep mode. The sleep LED above the timer button will light up indicating that the unit is in sleep mode. In sleep mode, the preset temperature will increase by 2°F (1°C) within one hour and 4°F (2°C) within two hours. After the second hour, the unit will operate at the elevated temperature.
NOTE: The sleep function is not available in fan mode or dry mode.
On/Off Button
Use this button to turn the air conditioner on or off.
Fan Button
Press the fan button to cycle between low and high speeds.
Fan Speed Indicators
The indicators above the fan button show indicate fan speed.
ADDING/REPLACING REMOTE BATTERIES
- Slide the battery cover off of the remote control.
- Install new AAA batteires (1.5V) into the remote control according to their polarity.
- Replace the battery cover.
USING THE REMOTE CONTROLLER
Use the remote control to operate the air conditioner from a distance.
Fan Speed Button
Press the fan speed button to cycle between low and high speeds.
Fan Only Button
Press the fan only button to run the air conditioner in fan mode. In this mode, the fan runs but the compressor does not.
Cool Button
Press the cool button to run the air conditioner in cool mode. In this mode, the fan runs but the compressor does not.
Dry Button
Press the dry button to run the air conditioner in dry mode. In this mode, the unit acts as a humidifier removing moisture from the air.
On/Off Button
Use this button to turn the air conditioner on or off.
Increase/Decrease Buttons
Press the increase/decrease buttons (“+” or “-”) to change the temperature in cool mode and adjust timer or sleeper settings.
CARE AND MAINTENANCE
WARNING ELECTRIC SHOCK HAZARDS Before cleaning maintaning the air conditioner, turn off the unit and disconnect power. Do not spray or splash water or other liquids onto the unit; this may cause electric shock. Do not use corrosive detergents to clean the appliance; this may damage the plastic components, and cause electric shock.
Do not use volatile liquids (such as paint thinner or gas) to clean the air conditioner. This may damage the appearance of air conditioner
CLEANING OUTER CASE AND GRILLE

If there’s dust on the surface of outer case, use a soft towel to wipe it. If the outer case is very dirty or greasy, use a soft cloth dampened with mild detergent and water. Do NOT allow water to drip in to the unit. Use cleaner or soft brush to clean the grille.
CLEANING THE AIR FILTERS

- A – Rear Filter Door
- B – Filter

- A – Filter

- A – Rear Filter Door
- B – Filter
NOTICE The filters should be cleaned once every three months. Clean the filters more frequently if the unit is used in dusty environments. Dirty air filters reduce air flow, decrease unit efficiency, and could prevent the unit from working properly. The air conditioner has two air filters. One filter is accessible from the exhaust side and the other is accessible from the opposite side. The steps for removing and cleaning both filters are the same.
- Unplug the air conditioner.
- Open and remove the rear filter door.
- Slide the filter away from the air conditioner unit.
- Rinse the rear filter door and filter with water to clean. If the filter is very dirty, clean it with warm water and a mild detergent. Do not use harsh chemicals or hot water.
NOTE: Allow the filter to dry completely before placing it back in the unit.
NOTICE Allow filters to air dry. Do not attempt to dry filters with fire or forced air. Doing so could warp the frame of the filter or create a fire hazard.
- Replace the filter and filter door.
CLEANING THE EXHAUST DUCT
- Unplug the air conditioner.
- Remove the exhaust duct from the air conditoner and window panel as described earlier in the Assembly sectoin.
- Clean the exhaust duct with warm water and a mild detergent.
- Allow the exhaust duct to dry and then reinstall.
DRAINING COLLECTED WATER

- A – Drain Plug
When too much water has built up inside the unit, the air conditoner will buzz eight times and the display will show “H8”.
To drain the chasis
- Unplug the air conditioner.
- Move the unit to an suitable location for draining.
- Remove the drain plug and allow the water to drain.
NOTE: Do not tilt the unit. Keep it vertical while moving and draining. - Reinstall the drain plug.
WARNING Be careful not to spill drain water and make sure the drain plug is completley in place before resuming operation. Liquid spilling or leaking from the unit could result in electric shock, a slippery surface, or property damage.
MAINTENANCE CHECK LIST
Before Use-Season
- Unplug the air conditioner.
- Ensure that air inlets and air outlets are not blocked.
- Verify that the power cord and desired outlet are in good condition.
- Make sure the air filters are clean.
- Make sure the remote control batteries are installed and in good condition.
- Ensure that exhaust duct and window vent kit (if applicable) is installed securely.
- Verify that exhaust duct is in good condition.
After Use-Season
- Unplug the air conditioner.
- Clean outer case, grille, and air filters.
- Drain the chasis.
- Verify that the window panel assembly is in good condition. If the window panel assembly is damaged contact customer service.
LONG-TERM STORAGE
If you don’t use the air conditioner for a long time, please maintain it by following steps for good performance:
- Unplug the air conditioner.
- Drain the chasis.
- Wrap the cord around the cord hooks.
- Clean the air conditioner and pack it well to prevent dust.
NOTICE FOR RECOVERY - Many of the items included with the packing materials are recyclable. Please recycle or dispose of these materials properly.
ACCESSORIES
WARNING
Use only recommended or equivalent replacement parts. Using an incorrect or incompatible part might create a hazard that could result in serious personal injury.
These accessories available for purchase. Contact Westinghouse customer service toll-free at 1 (855) 944-3571.
Filter……………………………………………………………………………………………………………………………………………….111001060343
Charcoal Filter Insert1………………………………………………………………………………………………………………………………11126072
- The charcoal filter insert is designed to fit in the center of the filter. See figure 33.

- A – Charcoal Filter Insert (Not Included)
- B – Filter
TROUBLESHOOTING
ERROR CODES
WARNING Do not use this appliance if the power cord is damaged, if water or refrigerant leaks from the unit, or if the unit produces a burnt smell or unusual sound during use. Do not attempt to repair the unit. Take the air conditioner to an authorized service center or a similarly qualified person in order to avoid a hazard.


WARRANTY
WESTINGHOUSE OUTDOOR POWER EQUIPMENT, LLC’S RESPONSIBILITY
Westinghouse Outdoor Power Equipment, LLC warrants to the original purchaser that its Westinghouse Outdoor Power Equipment, LLC line of portable air conditioners will be free from defects in material and workmanship. Under normal use and maintenance from the date of purchase, Westinghouse Outdoor Power Equipment, LLC agrees to repair or replace at Westinghouse Outdoor Power Equipment, LLC discretion, any defective product free of charge at any authorized Westinghouse Outdoor Power Equipment, LLC Authorized Service Dealer within the below listed applications, time periods, limitations, and exclusions. THIS LIMITED WARRANTY IS EXTENDED TO THE ORIGINAL PURCHASER ONLY AND IS NOT TRANSFERABLE TO SUBSEQUENT OWNERS. For a list of Westinghouse Outdoor Power Equipment, LLC Authorized Service Dealers refer to www.wpowereq.com or call 1-855-944-3571.
OWNER’S RESPONSIBILITY
To ensure trouble free warranty coverage it is important that you register your Westinghouse Outdoor Power Equipment, LLC portable air conditioner. You may register on-line at www.wpowereq.com, by automated phone at 1-855-944-3571, or by filling out and returning to Westinghouse Outdoor Power Equipment, LLC the warranty registration card supplied with your portable air conditioner. Registering your product confirms your warranty coverage and provides a direct link between you and Westinghouse Outdoor Power Equipment, LLC if we find it necessary to contact you. Your receipt for purchase including date, model and serial number must be maintained and presented to a Westinghouse Outdoor Power Equipment, LLC Authorized Service Dealer for warranty service. Proof of purchase rests solely with you, the original purchaser. You must demonstrate reasonable care and use and follow maintenance and storage guidelines prescribed in the operator’s manual for your Westinghouse Outdoor Power Equipment, LLC unit. Should a product difficulty occur, you must, at your expense, deliver or ship your Westinghouse Outdoor Power Equipment, LLC unit to an Authorized Service Dealer for warranty repairs (which must occur within the applicable warranty period), and arrange for pick-up or return of your unit after the repairs have been made. For the Westinghouse Outdoor Power Equipment, LLC Authorized Service Dealer nearest to you, call Westinghouse Outdoor Power Equipment, LLC’s automated phone at 1-855-944-3571 or may locate a Westinghouse Outdoor Power Equipment, LLC Authorized Service Dealer at www.wpowereq.com Should you require assistance or have questions concerning Westinghouse’s Outdoor Power Equipment, LLC Warranty Statement, you can contact us through the web at www.wpowereq.com or call 1-855-944-3571.
PRODUCT WARRANTY APPLICATIONS & PRODUCT WARRANTY PERIODS CONSUMER APPLICATION
For the purpose of the limited warranty “Consumer Application” means use by the original purchaser for the purpose of personal residential household or recreational use.
Warranty: 1 year (12 months) for labor/1 year (12 months) for parts (manufacturing defects only)/and a total of 5 years (60 months) for compressor part only.
Westinghouse Outdoor Power Equipment, LLC may, at its discretion, replace the defective product with either a new or remanufactured unit equivalent to your original purchase during the warranty period. If proof of purchase is not available to establish the purchase date nor is the equipment registered as suggested herein, the date of manufacturing as recorded by Westinghouse Outdoor Power Equipment, LLC will start the product warranty period.
EXCLUSIONS
Westinghouse Portable Air Conditioners that use non-Westinghouse replacement parts. Costs of normal maintenance and adjustments. Repairs or diagnostics performed by individuals other than Westinghouse Outdoor Power Equipment, LLC Authorized Dealers not authorized in writing by Westinghouse. Products that have been purchased as refurbished, like new, or second-hand. Failures caused by any external cause, including but not limited to, collision, theft, vandalism, riot, war, fire, freezing, lightning, earthquake, windstorm, hail, water, flood, tornado, or hurricane.Damage related to rodent and/or insect infestation. Failure as a result of improper installation and usage as described in the User’s Manual. Products that are modified or altered in a manner not authorized in writing by Westinghouse Outdoor Power Equipment, LLC. Any incidental, consequential or indirect damages caused by defects in materials or workmanship, or any delay in repair or replacement of the defective part(s). Failure due to misapplication. Telephone, cellular phone, facsimile, internet access, or other communication expenses. Expenses related to “customer instruction” or troubleshooting where no manufacturing defect is found.
Overnight freight or special shipping costs for replacement parts(s). Overtime, holiday or emergency labor.
DISCLAIMER OF IMPLIED WARRANTIES
This limited warranty is in lieu of all other expressed or implied warranties, including any warranty of FITNESS FOR A PARTICULAR PURPOSE OR USE and any implied warranty MERCHANTABILITY otherwise applicable to Westinghouse Outdoor Power Equipment, LLC’s line of Westinghouse’s line of Portable Air Conditioners and its affiliated companies shall not be liable for any special, incidental or consequential damage, including lost profits. There are no warranties extended other than as provided herein. This limited warranty may be modified only by Westinghouse Outdoor Power Equipment, LLC. Any implied warranties allowed by law shall be limited in duration to the terms of the express warranty provided herein. Some states do not allow the exclusion or limitation of incidental or consequential damages, so the above limitation may not apply to you. This warranty gives you specific legal rights. You also have other rights from state to state. Westinghouse Outdoor Power Equipment, LLC’S ONLY LIABILITY SHALL BE THE REPAIR OR REPLACEMENT AS STATED ABOVE. IN NO EVENT SHALL WESTINGHOUSE BE LIABLE FOR ANY INCIDENTAL OR CONSEQUENTIAL DAMAGES, EVEN IF SUCH DAMAGES ARE A DIRECT RESULT OF Westinghouse Outdoor Power Equipment, LLC’S NEGLIGENCE. Some states do not allow the exclusion or limitation of incidental or consequential damages, so the above limitation may not apply to you. This warranty gives you specific legal rights and you may also have other rights from state to state. This limited warranty is given by Westinghouse Outdoor Power Equipment LLC (777 Manor Park Drive, Columbus, OH 43228).
DISCLAIMERS
All information, illustrations, and specifications in this manual were in effect at the time of publishing. The illustrations used in this manual are intended as representative reference views only. We reserve the right to make any specification or design change without notice.
Service Hotline: (855) 944-3571
- 777 Manor Park Drive
- Columbus, OH 43228
- IM & © 2021 Westinghouse Electric Corporation
- © 2021 Westinghouse Outdoor Power Equipment, LLC All Rights Reserved.



















