
INSTRUCTION MANUAL
42963424
RED/BLACK
[KMT081]
5107_MAN_42963424_W21_Earphones_AHB03_v5
Artwork Proof Date: 09.09.2020
Number of artboards:1
PAPER:
80gsm
Bright white uncoated paper
PRINT COLOURS:

PRINT FINISH:
Single-Sided
CHANGE LOG CREST INTERNAL USE ONLY
| ARTWORK SHOULD NOT BE AMENDED WITHOUT PRIOR AGREEMENT FROM CREST. ALL ARTWORK MUST BE APPROVED BY CREST PRIOR TO MASS PRODUCTION. IF THERE ARE QUERIES ABOUT THIS ARTWORK PLEASE CONTACT: EMAIL: designfacrest.com.au THANK-YOU. |
Thank you for choosing our Anko headphones/earphones.
We hope you enjoy using it.
This headphone/earphone has an in-line microphone and music control function along with a call answering function that will work on most IOS and Android devices.
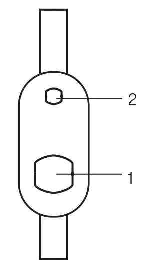
Overview:
- Call answer and music control button
- Microphone
*The position of the call answer button and microphone position is for illustration purposes only; the exact positions in different models may vary slightly.
How to use the In-line control functions:
A. Call answer

Answer call with the headphone/earphone connected to your device via the 3.5mm headphone socket.
Note: If you wish to make a call using the in-line microphone function the microphone will automatically activate whilst the headphone/earphone is connected to your device via the 3.5mm socket.
| Function | Operation |
| Call Answer | Press the call answer/music control button to answer calls on your device |
| Hang Up | During the call, press the call answer/music control button to mute/unmute the microphone, press and hold the button for approx. 1 second to end the phone call |
B. Music Control Function
Control your music with the headphone/earphone connected to your device via the 3.5mm headphone socket.
| Function | Operation |
| Pause Music | Press the call answer/music control button once to pause music Press the call answer/music control button once to resume music |
| Skip Track Forward | Press the call answer/music control button twice in quick succession to skip track forward |
| Skip Track Backwards | Press the call answer/music control button 3 times in quick succession to skip track backwards |
WARNING > Do not dispose of the unit in fire or water. ) Never attempt to disassemble and reassemble. Waste electrical products should not be disposed of with household waste, please recycle where facilities exist. Check with your local authority for recycling advice. ) Keep your device and all accessories out of the reach of children and animals. Small parts may cause choking or serious injury if swallowed. ) Avoid exposing your device to very cold or very hot temperatures (below 0°C or above 45°C). > Extreme temperatures can cause deforming of the device and reduce the charging capacity and life of your device. ) Do not allow your device to get wet—liquids can cause serious damage. Do not handle your device with wet hands.
5107/5
© The Crest company 2020. All rights reserved


















