anko 42963424 Headphone and Earphone
Thank you for choosing our Anko headphones/earphones. We hope you enjoy using it.
This headphone/earphone has an in-line microphone and music control function along with a call answering function that will work on most 10S and Android devices.
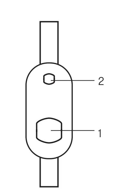
Overview:
- Call answer and music control button
- Microphone
*The position of the call answer button and microphone position are for illustration purpose only; the exact positions in different models may vary slightly.
How to use the In-line control functions:
A. Call answer
Answer call with the headphone/earphone connected to your device via the 3.5mm headphone socket.
Note: If you wish to make a call using the in-line microphone function the microphone will automatically activate whilst the headphone/earphone is connected to your device via the 3.5mm socket.
Function Operation
- Call Answer: Press the call answer/music control button to answer calls on your device
- Hang Up: During the call, press the call answer/music control button to mute/unmute the microphone, press and hold the button for approx. 1 second to end the phone call
B. Music Control Function
Control your music with the headphone/earphone connected to your device via the 3.5mm headphone socket.
Function Operation
- Pause Music: Press the call answer/music control button once to pause music Press the call answer/music control button once to resume music
- Skip Track Forward: Press the call answer/music control button twice in quick succession to skip track forward
- Skip Track Backwards: Press the call answer/music control button 3 times in quick succession to skip track backwards

5107 _MAN_ 42963424_ W21 _Earphones_AH B03_ vs
Artwork Proof Date: 09.09.2020
Number of artboards:1
PAPER:
80gsm
Bright white uncoated paper
PRINT COLOURS:
C:0M:0
Y:0 K:100
ARTWORK SHOULD NOT BE AMENDED WITHOUT PRIOR AGREEMENT FROM CREST. ALL ARTWORK MlJSI BE APPROVED BY CREST PRIOR TO MASS PRODUCTION.
IF THERE ARE QUERIES ABOUT THIS ARTWORK PLEASE CONTACT:
EMAIL: [email protected]
THANK-YOU.





















