Sports Earhook Earphone
Operating instructions

Includes:
- Sports Earhook Earphone
- Wire clip
- S/M/L size ear tips
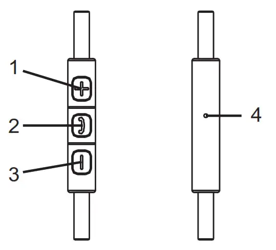
Function overview:
- Volume up
- Call answer and music control button
- Volume down
- Microphone

How to use the In-line control functions:
A. Volume Control
With the headphone/earphone connected to your device via the 3.5mm headphone socket.
Function: Operation
Adjust Volume: Up Short press the volume up button until the desired volume level is achieved.
Adjust Volume: Down Short press the volume down button until the desired volume level is achieved.
B. Call answer
With the headphone/earphone connected to your device via the 3.5mm headphone socket.
Note: If you wish to make a call using the in-line microphone function the microphone will automatically activate whilst the headphone/earphone is connected to your device via the 3.5mm socket.
Function: Operation
Call Answer: 1 press the call answer/music control button to answer calls on your device
Hang Up: 1 press the call answer/music control button to hang up your phone call
Reject Call: 2 press the call answer/music control button to reject your phone call
C. Music Control Function
With the headphone/earphone connected to your device via the 3.5mm headphone socket.
Function: Operation
Pause Music:: 1 press the call answer/music control button once to pause the music
Play Music: 1 press the call answer/music control button once to resume music
Specification:
Model No.: 43023424 20
Frequency response: 20-20khz
Driver unit: 8.45mm
Cord length: 1.2m
Impedance: 16ohm
Plug: L-shape 3.5mm plug
Sensitivity: 92±3dB S.P.L At 1khz
12-month warranty
Thank you for your purchase from Kmart.
Kmart Australia Ltd warrants your new product to be free from defects in materials and workmanship for the period stated above, from the date of purchase, provided that the product is used in accordance with the accompanying recommendations or instructions where provided. This warranty is in addition to your rights under the Australian Consumer Law.
Kmart will provide you with your choice of a refund, repair or exchange (where possible) for this product if it becomes defective within the warranty period. Kmart will bear the reasonable expense of claiming the warranty. This warranty will no longer apply where the defect is a result of alteration, accident, misuse, abuse, or neglect.
Please retain your receipt as proof of purchase and contact our Customer Service Centre on 1800 124 125 (Australia) or 0800 945 995
(New Zealand) or alternatively, via Customer Help at kmart.com.au for any difficulties with your product. Warranty claims and claims for expenses incurred in returning this product can be addressed to our Customer Service Centre at 690 Springvale Rd, Mulgrave Vic 3170.
Our goods come with guarantees that cannot be excluded under the Australian Consumer Law. You are entitled to a replacement or refund for a major failure and compensation for any other reasonably foreseeable loss or damage. You are also entitled to have the goods repaired or replaced if the goods fail to be of acceptable quality and the failure does not amount to a major failure.
For New Zealand customers, this warranty is in addition to statutory rights observed under New Zealand legislation.
WARNING
- Do not dispose of units in fire or water.
- Never attempt to disassemble and reassemble.
- Waste electrical products should not be disposed of with household waste, please recycle where facilities exist.
- Check with your local authority for recycling advice.
- Keep your device and all accessories out of the reach of children and animals.
- Small parts may cause choking or serious injury if swallowed.
- Avoid exposing your device to very cold or very hot temperatures (below 0°C or above 45°C).
- Extreme temperatures can cause deforming of the device and reduce the charging capacity and life of your device.
- Do not allow your device to get wet—liquids can cause serious damage.
- Do not handle your device with wet hands.


















