iBELL IBL AERO 3BGH Hob 3 Burner Glass Top Gas Stove

MODEL NUMBER
IBLAERO 3BGH IBL4H 555GH IBL 3H 490GH IBL4H 590GH

Caution: If the burner cap becomes misaligned, the gas shut off and replace it properly. Wait at least I. min before attempt to re-regnite.
gas burner with “duo control
How to Keep Your Cooktop in Shape Caution: Before cle,aning or performing maintenance on your appliance, disconnect it from the electTical power supply.
To extend the life of the cooktop, it should be cleaned thoroughly on a frequent basis. Don’ t use the steam equipment to clean the appliance.

- copper burner
- Cast iron trivet
- Knob
- Ignition plug.
How to use the appliance
The position of corresponding gas burner or electric hot plate is indicated on each knob.
Gas Burner
Select the proper the burner according to the boiler diameter and cooking methods.
The burner can be regulated with the corresponding control knob by using the below setting.

- To light the selected burner, first press the corresponding knob fully, turn it anticlockwise to the symbol ” 0″ and keep the kno.b pressed down until the burner ignites for approximately 2-3 seconds to heated up the safety device “F” .
- For the low flame, just turn the knob to the symbol “‘l”.
The removable parts of the burners should. be washed frequently with water and soap, making sure to remove. caked-on substances.
On cooktops with automatic ignition, the end of the electronic ignition device must be cleaned carefully and frequently, making sure that the gas holes are not clogged:
Stainless steel can be stained if it remains in contact with highly calcareous water or aggressive detergents (containing phosphorous ) for extended period of time. It is recommended that these parts be rinsed thoroughly with water and then dried well, it is also a good idea to clean up any spill.
Using wrong cleaning wool pads or unsuitable chemicals may cause damage to stainless steel surfaces that cannot be repaired.
Practical Advice
Practical Advise on using the burners
For the best performance, follow these general guidelines:
- Use the appropriate cookware for each burner(see table)in order to prevent the flame from reaching the sides of the pot or pan:
- Always use cookware with a Oat bottom and keep the lid on:
- When the contents come to a boil, turn the knob to “Low”.

Is there a problem?
It may occur that the cooktop does not function or does not function properly. Before calling customer service for assistance, let’ s see what can be done. First of all, check to see that there are no interruptions in the gas and electrical supplies, and in particular, that the gas values for the mains are open.
The burner does not light or the name is not uniform around the burner.
Check to sure that:
- The gas holes on the burner are not clogged:
- All of the movable parts that make up the burner are not mounted correctly;
- There are no draughts around the cooking surface.
- The flame does not stay lighted on the model with the safety device.
- You press the knob all the way in:
- You keep the knob pressed in long enough to activate the safety device(2-3 seconds).
- The gas boles are not clogged in the area corresponding to the safety device.
- The burner does n.ot remain on when sets to “Low”.
- Check the make sure that:
- The gas holes are not clogged.
- There are no draughts around the cooking surface.
- The cookware is not stable.
- Check to make sure that:
- The bottom of the cookware is perfectly flat.
- The cookware is centered correctly on the burner or electri.c b.ot plate.
- The support grids have not been inverted.
- If, despite all of these checks, the cooktop does not function properly and problem persist, call the nearest service centre informing them of:
The type of problem.
The abbreviation used to identify the model number on the warranty.
Caution: Never call upon technicians not authorized by the manufacturer, and refuse to accept spare parts that are not original.
Safety Is a Good Habit to Get Into
To maintain the EFFICrENCY and SAFE.TY OF this appliance, we recommend
- caU only the service centers authorized by the manufacturer
- always use original spare parts
- This manual is for a class 3 built-in cook top.
- This appliance is designed for non-professional use in the home and it’ s features and technical characteristics must not be modified.
- The electrical system of this appliance is safe only when it is correctly connected to an adequate system, as required by current safety standards.
Prevent children and the disabled from coming into contact or having access to the following ,as they are possible sources of danger
- The controls and the appliance in general.
- The packing (plastic bags, polystyrene, nail, etc.)
- The appliance during and immediately after use given the heat generated by its use.
Take careful note:
- Do not touch the appliance with wet parts of the body;
- Do not obstruct the ventilation or b.eat dissipation slots;
- Do not allowed the power supply cord of small appliances to come into contact with the bot parts of the cooktop;
- Use the appliance indoors only.
- Do uot leave the electric hobs on without cookware on top of them.
The assistance if qualified personal must be called upon in the following cases
- Installation ( in accordance with the manufacture’ s instruction);
- When in doubt about the operation of the
appliance;
- Replacement of the electrical outlet because it is incompatible with the plug.
- Contact service centers authorized by the manufacturer in the following cases:
- When in doubt about the condition of the appliance after having removed the packing;
- Damage to or replacement of the power supply cord;
- In the case of a breakdown or malfunction: ask for original spare parts.
- The manufacturer will not be held liable for any improper, incorrect or unreasonable use.
Installation instruction for built-in
The following instructions are directed at the qualified installer so that the installation and maintenance procedures may be following in the most professional and expert manner possible.
Important: Unplug the electrical connection before performing any maintenance or regulation upkeep work.
Important: This unit may be installed and used only on permanently ventilated rooms.
The following requirements must be observed:
a)The room must be fitted with a ventilation system which vents smoke and gases from combustion to the outside. This must be done by means of a hood or electric ventilator that turns on automatically each time the hood is operated.

b) The room must also allow for the influx of the air needed for proper combustion, the flow of air for combustion purpose must not be less than 2m’/h per kw of installed capacity. The supply of said air can be effected by means of direct influx from the outside though a duct with a inner cross section of at least 100cm’ which must not be able to accidentally blocked. Those appliances which are not fitted with a safety device to prevent the flame from accidentally going out must have a ventilation opening twice the size otherwise required i.e. aluminium of 200cm’ (Fig.A.)
Otherwise, the room can be vented indirectly through adjacent rooms fitted with ventilation ducts to the outside as described above, as Jong as the adjacent rooms are not shared areas, bed

c) Intensive and prolonged use of the appliance may necessitate supplemental ventilation, e. g. opening a window. or increasing the power of the air intake system (if present).
d) Liquified petroleum gases are heavier than air and, as a result, settle downwards. Rooms in which LPG tanks are installed must be fitted with LPG tanks are installed in order to allow the gas to escape in the event of a leak. Therefore, LPG tanks, whether empty or partially fully, must not be installed or stored in rooms or spaces below ground level (cellars, etc.).
It is also a good idea to keep only the tank currently being used in the room, making sure that it is not near sources of heat ( ovens, fireplaces, stove, etc.) that could raise the internal temperature of the tank above 50″C.
Installation of built-in stove tops
The appliance can be installed next to furniture units which are no taller than the top of the cooker hob. the wall in direct contact with the back panel of the cooker must be made of non-flammable material. During operation the back panel of the cooker could reach a temperature of 50″C above room temperature. For proper installation of the cooker, the following precautions must be taken:
a) The hob may be located in a kitchen, a kitchen, kitchenette, dinner, bed or sitting room, but not in a bathroom or shower room.
b) The furniture standing next to the unit, that is higher than the working boards, must be placed at least 600mm from the edge of the board.
c) The cabinets should be positioned next to the
hood at a height of at least 420mm (Fig. C). 
d) Should the hob be installed directly under a cupboard, the latter should be at least 700mm (millimeters) from the workshop, as shown in Fig. C.
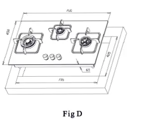
e) The dimensions of the room for furniture must
be those indicated in the figures in the last two pages of the cover. Fixing hooks are provided which allow to place the hob plate on work tops that measures from 20mm tc 40mm is thickness (see Fig. D.). To obtain a good fixing of the hob plate it is advisable to use all the hooks supplied. 


The hob can only be installed above builtin ovens provided with cooling ventilation.
f) In the event the cooktop is not installed above a built-in oven, a wood panel must be inserted as insulation.
g) This panel must be placed at least 20mm from the bottom of the cooktop itself.
Important: when installing the hob above a built-in oven, the oven should be placed on two wooden strips; in the case of a jointing cabinet surface, remember to leave a space if at least 45×560 mm at the back. (as shown in Fig. E.) 
Gas connection for gas hob
The cooker should be connected to the gas supply by a registered installer. During installation if this product it is essential lo fit an approved gas tap it isolate the supply from the appliance for the convenience of any subsequent removal or servicing. Connection oTthe appliance to the gas mains or liquid gas must be carried out according to the prescribed regulation in force, and only after it is ascertained that it is acceptable to the type of gas to be used, if not follow the instructions indicated in the paragraph beaded “Adaptation to different gas types” , In the case if connection to liquid gas, by tank, use pressure regulations that conform to the regulation in force.
Important: for safety, for the correct regulation of gas use and long life of the appliance, ensure that the gas pressure conforms to the indications given in table
Nozzle and burner characteristics” Connection to Non-flexible tu be
( copper or steel)
Connection to the gas source must be done in such a way as 10 not create any stress points at any part oftbe appliance.
The appliance is fitted with an adjustable, “L” shaped connector and a gasket for the attachment to the gas supply, should this connector have 10 be turned, the gasket must be replaced (supply with the appliance).
The feeding connector of the gas to the appliance is threaded 1/2″ gas male cylinder. Connection to flexible steel tube
The gas feed connector to the appliance is a threaded, male 112″ connector for round gas pipe. only use pipes and scaling gaskets that conform to the standards currently in force. the maximum length of the nexihle pipes must not exceed 2000mm. once the connection has been made, ensure that the flexible metal tube does not touch any moving parts and is not crushed.
Check the seal
Once the appliance has been installed make sure all the connections arc properly scaled, using a soapy water solutio1.1. never use a flame.
Electri.cal connection
The cooktops fitted with a tripolar electrical supply cord are designed to be used with alternating current according to the indications on the rating plate located under the cooktop, the earthing wire can be identified by its yellow-green col.our.
Io the case of installation over a built-in electric oven.
The electrical connections for the cooktop and oven should be independent, aot·only for safety purposes, but also to facilitate removal of one or both in the future.
- The fuse and electrical sytem can withstand the load required by the appliance.
- Thal the electrical supply system is equipped with an efficient earth hood-up according to the norms and regulations prescribed by law.
- That the plug and switch arc easily accessible.
Caution: The wire.s in the mains lead are colored in accordance with the following code:
Blue – Neutral
Brown – Live
Green & yellow – barth
As the colors oflhe wires in the mains lead may not correspond with colored markings identifying the terminals in your plug, proceed as follows:
Fit the supply cord with a standard plug for the demand rate indicated on the rating plate or connect it directly to the electrical mains. In the later case, a single pole switch must be placed between the contacts of 3mm in compliance with current safety codcs(tbc earthing wire must not be interrupted by the switch).The power supply cord mus I be positioned so that it does not reach a temperature in excess of 50’C above room temperature at any point.
Before actual connection make sure that:
- Connect the green & yellow wire to terminal marked “E” or colored green & yellow.
- Connect the brown wire to the terminal ma.rked “L” or colored red.
- Connect the blue wire to the terminal marked “N” or colored black.
- Adapting the Cook top for Different Types of Gas To adapt the cook1op to a different type of gas than that for which it was designed(see the sticker under the bob or on the packaging), the burner nozzles must be changed as follows:
- Remove the pan supports and slide the burners out of the cooktop:
- Unscrew the nozzles using a 7mm socket wrench are replace them with those for the new type of gas(see table 1 burner and nozzle specification). Reassemble the parts following the instructions in reverse order.
- On completing the operation, replace the old rating
label with the one showing the new type of gas; the sticker is available from our Service Center.
If the gas pressure is diITerent than the prescribed, a pressure regulator must be installed at the source, in compliance with national standards governing the use of piped gas regulators. Minimum regulation
urn the gas valve to minimum
Remove the knob and turn the regulator screw clockwise until the flame becomes small but regular.
N.B.:ln the case of liquid gas the regulation screw must be fully screwed in clockwise.

Burner and Nozzle Specifications: Talbe 1

- Make sure that, when the knob is turned rapidly high to low, the !lame does not go out.
- In the event of a malfunction on appliances with the security device thermocouple when the gas supply levels using the regulator screw.
- Once the adjustment has been made, apply sealing wax, or a suitable substitute, to the old seals on the bypass.
- Alternate the nozzle of burner with duo control
- Remove the pan supports and slide the
- burners out of the cooktop. The burner has two independent parts ( see the pie E and pie F) .
- Unscrew the nozzles using 7 mm socket wrench and replace them with those for the type of gas refer to the table 1 ( the intraround burner has a nozzle and the extra-round burner has two nozzle, all of them arc same size.



















