ELBA EGH-K8843G BK Built-In Hob Gas Stove Owner's Manual

For Your Safety
These instructions have been drawn up for your safety and that of others. You are therefore requested to read them carefully before installing and using the appliance. Keep this instruction manual for future reference as necessary. If the appliance is sold or moved, make sure that the manual is handed over to the new user.
INSTALLATION
Installation of the appliance and its connection to the gas supplies must only be carried out by qualified technician. It is important to check that the appliance is connected completely to the gas supplies before using.
- It is risky to modify or attempt to modify the characteristics of this product
- After removing the appliance from the packaging, make sure that it is not damaged and in perfect condition. Otherwise, please contact your dealer before installing the appliance into operation.
- The manufacturer declines all responsibility in case of failure to comply with the accident prevention regulations.
- Make sure that air is able to circulate freely around the appliance. Installing the appliance into the built-in cabinet must provide sufficient moving air flow at the bottom of the appliance to avoid hazard.
- Prior to installation, ensure that the local distribution conditions (nature of the gas and gas pressure) and the adjustment of the appliance are compatible.
- Use of a gas cooking appliance produces heat and moisture in the room in which it is installed. Ensure that the room is well ventilated by keeping the air intakes open or by installing an extractor hood with discharge pipe.
- If the appliance is used intensively for a long time the effectiveness of the ventilation will have to be increased, for example by opening a window or increasing the power of any electric extractor fan.
- Make sure the cabinet or the bottom of the hob is well ventilated and not in a complete closed compartment.
- After installation, please ensure no gas leakage is detected before using the appliance.
CHILDREN’S SAFETY
– This appliance must only be used by adults. Make sure that children do not touch the controls or play with the appliance.
– The exposed parts of this appliance heat up during cooking and remain hot for some time even after it is switched off. Keep children well away until the appliance has cooled down.
CLEANING AND MAINTENANCE
– Keep the appliance thoroughly cleaned. Food residues may cause the risk of fire.
SERVICE AND PARTS
– In the instance of malfunctions, never attempt to repair the appliance yourself.
– Repairs by unauthorized technician may cause damage and accidents. Please refer to the contents of this manual. If you do not find the necessary information, contact the authorized service center.
– Servicing work on this appliance must be carried out by an authorized technical service centre. Always request the use of original spare parts.
– Use only original parts that match with the appliance, do not modify or add parts or accessory to use with the appliance.
– This appliance is designed suitable for LPG gas source only. Should you required to change to other gas sources, please contact our service centre for purchasing of parts to conversion.
– Caution: Use only low pressure regulator for this appliance.

DESCRIPTION OF THE HOB

- Control Knobs
- Triple Ring Burners
- Pan Support
- Ignition Point
INSTRUCTIONS FOR USE
The symbols on the control knobs corresponding to the following:

OPERATING INSTRUCTIONS
Before using the appliance, make sure the ignition knob is in the “OFF” position and turn on the main cock. After using, ensure to turn off the ignition knob and main cock.
TURN ON THE APPLIANCE

Press and turn the ignition knob counter clockwise for 3 to 5 seconds to higher flame position slowly. Make sure that the burner has lit.

When you start to use the unit for the first time or the unit has not been used for a long period of time, it sometimes happens that the burner is not ignited easily. This is because the gas needs to fill up the rubber hose before reaching to the burners. After lighting the flame, keep the knob pressed for about 10 seconds. This is necessary to heat up the thermocouple and activate the safety valve (if any), which would otherwise cut off the gas flow.
CONTROLLING THE FLAME

Control the knob between max and min to regulate the flame. Turn the knob counter clockwise to the minimum position to set the lowest cooking output level.
Remarks: When the flame is reduced suddenly it may happen to turn off the burner. Always make sure the burner is ignited when the power is in minimum level.

Turn the ignition knob clockwise up to the OFF position without pressing it. The gas will stop supply to the burner and the burner will be switched off.
Remarks: Always make sure the ignition knob is at OFF position when not in use.
ATTENTION: If the flame does not light after a few attempts, check that the burner cap and burner base are correctly positioned.

CAUTION: Always ensure the burner cap is placed in its original position correctly as shown to avoid any incident and damage its original shape. The manufacture denies all claim arise from the burner due to improper placement of the burner ring.
DURING USE
This product is designed to cook food for household and for non-professional purposes. It should not be used for any other purpose.
– After using the appliance, make sure that all controls are in “OFF” position.
– If you use an electrical socket close to this appliance, make sure that the cables of the appliances you are using are distance away from the cooking zones of this appliance.
RISK OF DEFLAGRATION
In the event of the burner flames being accidently extinguished, turn off the burner control knob and open a window or the door to the room. Do not attempt to re-ignite the burner for at least 1 minute.
The use of a gas cooking appliance results in the production of heat, moisture and products of combustion in the room in which it is installed. Ensure that the kitchen is well ventilated especially when the appliance is in use: keep natural ventilation holes open or install a mechanical ventilation device (mechanical extractor hood) Prolonged intensive use of the appliance may call for additional ventilation, for example opening of a window, or more effective ventilation, for example increasing the level of mechanical ventilation where present.
REPLACE A BATTERY (1.5V SIZE D)

In the instance of a power cut, replace a new battery 1.5V x 1 Size D at the bottom of the appliance.
ADJUSTMENT ON AIR SHUTTER


Should the flame be of a yellow flame, burning black smoke, floating flame or deposit black soot beneath the cooking utensils, this would indicate mis adjustment of the air shutter. In order to obtain the best flame output, adjust the air shutter under the appliance by turning the air shutter up and down direction until the blue colour flames are obtained.
EXAMPLE:

Perfect amount of air
The flame is transparent blue and the difference between the inner flame and the outer can be clearly seen.

Insufficient air
The flame turn red and burns like a handle and unstable.

Too much air
The flame is short and flutters.
FOR CORRECT USE OF THE HOB
For lower gas consumption and better efficiency, use only flat-bottomed pans of dimensions suitable for the burners, as shown in the table at the bottom. Also, as soon as a liquid comes to the boil take care to turn the flame down to a level that will just keep it boiling.
Burner
Large (Rapid)
Small (Auxiliary)
Minimum pan diameter
180mm
80mm
Maximum pan diameter
220mm
160mm
During cooking processes involving fats or oils, watch your foods carefully because these substances may catch fire if brought to high temperatures.
CAUTION WHEN USING
- Only use the appliance for cooking purpose only.
- Do not hang up clothes, towel and etc to dry on the unit.
- Do not use oversized hot plate which totally covers the burner surface.
- If the flame is flickering or yellow colour, do not attempt to operate the appliance (Please refer to adjustment on air shutter).
- Make sure the air shutter is well adjusted and the flame is properly burning.
- Do not use a large iron plate to cover burners.

- In case of abnormality, including strange sound, abnormal combustion when the burners are lit, turn off the burners and the main cock immediately and contact the authorized service technician.
- When the appliance will not be used for a long period of time, make sure the cock is turn off.
Warning: The use of inappropriate hob guards can cause accidents.
CLEANING AND MAINTENANCE
Before carrying out cleaning or maintenance, disconnect the appliance from the electrical mains and gas supplies then allow it to cool down.
GENERAL CLEANING
Wash cast iron with lukewarm water and detergent. Do not use abrasive cleaner which might damage them.
Wash the burner caps often with boiling water and detergent, taking care to remove all deposits after cooking.
The trivet can also be washed in a dishwasher.
For stubborn dirt, clean using non-abrasive detergents with lukewarm water. Do not use scouring pads, steel brush or acids for cleaning.
Clean the hob regularly with a soft cloth with lukewarm water and a little liquid detergent. Do not use the following products:
– bleaches;
– soaped scouring pads;
– steel brush scouring pads;
– stain removers for baths or sinks. If the hob gets very dirty, use specific commercial cleansing products.
IGNITION PLUG

Automatic burner ignition is provided (when installed) by a ceramic plug and a metal electrode. Periodically clean these parts of the hob thoroughly. In addition, to avoid ignition difficulties, check that the cavities in the burner are not obstructed. To remove deposits from the burner cavities, remove the cap and separate the two parts (see diagram on the right). After cleaning, put the two parts back together and return them correctly to their position. After washing, replace the trivet, checking that they are correctly positioned.
ADDITIONAL INFO (SAFETY CLAUSES)
Consistently clearing the blocked ring hole to prevent backfire. During cooking, prevent the gravy from over flooding the gravy tray.

The ring hole is blocked by gravy due to over flooding. It will result to happen:
- Back fire may cause breakage of glass.
- Flame extinguishes/cannot sustain.
To clean the inner ring cap which blocked with gravy or soot, please wash the cap with water to clean up the gravy covered on the surface (Do not wash when the cap is hot after using).
Then use a fine needle, pin or wire, (size approve. 1mm) to clean the hole that still blocked with gravy or soot. Fit the cap back to original position when it is completely dry.
INSTRUCTIONS FOR THE INSTALLATION TECHNICIAN
CAUTION: This appliance must only be installed and used in rooms with permanent ventilation to local standards.
Installation of the appliance and its connection to the gas supplies must only be carried out by qualified technician. Before any procedure, it is important to check that the appliance is DISCONNECTED from the gas supplies. The Manufacturer declines all responsibility for any damage arising from installation in breach of the regulations in force or from failure to comply with the accident prevention regulations.
INSTALLATION PREMISES
For proper operation of a gas appliance, the air necessary for the combustion of the gas must be able to flow into the room naturally. The air must flow into the room directly through openings in the outside walls. These openings must have an unobstructed cross-section not less than 2m3/h for each kw of power (see total power in kw on the appliance rating label).
This opening must be constructed so that it will not be obstructed from inside or outside, or constructed close to the floor. The opening is recommended to be on the side opposite to that on which the flue gases are discharged. If it is not feasible to provide these openings in the room where the appliance is installed, the necessary air may be taken from an adjacent room, provided that:
– This room is not a bedroom or a hazardous environment;
– Install the built-in hob in a well-ventilated room and keep it away from any combustible or flammable objects such as paper or oil.
– Place the built-in hob on a stable and levelled surface.
– If the built-in hob is to be installed close to combustible objects (such as wooden walls, wooden shelves), it should be installed at least 150mm from the side walls. Even if the combustible material is protected by stainless steel sheet, a clearance of 150mm is required for safety purpose. The clearance between the appliance and above combustible shelves or the cooker hood must be at least 650mm.


– If the separator is placed underneath the hob, the recommended distance from the surface of the kitchen worktop should be more than 150mm. Please refer to diagram below.

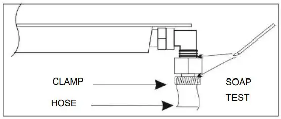
– Connect the gas hose with clamp to tighten.

Upon complete of gas installation connections, it is compulsory to check for the gas leakage at the joint with soap test.
– Turn the burner knob in OFF position and turn on gas supply regulator.
– Apply soap test to joint on connector and hose as below.

– Formation of bubbles indicates leakage and must be tightened the hose clamp and check on all joint parts to ensure there is no faulty.
– Repeat the soap test until everything is fine.
– If there is a bubble after the soap test, please authorized service technician.
Never use a flame to make this check.
Discharge of flue gases
Gas cooking appliances must discharge their flue gases through hoods connected directly to flues or the outdoors. If it is not possible to install the hood an electric fan must be installed on the outside wall or the window of the room, provided it is possible for the ventilation opening to be increased in proportion to the delivery rate of the fan.
For a kitchen, the delivery rate of this electric fan must guarantee an hourly air exchange of 3-5 times its volume. In both instances, the use of flues already used by other appliances to discharge the flue gases is forbidden.
TROUBLESHOOTING

If the above problem persists, turn off the appliance immediately. Contact the authorized service technician for repair.
MAIN SPECIFICATION

![]()


















