ELBA EGS-M6992(SS) GAS STOVE

Please read this manual carefully be fore operating your set.
Retain it for future reference.
Record model number and serial nu mber of the set.
See the label attached on the set and quote this information to your dealer w hen you require service.
For The Warranty Terms & Conditions, Please Refer To Warranty Certificate
Please read this instruction carefully. It is advisable to keep this instruction manual in a safe place for future reference.
SAFETY PRECAUTIONS
- Keep the appliances out of reach from children. Do not let them to operate the appliances without supervision.
- This product is for household and indoor use only.
- This product is not intended for use by person (including children) with reduced physical, sensory or mental capabilities unless they have been given supervision or instruction concerning use of the appliances by a person responsible for their safety.
- If the gas hose, hose clamp and regulator are damaged, it must be replaced by the service centre or a qualified service technician to avoid hazard.
- There must be adequate air ventilation of the room when the product is used.
- This appliances must be stationed at least 15cm away from other objects. There should be 100cm space between it and anything on the top. This appliances should be at least 50cm away from gas cylinder.

- There is a risk of fire if cleaning is not carried out in accordance with this instruction.
- Do not touch the gas stove surface during or after cooking with bare hand.
- Before maintenance or cleaning, switch off the main gas valve and disconnect the gas stove from the gas cylinder. Please make sure there is no gas leakage before maintenance or cleaning.
- Do not store or place flammable liquids or items in the vicinity of this gas stove.
- Always switch off the gas when not in use, before assembling or disassembling parts.
- Caution: Use only low pressure regulator for this appliance.

DESCRIPTION OF THE GAS STOVE
- Trivet
- Burner
- Ignition Knob

INSTALLATION FOR USE
- Check the gas stove to ensure all parts are complete.
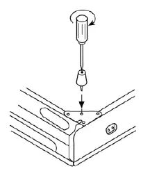
- Using a screwdriver affix the rubber legs with screw provided into the designated hole on the bottom of the gas stove.

- Connect the gas hose (not included) onto the inlet pipe.
- Using a screwdriver, secure the gas hose and inlet pipe by tighten the hose clamp.

- Place the trivet on top of the burner.
- Open the main gas valve on the gas cylinder. If there is gas leakage detected, close the main gas valve immediately and open the windows to allow the gas to escape from the room.

INSTRUCTIONS FOR USE
- The left ignition knob is control on the outer flame and the right ignition knob is control on the inner flame. The inner and outer burner can operate separately by turn on the related ignition.
- Open the main gas valve and turn the ignition knob anti clockwise direction until the ignition click sound appear and flame is lighted.
- If the flame fails to ignite, turn the ignition knob back to “OFF” position and repeat the procedure as point 1.
- In order to obtain the best flame output, adjust the damper under the gas stove either clockwise or anti clockwise direction until the blue color flames are obtained.
Perfect amount of air
The flame is transparent blue and the difference between the inner flame and the outer can be clearly seen.
The flame turn red and burns like a handle and unstable.
Too much air
The flame is short and flutters.
Turn the ignition knob back to “OFF” position to turn off the gas stove.
CLEANING AND MAINTENANCE
Clean the appliance with a damp cloth with mild cleaner. Do not use chemical, steel, wooden or abrasive cleaners to clean the appliance. Wash the trivet in water. Use a brush for cleaning the burner.
TROUBLESHOOTING
| Failure | Failure Reason | Possible Solution | |
|
Burner does not light | Gas source was not switched on | Turn on the gas source switch | |
| The gas pipe is leaking | Change a new pipe | ||
| Gas depleted | Replace the gas cylinder | ||
| Air in the gas pipe | Turn repeatedly to expel air | ||
| Mispositioning of the ignition needle | Adjust the discharge distance to 3-4mm | ||
|
Gas Leakage | Pipe aging and torn off | Change a new gas pipe | |
| Main fire cannot be lighten up | Try again after the gas dispersed | ||
| The gas valve not airproof | Change the valve | ||
|
Exceptional Flame | Anomalous Flame | Gas burner not positioned correctly | Make sure the burner is positioned correctly |
| Short Flame | Not enough gas pressure | Inspect the gas cylinder and the regulator | |
| Long and yellow flame | Too small intake | Adjust the air intake | |
| Asymmetrical Flame | The hole of the burner is jammed | Clean the burner | |
MAIN SPECIFICATION

ELBA EGS-M6992(SS) GAS STOVE




















